Логика машин
Мы привыкли употреблять понятие «логика», говоря о рассуждениях или действиях человека, но вот что интересно: оказывается, логические способности возможны и у электронных приборов. Странное на первый взгляд утверждение объясняется достаточно просто. Дело в том, что работа многих устройств основана на принципах, схожих с принципами построения логических рассуждений человека. Более того, существует целый класс элементов, выполняющих различные логические операции. Они используются в электронно-вычислительных машинах, микрокалькуляторах, автоматических системах управления, цифровых измерительных устройствах.В чем же особенность этих элементов и каким образом они выполняют функции, казалось бы, совсем не свойственные электронным приборам! Чтобы понять это, необходимо сначала разобраться в правилах логических построений, которые описываются математическими законами так называемой булевой алгебры. Она оперирует двумя величинами: 0 и 1, поэтому любая функция в булевой алгебре может принимать только одно из этих значений. Если перевести сказанное выше на язык привычных нам понятий, то булеву функцию можно сравнить с электрической цепью, в которой установлен выключатель. Когда он разомкнут, ток в цепи отсутствует («нулевое» состояние), но стоит такой выключатель замкнуть — в цепи возникает электрический ток («единичное» состояние).
Рассмотрим, как действует булева функция на примере трех простых логических операций: отрицания (ее также называют инверсией и обозначают символом НЕ), умножения (конъюнкция, символ И) и конъюнкция с последующей инверсией (И=НЕ).
Операция отрицания в алгебре логики выполняется над одной переменной. Разберемся, в чем заключается инверсия, например, для простой функции y=f|x|. Если х=0, то у принимает значение 1, если х=1, то у=0. Обозначают отрицание чертой над переменной, с которой производится операция: у=х. Такая запись читается «игрек равен не икс». Примером логического отрицания может служить высказывание «диод — это не транзистор».
Операция логического умножения (например, для двух переменных) записывается следующим образом: у=х, • х2. Ее законы схожи с законами умножения в линейной алгебре, которую все мы изучали в школе: 0- 0=0, 0- 1 = 1- 0=0, 1 • 1 = 1, то есть нулевое значение хотя бы одного из сомножителей обеспечивает нулевой результат операции. Это правило распространяется и на операции с большим числом переменных. Попробуем пе-
ренести его на бытовую ситуацию. Представьте, что вам для какой-то самоделки понадобилось два транзистора, а у вас есть только один или нет ни одного. Понятно, собрать ее не удастся (нулевой результат). Если же нашлись оба транзистора, самоделка будет собрана (единичный результат).
Конъюнкцию для двух таких переменных с последующей инверсией результата можно записать в виде y=x1- x2. Разобраться в этой логической операции лучше всего на предыдущем примере с двумя транзисторами. Оказывается, найти необходимые транзисторы — еще недостаточно для того, чтобы самоделка заработала. Полупроводниковые приборы должны быть исправными — только тогда успех гарантирован (единичный результат). В противном случае все ваши усилия по их поиску окажутся напрасными — самоделка работать не будет (нулевой резуль-тат).
А теперь попробуйте самостоятельно придумать какие-нибудь бытовые ситуации, в которых выполнялись бы правила булевой логики.
Рассказывая о простых логических операциях, мы умышленно приводили аналогии электроники. Дело в том, что логические элементы, с упоминания о которых начался наш разговор, как раз и выполняют подобные операции.
Большинство из них оперируют потенциальными сигналами. Это означает, что сигналы на входе и выходе логического элемента представляются высоким или низким уровнем напряжения. Этим двум состояниям соответствуют логические значения 0 или 1 (рис. 1).
Все логические элементы изображаются на принципиальных схемах в виде прямоугольника. На рисунке 2а показано графическое изображение элемента НЕ. Его условными символами служат цифра 1, расположенная внутри прямоугольника в левом верхнем углу, и кружок, с которого начинается линия выхода.
Как видно из рисунка, такой элемент имеет один вход (обозначен символом х) и один выход (символ у). Рядом представлена таблица истинности (рис. 26). Она показывает, каким будет сигнал на выходе элемента при определенной комбинации логических сигналов на входе. Глядя на таблицу истинности, можно убедиться, что логика действия элемента НЕ основана на законе отрицания булевой алгебры. Действительно, когда на входе элемента напряжение низкого логического уровня, на выходе, наоборот, оно высокого уровня. Если же на вход подать сигнал, соответствующий логической 1, элемент переключится в противоположное состояние.

Рис. 1. Кодирование логического сигнала.
Рис. 2. Логический элемент НЕ: а — условное графическое обозначение, б — таблица истинности.
Рис. 3. Логический элемент И: а — условное графическое обозначение, б — таблица истинности.
Рис. 4. Логический элемент 2И-НЕ: а — условное графическое обозначение, б — таблица истинности.
На рисунке 3 вы видите графическое изображение логического элемента 2И и таблицу истинности для него. Символ элемента И — знак &, стоящий в левом верхнем углу прямоугольника. Он заимствован из английского языка и обозначает союз и — логическое умножение. Цифра 2, стоящая перед символом И в названии элемента, означает, что он имеет два входа (х1 и х2).
Графическое изображение логического элемента 2И-НЕ и таблица истинности для него представлены на рисунке 4. От элемента 2И здесь позаимствован знак &, а от элемента НЕ — кружок в начале линии выхода. Это означает, что сначала происходит операция логического умножения двух сигналов по входам, а затем уже инверсия полученного результата.
Среди перечисленных логических устройств наиболее широко распространены элементы И-НЕ, поэтому расскажем о них подробнее. В электронике такие элементы используются очень широко. Например, даже в самой простой вычислительной машине их тысячи. Чтобы ЭВМ имела малые габариты и вес, логические устройства изготавливают в виде интегральных микросхем (ИМС), причем в корпусе одной микросхемы чаще всего располагаются сразу несколько элементов.
Изготовляются логические ИМС так же, как и операционные усилители (см. «М-К», 1988 г., № 11, «Полна «горница»...»).
Логические микросхемы называют еще цифровыми, так как они оперируют с двумя переменными, которые записываются в виде цифр 0 и 1. На принципиальных схемах такие ИМС обозначаются буквенным символом DD, после которого ставится порядковый номер прибора в схеме.
Какие параметры характеризуют логическую микросхему, состоящую из элементов И-НЕ! Для нас важно знать восемь основных: напряжение питание и„; мощность Р„от; потребляемая ИМС от источника питания; пороговое напряжение переключения логического элемента из одного состояния в другое и„оР; выходное напряжение логических нуля 11°1ы. и единицы и'вых; время включения tB«n и время выключения Ьыкл элемента и, наконец, коэффициент разветвления по выходу Кра„ показывающий, какое количество микросхем можно подключить к выходу данного элемента.
Практическое знакомство с логическими микросхемами начнем на примере ИМС К155ЛАЗ. Она помещена в прямоугольный пластмассовый корпус с 14 выводами. Сверху у него имеется небольшое круглое углубление — так называемый ключ, помогающий определить порядок расположения выводов. Тот из них, рядом с которым находится ключ, имеет первый номер. Далее, если смотреть на микросхему сверху, номера выводов расположены последовательно против движения часовой стрелки.

Рис. 5. Принципиальная схема ИМС К155ЛАЗ.
Рис. 6. Принципиальная схема логического элемента 2И-НЕ.
Рис. 7. Внешний вид частотомера.
Размеры и количество выводов прежде всего и определяют габариты ИМС — сам кристалл настолько мал, что миниатюрный корпус по сравнению с ним кажется настоящим «великаном», а тончайшие проводки, соединяющие кристалл с выводами, можно разглядеть только через увеличительное стекло.
На рисунке 5а показана принципиальная схема ИМС К155ЛАЗ. В ее состав входят четыре «кирпичика» 2И-НЕ, каждый из которых выполняет операцию логического умножения сигналов по двум входам с последующей инверсией результата на выходе.
Все элементы питаются от общего источника постоянного тока, подключаемого к выводам 7 и 14. В то же время каждый отдельный «кирпичик» может работать как самостоятельный прибор, поэтому на принципиальных схемах их часто располагают отдельно друг от друга, а выводы 7 и 14 не изображают. Отдельные элементы, кроме кодового обозначения ИМС, в состав которой они входят, имеют дополнительную цифру, указывающую порядковый номер данного элемента на схеме (рис. 56).
Попробуем заглянуть внутрь одного из этих элементов (рис. 6). Оказывается, в его основе лежат уже знакомые нам дискретные радиокомпоненты — транзисторы, диоды, резисторы.
«Кирпичики» микросхемы К155ЛАЗ строятся на основе так называемой транзисторно-транзисторной логики (ТТЛ). Что это означает! Как видно из рисунка 6, между транзисторами существует непосредственная связь. При этом VT1 выполняет логическое умножение, VT2 — усиление, a VT3 и VT4 — усиление и инверсию, то есть все преобразования входной информации осуществляются транзисторами. Резисторы R1 — R4 задают необходимый режим работы транзисторов, а диоды VD1 — VD3 защищают цепи от напряжения обратной полярности.
Как же работает такой логический элемент! Вероятно, вы уже обратили внимание, что входной транзистор VT1, включенный по схеме с общей базой, имеет два эмиттера. Когда на один или на оба входа элемента подано напряжение низкого логического уровня, VT1 открыт. Транзистор VT2, образующий усилительный каскад с двумя нагрузками — коллекторной (резистор R2) и эмиттерной (резистор R3), в это время закрыт. На VT4 поступает напряжение низкого логического уровня, закрывающее этот транзистор. В то же время напряжение на базе VT3, наоборот, соответствует уровню логической 1, и транзистор VT3 открыт. В результате на выходе элемента оказывается напряжение высокого логического уровня, и через нагрузку проходит ток. А что будет, если на оба входа элемента подать сигнал, соответствующий уровню логической единицы! Транзистор VT1 закроется, a VT2 откроется. При этом VT3 и VT4 переключатся в противоположные состояния, на выходе элемента установится логический О и ток через нагрузку не потечет.
После того, как мы разобрались в устройстве и принципе действия ИМС К155ЛАЗ, осталось лишь познакомиться с ее техническими характеристиками. Начнем с напряжения питания — его номинальная величина составляет 5 В. Мощность, потребляемая микросхемой от источников питания,— 78 мВт. Напряжение низкого логического уровня на выходе каждого элемента — не более 0,4 В, высокого — не менее 2,4 В. Пороговое напряжение переключения элемента из «единичного» состояния в «нулевое» составляет 1,2 В. Время включения— 15 не, выключения— 22 не. Коэффициент разветвления по выходу— 10.
Теперь перейдем к практическому применению цифровой микросхемы К155ЛАЗ. Предлагаем вам собрать простой электронный частотомер. Эта самоделка поможет вам настроить радиоприемник, усилитель, звуковой генератор, электромузыкальный инструмент, переключатель елочных гирлянд, реле времени.
В чем преимущества нашего частотомера по сравнению с уже известными приборами! Во-первых, он собирается по простой схеме, во-вторых, наш прибор малогабаритный — все его детали помещаются в обычной мыльнице, и, наконец, он удобен в налаживании — для каждого поддиапазона измеряемых частот предусмотрена самостоятельная настройка.
Частотомер имеет следующие характеристики. Напряжение питания — 9 В, потребляемый ток — не более 30 мА, чувствительность по входу — 1,5 В. Диапазон измеряемых частот имеет два предела измерения: 200...2000 Гц и 2000...20000 Гц, погрешность измерения не более +20 Гц. Входной сигнал может быть импульсным или синусоидальной формы.

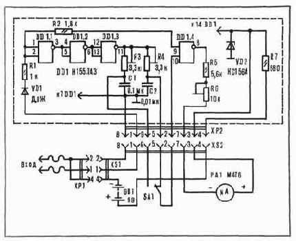
Рис. 8. Принципиальная схема частотомера.
У частотомера отсутствует специальный тумблер, включающий прибор. Питание подается на него при подсоединении вилки ХР1 (рис. 8) к розетке XS1, которая, кроме того, служит для связи измерительных щупов со входной цепью частотомера. Резистор R7 и стабилитрон VD2 преобразуют постоянное напряжение 9 В в 5 В, необходимое для питания микросхемы DD1. В исходном состоянии, когда на входе DD1.1 нет сигнала, на выходах элементов DD1.1 и DD1.3 устанавливается напряжение логической единицы, а на выходе DD1.2 — логического нуля.
При этом на вход (вывод 9) элемента DD1.4 поступает логический 0, а на другой вход (вывод 10) — логическая 1. Какой величины будет напряжение на выходе DD1.4! Если вы обратитесь к таблице истинности для элемента 2И-НЕ, то ответите сразу: высокого логического уровня. В это время через микроамперметр РА1, по показаниям которого определяют измеряемую частоту, проходит незначительный ток, почти не вызывающий отклонения стрелки.

Рис. 9. Монтажная плата прибора со схемой расположения элементов.
Теперь подадим на вход прибора сигнал, частоту которого мы хотим измерить. Что произойдет в этом случае Диод VD1 станет пропускать только положительную составляющую входного сигнала. Пока напряжение положительной полуволны меньше порогового напряжения переключения элемента DD1.1, на выходах всех элементов будет сохраняться информация, соответствующая исходному состоянию. В это время заряжается конденсатор С2 (тумблер SA1 включен так, как показано на принципиальной схеме). В тот момент, когда напряжение на входе частотомера превысит пороговое значение, элементы DD1.1—DD1.3 переключатся в противоположные состояния. Теперь напряжение высокого логического уровня будет на обоих входах элемента DD1.4, в результате чего произойдет его переключение и на выходе появится логический 0. Одновременно через элемент OD1.3 начнет разряжаться конденсатор С2. Когда напряжение на нем станет ниже порогового, элемент DD1.4 вновь вернется в первоначальное состояние. После того как амплитуда положительной полуволны входного сигнала станет меньше 1,5 В, элементы DD1.1 — DD1.3, в свою очередь, тоже переключатся в исходное состояние. Далее описанный выше процесс будет повторяться до тех пор, пока на входе частотомера есть сигнал. При этом на микроамперметр РА1 поступают короткие импульсы отрицательной полярности, вызывая отклонение стрелки, пропорциональное частоте входного сигнала.
То же самое будет происходить, если тумблер SA1 переключить на второй поддиапазон. Разница только в величинах емкостей конденсаторов С1 и С2, подключаемых к выводу 10 DD1.4.
Если задействован конденсатор С1 — прибор измеряет частоту от 200 до 2000 Гц, а если С2 — от 2000 до 20000 Гц.
Познакомившись с принципом действия прибора, можно приступать к его сборке. Монтажная плата частотомера показана на рисунке 9. Она выполнена из фольгиро-ванного гетинакса или текстолита толщиной 1 — 2 мм, размером 50X28 мм. Между выводами 10 микросхемы и 2 вилки ХР2 устанавливают проволочную перемычку.
В приборе можно применить следующие детали. Вместо микросхемы К155ЛАЗ подойдет аналогичная ей К133ЛАЗ. Схема подключения выводов у обеих ИМС одинакова, однако К133ЛАЗ имеет меньшие габариты, поэтому конструкцию платы придется немного изменить. Диод VD1 — Д2, Д9, Д18 с любым буквенным индексом, стабилитрон VD2 — KC1S6A или КС147А. Постоянные резисторы — ВС или ОМЛТ мощностью 0,125 Вт, подстроенные — типа СПЗ-1. Конденсаторы — марки КМ5, КМ6, К73 или другие малогабаритные. Розетка и вилка — РШ2Н, 2РМ, ШР или другого типа с числом контактных пар 3 или 4. Если у вас не нашлось розетки и вилки МРН8-1, можно обойтись и без них, подпаяв проводники непосредственно к плате. Вместо микроамперметра М476 подойдет любой другой от кассетного или катушечного магнитофона. Тумблер — типа МТ или МТД. Батарея питания — «Корунд» или шесть элементов по 1,5 В. Щупы — от промышленного измерительного прибора.
Корпусом частотомера служит пластмассовая мыльница. На верхней панели крепятся микроамперметр, тумблер и розетка. Батарея питания, розетка разъема и плата установлены на дне корпуса.
Закончив сборку, необходимо проверить работоспособность частотомера. Для этого вам понадобится звуковой генератор. Движки подстроенных резисторов R3, R4 и R6 установите в среднее положение, тумблер переключите на любой из поддиапазонов. Щупы соедините с выходом генератора, установив предварительно его рабочую частоту в пределах 2— 10 Гц. Вставьте вилку ХР1 в розетку XS1. Если при этом стрелка микроамперметра быстро отклоняется на некоторый угол, а затем возвращается в исходное положение, частотомер исправен.
Теперь нужно отградуировать шкалу микроамперметра. Для этого тумблером SA1 переключите прибор на измерение в более высокочастотном диапазоне. Установите выходную частоту генератора 20000 Гц; вращая движок подстроечного резистора R4, добейтесь максимального отклонения стрелки микроамперметра. Затем установите частоту генератора равной 2000 Гц и, вращая движок резистора R4, добейтесь минимального отклонения стрелки микроамперметра. Настройку повторите несколько раз. Необходимо подобрать оптимальное положение ротора подстроечного резистора R4, при котором в данном поддиапазоне на нижней границе измерения стрелка прибора отклонялась бы на минимальный угол, а на верхней границе — на максимальный. Дополнительную подстройку выполняют резистором R6.
Таким же образом настраивают прибор и на втором поддиапазоне. Только граничные частоты в этом случае будут другими. Регулировку производят подстроечным резистором R3.
На шкале микроамперметра сделайте метки напротив крайних положений стрелки в обоих поддиапазонах. Меняя частоту генератора, нанесите метки промежуточных частот. Желательно, чтобы их шаг был как можно меньше — тогда и результат измерения будет более точным.
Если вам не удалось настроить прибор в названных диапазонах, точнее подберите емкости конденсаторов. Можно также попробовать уменьшить или увеличить сопротивление резистора RS.
В. ЯНЦЕВ
Моделист-конструктор в № 11 за 1989 г.
OCR Pirat
Нейросети: Нейролингвистика - Логика
- Нейросети
- Теория нейросетей
- Справочник по нейросетям
- Софт для нейросети
- ANSYS - нейросеть
- Обучение нейросети
- Классификация нейросетей
- Искуственный интелект и нейросети
- Финансы и нейросети
- Железо нейросети
- Построение нейросети
- Инструменты нейросети
- Применение нейросетей
- Нейросетевой анализ
- Нейролингвистика
- Нейролингвистика на практике
- Нейролингвистическое программирование
- Логика
- Нечеткая логика