Почему появились искажения
БЕСТРАНСФОРМАТОРНЫЕ УСИЛИТЕЛИ
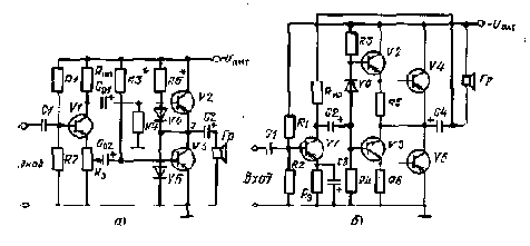
В настоящее время наиболее широкое распространение получили бестрансформаторные УЗЧ. Большое преимущество этих усилителей в отсутствие выходного и межкаскадного трансформаторов (особенно для переносных и малогабаритных конструкций). Качественные показатели таких усилителей высокие, так как в них нет «трансформаторных» искажений. Хотя вариантов бестравсформаторных УЗЧ много, их построение сводится к двум типам: с фазоинверсным каскадом предварительного усиления и с дополнительной симметрией. Транзистор VI (рис. П,а) обеспечивает получение сигналов разной полярности (рис. 18,а,б), которые через разделительные конденсаторы Ср1 и Cpj. поступают на базы транзисторов выходного каскада, включенных последовательно. Динамическая головка Гр подключена к точке соединения транзисторов через конденсатор большой емкости С2. Базовые токи выходных транзисторов, устанавливают подбором резисторов R3 и R5 так, чтобы напряжение на коллекторах транзисторов равнялось UНит/2. Поэтому при отсутствии входного сигнала конденсатора С2 заряжен до этого напряжения (рис. 18,е). При появлении на базе транзистора VI положительного полупериода усиливаемого сигнала ток. транзистора V2 увеличивается (так как в этот момент на коллекторе транзистора VI и базе транзистора V2 отрицательный полупериод усиливаемого сигнала) ; следовательно, отрицательное напряжение на конденсаторе С2 увеличивается до значения Unит/2+UKmv2. Транзистор V3 заперт положительны» полупериодом сигнала на его базе. Во время следующего полупериода усиливаемого сигнала, наоборот, отпирается транзистор V3 и запирается V2. Напряжение на головке громкоговорителя имеет форму, показанную на рис. 18,г.Налаживание такого бестрансформаторного двухтактного выходного каскада нанимают с установки режима по постоянному току. В коллекторную цепь транзистора V2 включают миллиамперметр, а параллельно выводам коллектор — эмиттер транзистора V3 вольтметр. Подбором сопротивления резистора R3 ток покоя в коллекторной цепи устанавливают равным 1 — 2 мА, если транзисторы маломощные, и 20 — 30 мА, если транзисторы мощные.
Вольтметр должен показать напряжение, равное UПИT/2. Если напряжение больше или меньше, его устанавливают подбором резистора R5.

Рис. 17. Бестрансформаторные УЗЧ: а — с фазоинверсным каскадом; б — с дополнительной симметрией

Рис. 18. Форма сигналов в бестрансформаторном УЗЧ
После этого параллельно звуковой катушке головки подключают осциллограф, на вход усилителя подают синусоидальный сигнал и проверяют симметричность выходного напряжения (рис. 18,г). Добиться симметричности, а значит, и необходимой амплитуды сигнала на базе транзистора V3 можно подбором резистора R3. Лучше всего это делать по минимуму показаний измерителя коэффициента гармоник, подключенного к динамической головке. Следует также проверить уровень нелинейных искажений при малом и большом входных сигналах. При малом уровне сигнала искажения вызываются нелинейностью входных характеристик транзисторов V2 и V3. Если искажения значительны, то надо увеличить ток указанных транзисторов подбором резистора R3. Если же искажения возникают при большом уровне входного сигнала (но до появления ограничения из-за насыщения транзисторов), то следует подобрать транзисторы V2 и V3 с одинаковыми параметрами.
Проверяют также уровень нелинейных искажений и при изменении температуры окружающей среды. Термокомпенсацию режима транзисторов V2 и V3 обеспечивают диоды V4 и V5, и чем меньше их обратное сопротивление, тем эффективнее термокомпенсация. Снимают также частотную характеристику выходного каскада. Завал на низших частотах происходит обычно из-за недостаточной емкости разделительных конденсаторов Cp1 и Ср2 или емкости конденсатора С2.
Максимальная выходная мощность достигается, если каскад на транзисторе V1 обеспечивает выходному каскаду (ом. рис. 17,а) напряжение амплитудой 0,4UПит. Если это не удается, нагрузку подключают к правой обкладке конденсатора С2, и к минусовой шине питания (как в усилителе на рис. 17,6), тогда за счет перезарядки конденсатора С2 в процессе работы на фазоинверсный каскад будет подано напряжение 1,5UПит, а форма напряжения на звуковой катушке головки будет иметь вид, показанный на рис. 18,6.
Бестрансформаторный выходной каскад с дополнительной симметрией (рис. 17,6) создает меньше нелинейных искажений, чем предыдущий усилитель, так как сигнал с .коллекторной нагрузки транзистора VI каскада предварительного усиления через разделительный конденсатор большой емкости С2 поступает сразу на оба плеча выходного каскада. При положительных полупериодах усиливаемого сигнала работают транзисторы V2 и V4, при отрицательных V3 и V5. Усилитель с дополнительной симметрией требует более тщательного подбора пар транзисторов. Налаживать его начинают с подгонки режима транзисторов V4 и V5 по постоянному току, для чего в их общую коллекторную цепь включают миллиамперметр и подбором резисторов R3 и R4 устанавливают указанный выше ток покоя. Если напряжение эмиттер — коллектор транзистора V4 меньше UПИT/2, надо немного увеличить сопротивление резистора R3 и уменьшить сопротивление резистора R4 (при напряжении, большем Uпит/2, поступают наоборот). При помощи осциллографа и измерителя коэффициента гармоник одновременно контролируют форму выходного напряжения (рис. 18,6). Тщательным подбором резисторов R3 и R4 или параметров пар-транзисторов выходного каскада можно уменьшить нелинейные искажения.
ЧАСТОТНАЯ ХАРАКТЕРИСТИКА УСИЛИТЕЛЯ
Частотная характеристика усилителя показывает зависимость коэффициента усиления К от частоты f сигнала, поданного на вход усилителя. Это один из важнейших параметров, так как если К{}) неравномерна, т. е. не прямолинейна, то это сигнализирует о том, что усилитель по-разному усиливает сигналы разных частот, тем самым внося частотные искажения. Правда, частотная характеристика реального усилителя (рис. 19) никогда не бывает абсолютно прямолинейной, на ней есть подъемы и провалы, причем часто эти неравномерности в усилении создают искусственно, чтобы компенсировать неравномерности частотных характеристик головок громкоговорителей и модуляции высокочастотного сигнала, завалы частотной характеристики магнитных лент при звукозаписи и т. п.
Рис. 19. Частотная характеристика УЗЧ
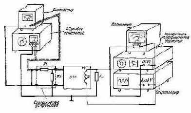
Но в любом случае неравномерность частотной характеристики должна находиться в определенных пределах, задаваемых в децибелах относительно исходного уровня — усиления сигнала частотой 1000 Гц. Поэтому по вертикальной оси характеристики обычно откладывают не значение коэффициента усиления, равного uВЫХ/uвх, а частотных искажений в децибелах М = = 20 lg (Ko/Kf), где Ко и Кf — коэффициенты усиления по напряжению соответственно на частоте 1000 Гц ,и на частоте f. Таким образам коэффициент частотных искажений М показывает, на сколько децибел усиление на данной частоте отличается от усиления на частоте 1000 Гц, и, как было уже отмечено, допустимые пределы этого отличия зависят от конкретного назначения усилителя. Например для обеспечения возможно более равномерного усиления по диапазону М=3 дБ вполне допустим. И вообще в радиотехнике неравномерность в 3 дБ (т. е. в 1,41 раза) считается вполне допустимой погрешностью. На рис. 20 показаны соединения приборов для снятия частотной характеристики усилителя. Это основная схема соединения приборов с усилителем для измерения всех основных параметров. Особое внимание следует уделить согласованию выхода ЗГ со входом усилителя.
К выходу усилителя надо подклю чить эквивалент нагрузки, равный полному сопротивлению звуковой катушки головки громкоговорителя или магнитной головки, если испытывается усилитель магнитофона. Вообще же желательно испытывать усилитель с той нагрузкой, с которой он будет работать. При определении частотной характеристики усилителя очень важно правильно выбрать уровень входного сигнала. Чтобы при этом не ошибиться, надо предварительно измерить его чувствительность и нелинейные искажения. Чувствительность — это наименьшее напряжение входного сигнала, обеспечивающее усилителю йамйнальную выходную мощность, т ё та кую мощность, при которой нелинейные искажения не превышают заданного значения Поскольку существует определенная взаимосвязь параметров усилителя, поступают следующим образом: регулятор громкости устанавливают на максимальное усиление, ЗГ настраивают на частоту 1000 Гц, постепенно увеличивают его выходное напряжение и одновременно измерителем гармоник или, в крайнем случае, по осциллограмме измеряют коэффициент гармоник Как только он достигнет заданного максимального значения, измеряют напряжение на входе UВх и выходе Uвых усилителя, и тогда номинальная выходная мощность на нагрузке Rн=U2выx/Rв При данной номинальной выходной мощности RB именно напряжение UBX характеризует чувствительность усилителя Его можно измерить любым электронным вольтметрам, в то время как выходное напряжение ивы% желательно измерять вольтметром, детектор которого peaгирует на среднеквадратическое значение напряжения Объясняется это тем что на входе усилителя форма сигнала строго синусоидальная (коэффициент гармоник сигнала на выходе ЗГ обычно не превышает 0 5%), а вот на его вы ходе при номинальной мощности коэффициент гармоник может достигать 5% и более, что дает уже заметную погрешность градуировки вольтметра с пиковым детектором — его показания будут занижены Кстати, при пользовании измерителем гармоник надо помнить, что его вольтметр чувствителен к среднеквадратическому значению измеряемого напряжения, поэтому вольтметром можно измерять напряжение UВЫх.

Рис. 20. Включение измерительных приборов для измерения параметров УЗЧ
Помимо номинальной выходной мощности усилителя иногда определяют мощность, при которой коэффициент гармоник равен 10%, т е максимальную мощность Рmах.
Итак, допустим, что номинальное входное напряжение UBX ном измерено Очевидно, что это будет то максимальное напряжение, которое может оказаться на входе усилителя в реальных условиях Уровень входного сигнала при определении частотной характеристики усилителя выбирают 0,5UВ1 ном, ис исходя из следующих соображений. Если принять уровень испытательного сигнала равным Uвх ном, то возникнут некоторые ограничения по максимуму в каскадах усилителя в насыщении магнитопровода выходного трансформатора и т п, а ведь именно по этим причинам возрастают нелинейные искажения Все это, влияя на форму частотной характеристики, исказит ее по сравнению с характеристикой при работе усилителя с меньшими уровнями входного сигнала Если же выбрать очень малый уровень испытательного сигнала, то будут сказываться нелинейные начальные участки характеристик транзисторов выходного каскада, напряжения шумов, паразитные наводки, что тоже приведет к искажению формы частотной характеристики Поэтому выбирают «золотую середину» — 0,5Uвх ном, что, кстати, соответствует наиболее вероятному в рабочих условиях уровню входного сигнала

Рис 21 Амплитудная характе ристика УЗЧ
При определении возможных уровней входного сигнала можно определить и амплитудную характеристику усилителя на частоте 1000 Гц Для этого устанавливают UBx = l,5UBX ном, измеряют и записывают соответствующее ему ивых Затем уменьшают UBZ (делителем на выходе ЗГ), вновь измеряют Uвых, и так до минимально возможного напряжения входного сигнала (уровня, при котором сигнал на выходе менее чем на 3 дБ, т е примерно в 1,5 раза, превышает шумы усилителя) По результатам измерений строят амплитудную характеристику усилителя (рис 21) Масштаб оси мвх лучше брать логарифмическим, так как входное напряжение изменяется в больших пределах от милливольт до десятых долей вольта Желательно чтобы эта характеристика была более линейной, хотя иногда нужны усилители с определенной формой амплитудной характеристики, например с логарифмической зависимостью усиления Для обычных УЗЧ допустимы небольшие отклонения от линейности, особенно в области минимальных и максимальных входных напряжений.
Как уже говорили, при определении частотной характеристики усилителя Уровень входного сигнала устанавливают равным 0,5U„х ном, затем измеряют и записывают выходное напряжение на частоте 1000 Гц, которое будет нулевым уровнем Затем частоту ЗГ последовательно изменяют в сторону сначала Уменьшения затем увеличения, поддерживая уровень его входного напряжения равным 0,5U„х ном Для каждой частоты записывают соответствующее выходное напряжение Поскольку UBX в процессе измерения неизменно, то UВЫх, нанесенные на график в координатах UBha(f), покажут зависимость коэффициента усиления К=Uвыт/Uвх от частоты f (см рис 19) Ее можно построить и в значениях коэффициента частотных искажений Af=20 lg(UBbiX mafUBblx f).
При градуировке выходных делителей ЗГ в децибелах частотную характеристику можно получить и без вычислений. Для этого замечают показания вольтметра на выходе усилителя, а затем для каждой из частот устанавливают делителем выходное напряжение ЗГ, при котором отклонение стрелки вольтметра остается неизменным. Тогда коэффициент частотных искажений в децибелах для данной частоты будет равен изменению выходного напряжения ЗГ. Например, если при сигнале частотой 1000 Гц для отклонения стрелки вольтметра на некоторый угол при уровне входного сигнала UВх = 0,5Uвх.ввм делитель ЗГ будет установлен в положение 24 дБ, а при переходе на частоту 4000 Го, для такого же отклонения стрелки вольтметра на выходе усилителя делитель генератора приходится поставить в положение 27 дБ, то на этой частоте мы имеем подъем частотной характеристики усилителя на 3 дБ относительно уровня на частоте 1000 Гц. Но не следует забывать, что при перестройке ЗГ с одной частоты на другую, его выходное напряжение может изменяться, поэтому по встроенному вольтметру генератора надо следить, чтобы напряжение на входе делителя на частоте 4000 Гц было таким же, как и при сигнале частотой 1000 Гц.
ЧТО ТАКОЕ ДЕЦИБЕЛ?
Децибел — это десятая часть бел — единицы, характеризующей отношение двух мощностей в виде их десятичного логарифма: NБ = lg Р2/P1. Но бел слишком крупное значение для практических измерений. Поэтому применяют децибелы. Физическая природа сравниваемых мощностей может быть любой: электрической, акустической, механической, электромагнитной и т. п. А так как электромагнитную мощность можно выразить через ток и напряжение, то децибелы применяют и для характеристики отношения токов и напряжений. Но если отношение мощностей в децибелах Dp — 10 lg P2IP1, то отношение токов и напряжений в децибелах D1 = 20 lg I2/I1 и Du=20 lg U2/U1.Поскольку децибел — единица логарифмическая, то «масштаб» выражения отношений тоже логарифмический, т. е. чем больше отношение, тем сильнее сжатие масштаба. Вычислять децибелы можно, пользуясь формулами логарифмирования и таблицами логарифмов. Однако для практических расчетов достаточно значений, приведенных в табл. 4. Промежуточные значения легко получают следующим образом.
ЧТО ТАКОЕ РЕЖИМ УСИЛЕНИЯ?
Усилительный каскад, схема которого приведена на рис. 5, а характеристики — на рис. 6, работает в так называемом режиме А. В этом режиме токи через транзистор протекают непрерывно в продолжение всего периода полезного сигнала (рис. 7). При этом коллекторный ток даже в отсутствие сигнала не исчезает, а оказывается равным току покоя Iк т. Во время действия входного сигнала коллекторный (выходной) ток изменяется около значения Iк т. В режиме А ток Iк т во избежание отсечки и появления значительных искажений должен быть больше амплитуды переменной составляющей Iк m. Поэтому даже в наивыгоднейшем режиме КПД каскада может достигнуть только 45%, но в этом случае усиление происходит с большими нелинейными искажениями, так как используются нелинейные участки характеристик. Остальные 55% энергии источника питания расходуются на нагрев транзисторов.
Рис. 7. Форма коллекторного тока при работе однотактного усилительного каскада в режиме А
Однако, если построить схему усилителя по принципу двухтактного усиления (рис. 8), то можно заставить транзисторы работать в значительно более экономичном режиме В. Двухтактный усилитель представляет собой совокупность двух однотактных, работающих на общую нагрузку. Каждый из усилителей называется плечом, причем оба плеча должны быть симметричны. Для обеспечения симметрии они должны иметь транзисторы с одинаковыми параметрами и симметричные режимы по постоянному току. Такие режимы выполняются, если первичная обмотка выходного трансформатора Т состоит из двух одинаковых частей, и их входные напряжения ив% i и йвхг J симметричны, т. е. одинаковы по значению, но противоположны по фазе. Если условия полной симметрии плеч соблюдены, то составляющие токов аналогичных электродов обоих транзисторов равны. Однако на практике идеальной симметрии достигнуть невозможно. Поэтому считают, что симметрия хорошая, если постоянные составляющие коллекторных токов транзисторов различаются не более чем на 10 — 15%.
Но пока будем считать симметрию полной, поскольку в этом случае можно ограничиться рассмотрением любой половины схемы.
Если при работе усилителя в режиме А токи в коллекторных цепях транзисторов протекают непрерывно, то в режиме В каждое плечо двухтактного усилителя работает с отсечкой выходного тока. В режиме В смещение на базе транзисторов выбирают таким, чтобы угол отсечки выходного тока 0 получился равным п/2 (угол отсечки 9 равен выраженной в градусах половине продолжительности прохождения тока через транзистор). Тогда при синусоидальном входном сигнале транзистор одного плеча в течение половины периода изменения сигнала будет заперт, и усиление входного сигнала происходит только в другой половине периода (см. рис. 8,6).

Рис. 8. Принципиальная схема двухтактного трансформаторного выходного каскада (а) и форма тока одного из плеч (б)
Транзисторы обоих плеч каскада работают поочередно: один транзистор пропускает ток, другой заперт, а в следующий полупериод — наоборот. Таким образом, в режиме В постоянная составляющая коллекторного тока равна примерно одной трети амплитуды выходного тока Iк т. Первая гармоника выходного тока каскада пропорциональна амплитуде изменения коллекторного тока 1кт каждого транзистора и ее амплитуда Iвыхm = 0,51к т. Она больше постоянной составляющей в 1,5 раза, что является причиной высокого КПД каскада в режиме В. При максимальной мощности КПД достигает 78,5% (теоретически). Однако в работе транзисторов используются начальные и наиболее нелинейные участки входных характеристик, поэтому нелинейные искажения в этом режиме сравнительно велики (рис. 9,а). Когда входной сигнал отсутствует, то через коллекторы транзисторов вообще не должен протекать ток (так как транзисторы заперты смещением). В действительности через коллектор каждого транзистора протекает небольшой ток, равный обратному току коллектора IКБО.

Рис. 9. Работа двухтактного каскада: а — в режиме В; б — в режиме АВ
Однотактный каскад может работать только в режиме А, двухтактный — в режиме А и в других режимах.
В режиме А он работает сравнительно редко: лишь в тех случаях, когда желательно получить .минимально возможные нелинейные искажения усиливаемого сигнала. Мощность, снимаемая с каждого транзистора, и КПД не имеют существенного значения. Промежуточным между описанными режимами А и В является режим АВ. Для перевода каскада в этот режим надо выбрать смещение таким, при котором угол отсечки Фк=120°.
Конечно КПД каскада в режиме АВ меньше чем в режиме В, так как постоянная составляющая выходного тока Iк=0,41к т+Iк т. Поэтому КПД каскада не превышает 60%, но зато нелинейные искажения меньше, чем в режиме В, поскольку начальные и нелинейные участки входных характеристик транзисторов не искажают формы выходного сигнала. На практике ток Iкт устанавливают таким, чтобы характеристики обоих плеч схемы как бы дополняли одна другую, составляя общую прямую линию (рис. 9,6).
Если напряжение смещения очень мало, то каскад перейдет в режим С. В этом режиме транзистор имеет высокий КПД, так как постоянная составляющая Iк очень мала по сравнению с Iк т, а угол отсечки ФК<9О°. Однако амплитуды высших гармоник (особенно второй и третьей) близки к амплитуде первой гармоники и форма выходного сигнала оказывается искаженной. Поэтому режим С совершенно непригоден для усиления. Если каскад случайно оказался в этом режиме, то необходимо увеличить смещение и перевести каскад в режим АВ или В. Таким образом для работы в режиме В или АВ напряжение смещения надо выбирать таким, чтобы в исходном состоянии транзисторы были заперты, а при появлении даже очень слабого сигнала один и» них (какой — это зависит от полярности полупериода входного сигнала) сразу же открывался.
Все сказанное о выборе положения рабочей точки Т на характеристиках, о смещении, нелинейных искажениях и т. д. в полной мере относится к работе мощных транзисторов, у которых размах входного и выходного сигналов захватывает большую часть входной и выходной характеристик.При работе транзисторов с входным сигналом небольшого размаха положение рабочей точки на характеристике почти не меняется и нелинейные искажения не возникают. Однако и для таких транзисторов важен правильный выбор напряжения смещения, так как от положения рабочей точки на характеристике в» многом зависят такие параметры транзистора, как коэффициент передачи тока h21э и предельная частота fh12Э, определяющая работу транзистора на высоких частотах. Обычно следует ориентироваться на режим, рекомендуемый в справочниках: U кэ=5 В, Ik=1 мА. Но в принципе, этот режим не обязателен, не надо только ставить транзистор в крайние режимы, когда возникают нелинейные искажения, связанные с его работой на нелинейных участках характеристик (особенно при токах коллектора менее 0,5 — 0,6 мА). Кроме того при работе в максимальном режиме (коллекторное напряжение и ток максимальны) существенно снижается надежность транзистора.
ЕЩЕ ОДИН МЕТОД ИСПЫТАНИЯ УСИЛИТЕЛЯ
Описанный метод измерения частотной характеристики усилителя пo точкам при помощи ЗГ и вольтметров точен, но трудоемок и длителен. Между тем существует осциллографический метод определения частотных характеристик усилительных устройств. Он не позволяет получать количественные данные о частотной характеристике усилителя, зато дает общее представление о частотных искажениях. Метод основан на испытании усилителя прямоугольными импульсами.Прямоугольный импульс содержит в себе спектр частотных составляющих: основную частоту (совпадает с частотой следования импульсов) и ряд частотных составляющих, хорошо выраженных по крайней мере до десятой гармоники. Если подать на вход усилителя прямоугольные импульсы с частотой следования 50 Гц (обычно для этих целей используют не прямоугольные импульсы одной полярности, а двухполярные прямоугольные импульсы (так называемый «меандр»), это будет равносильно подаче на вход усилителя набора частот от 50 до 500 — 1000 Гц. Бели подать импульсы с частотой следования 1 кГц, то диапазон испытательных частот расширится до 10 — 15 кГц. Подключив к выходу усилителя осциллограф, на его экране получим изображение испытательного импульса, которое будет неискаженным только в том случае, если частотные составляющие импульса пройдут через усилитель неискаженными, т. е. не испытают ни частотных (амплитудных), ни фазовых искажений. Если импульс на выходе усилителя имеет такую же форму, как на входе, то все в порядке (сравнение производится при помощи двухлучевого осциллографа или однолучевого, но с электронным коммутатором). Если же форма импульса на выходе искажена, то по характеру искажения можно определить неисправность усилителя. Чувствительность этого метода даже к незначительным искажениям достаточно высокая.
Расшифровываются импульсные осциллограммы следующим образом: искажения вершин прямоугольного импульса (искривление и наклон) обусловлены низкочастотными искажениями сигнала в цепях усилителя, а искажения фронта импульсов (закругление и растягивание) — высокочастотными, поскольку различные участки усилителя для импульсов являются дифференцирующими и интегрирующими цепями.
На рис. 22,а конденсатор С — переходный, a R — общее сопротивление базовой цепи последующего усилительного каскада. Как через такую RC-цепь проходит прямоугольный импульс? В момент появления фронта импульса конденсатор С начинает заряжаться, но это не может произойти мгновенно, поскольку зарядка конденсатора означает существование между его обкладками электрического поля, которое, обладая энергией, не может измениться мгновенно. Поэтому в первый момент после появления фронта напряжение Uс на конденсаторе равно нулю и ток зарядки зависит только от сопротивления R: I3=UИ/R. Следовательно, на сопротивлении R в этот момент возникнет скачок напряжения UR=I3R=(UИ/R)R=Ull.

Рис. 22. Искажения прямоугольных импульсов при прохождении через цепи усилителя:
а — прохождение перепада напряжения через дифференцирующую цепь; б — прохождение перепада напряжения через интегрирующую цепь
Однако уже в следующий момент на конденсаторе С появится некоторое напряжение Uс и так разрядки будет определяться выражением I3=UИ — Uc/R, т. е. начнет уменьшаться. Поэтому напряжение Ur на сопротивлении R тоже станет уменьшаться, а это вызовет искажение (слад вершины) импульса на выходе цепи, которое будет тем больше, чем меньше емкость конденсатора С (чем меньше емкость, тем быстрее происходит зарядка, тем интенсивнее спадает ток зарядки, тем круче спад вершины импульса). Определяется это не только емкостью С, но и сопротивлением R, поэтому способность цепи пропускать через себя импульсное напряжение характеризуется параметром x=RC, называемым постоянной времени. Математически можно доказать, что за время t=3RC=3x конденсатор зарядится примерно до 0,95 максимального напряжения источника.
Как следует из сказанного, импульс обязательно претерпевает искажения, которые будут тем меньше, чем больше постоянная времени цепи. Действительно, если длительность импульса ти много меньше трех постоянных времени цепи (ти<3т), то за время импульса напряжение Uc на конденсаторе не успевает существенно измениться, а значит, и вершина импульса почти не исказится.
Но если постоянная времени соизмерима с длительностью импульса или меньше ее, то RC-цепъ значительно искажает вершину импульса или даже превращает его в два остроконечных импульса (дифференцирует его). Строго говоря, любая RC-цепь, выходное напряжение которой снимают с резистора, является дифференцирующей, но если для данного импульса выдерживается соотношение ти<Зт, то такую цепь следует считать переходной.
Форму вершины определяют в основном низкочастотные составляющие спектра прямоугольного импульса: основная частота, полупериод которой равен хи, и ближайшие низкочастотные гармоники. Для них постоянная времени г цепи близка к своему критическому значению. А для более высокочастотных составляющих, определяющих форму фронта и среза импульса, т много больше их периодов. Если рассмотреть частотную характеристику цепи (на рис. 22,а — справа), то можно увидеть, что высокочастотные колебания проходят через дифференцирующую цепь без ослабления, а низкочастотные ослабляются тем сильнее, чем меньше их частота. Поэтому считается, что дифференцирующая цепь является фильтром верхних частот и характеризуется граничной нижней частотой fr.s по уровню — 3 дБ (0,707). Если ЯС-цепь построена так, что выходное напряжение снимается с ее конденсатора (рис. 22,6), то через нее прямоугольный импульс проходит иначе. При появлении импульса на выходе цепи Uc = 0 и увеличивается по мере зарядки конденсатора, при этом чем меньше постоянная времени ЯС-цепи, тем интенсивнее зарядка. Вместо мгновенного нарастания выходного напряжения фронт импульса получит длительность Тф. То же будет и со срезом импульса, так как в этот момент происходит разрядка конденсатора со скоростью, зависящей от постоянной времени RС-цепи. Форма спада будет оптимальной: за время 3RC конденсатор полностью зарядится (точнее до 95%), и напряжение iUc практически уже ,не будет меняться в течение всей длительности импульса. Поэтому такая цепь, называемая интегрирующей, хорошо пропускает низкие частоты .спектра импульса, для которых ее постоянная времени очень мала, и не пропускает высокие частоты, для которых ее % соизмерима с периодом колебаний.
Интегрирующая цепь является фильтрам нижних частот. В усилителях звуковой частоты такие цепи создают завал колебаний высших частот. Таким образом, по форме фронта и вершины прямоугольных импульсов можно составить представление о равномерности частотной характеристики испытываемого или налаживаемого усилителя.
Этот метод испытания позволяет выявлять даже небольшие неравномерности усиления колебаний разливных частот, паразитную генерацию, фон переменного тока и прочие искажения. Только надо помнить, что на практике в усилителе могут быть одновременно искажения нескольких видов и поэтому осциллограмма испытательного прямоугольного импульса будет сложной. Рассмотрим наиболее типичные осциллограммы, приведенные на рис. 23. Первая из них (рис. 23,а) показывает идеальную форму испытательного прямоугольного напряжения, подаваемого на вход усилителя. В идеальном случае форма этого напряжения на выходе усилителя должна быть такой же. Однако искажения будут уже потому, что усилитель вертикального отклонения луча осциллографа тоже вносят некоторые частотные искажения. Поэтому перед началом испытаний надо на вход усилителя осциллографа подать прямоугольное испытательное напряжение и зарисовать форму импульсов, которая и будет эталоном для сравнения формы импульсов на выходе испытываемого УЗЧ. Двухлучевой осциллограф (или с электронным коммутатором) упрощает процесс исследования.

Рис. 23. Форма осциллограмм при различных неисправностях в УЗЧ
Ослабление усиления колебаний наиболее высоких частот показывает осциллограмма на рис. 23,6: фронт импульса растянулся, поэтому расшифровать такую осциллограмму несложно. А вот что означает осциллограмма на рис. 23,в? Это тоже результат ослабления усиления колебаний высоких частот, но здесь фронт импульса удлинился настолько, что занял весь полупериод. Осциллограмма на рис. 23,г характеризует уже знакомый случай (Искажения прямоугольного .импульса при ослаблении усиления сигналов низких частот.
Следующая осциллограмма (рис. 23,5) свидетельствует о снижении усиления колебаний как низких, так и средних частот, а на рис. 23, е,ж — о подъеме усиления на низких частотах.
При подъеме усиления на средних частотах, получается осциллограмма, изображенная на рис. 23,з. Осциллограмма на рис. 23,и свидетельствует о наличии в усилителе резонирующих цепей и паразитных колебаний, частоты которых выше верхней граничной частоты испытываемого усилителя.
Как можно получить напряжение прямоугольной формы? Сформировать симметричные прямоугольные импульсы с очень малой длительностью фронтов (доли микросекунды) и горизонтальной плоской вершиной не просто. При этом надо обеспечить возможность изменения частоты этих импульсов от 50 Гц до 1 — 2 кГц. В промышленных генераторах импульсов применяются мультивибраторы или другие релаксационные генераторы. В любительских конструкциях импульсное напряжение обычно формируется из синусоидального, получаемого от ЗГ, например, при помощи ограничителей.
Предположим, что измерены частотная и амплитудная характеристики усилителя, его чувствительность, номинальная и максимальная выходные мощности, коэффициент гармоник. Остается определить уровень собственных шумов. Если к выходу усилителя подключить милливольтметр, то даже при отсутствии сигнала на входе усилителя, на его выходе будет некоторое переменное напряжение. На экране чувствительного низкочастотного осциллографа такое напряжение создает хаотические всплески, обрывки каких-то колебаний и т. п. Это — шумы, вызывающие в головке громкоговорителя шуршание, потрескивание и другие звуки. При малом усилении они почти незаметны, а при большом могут внести значительные искажения. Если же усилитель предназначен для усиления сигналов, для которых особенно важна их форма, например сигналов телеметрии, то значительные шумы вообще недопустимы.
В любом усилителе в результате случайных, чаще всего тепловых процессов, возникают шумы.
Основную долю в создание шума вносят транзисторы, особенно транзистор первого каскада, поскольку его шум усиливается всеми остальными каскадами, причем тем сильнее, чем больше напряжение и ток коллектора. Поэтому надо по возможности обеспечить облегченный режим работы транзистора, но не до такой степени, чтобы резко снижался его коэффициент передачи тока. Уровень шума зависит и от обратного тока коллектора, поэтому надо следить, чтобы он не превышал норму для данного транзистора. Уровень шумов усилительного устройства можно характеризовать отношением напряжения шумов Um к номинальному напряжению полезного сигнала UB на выходе усилителя, выраженного в децибелах: Nm = 20 lg(Um[UB). Поскольку Um имеет несинусоидальную форму, то для измерения уровня шумов применяют милливольтметр со среднеквадратическим детектором или обычный милливольтметр с пиковым детектором, правда, его показания будут несколько превышать действительное напряжение шума. При измерениях усилитель должен быть в рабочем режиме: сначала измеряют его номинальное выходное напряжение, затем отключают ЗГ и вместо него к входу усилителя подключают резистор сопротивлением, равным выходному сопротивлению этого генератора.
Форму напряжения шумов желательно контролировать по осциллографу. Это особенно важно при испытании усилителя с питанием от сети переменного тока, так как при плохой фильтрации выпрямленного напряжения вольтметр на выходе усилителя измеряет не шумы, а напряжение фона переменного тока, который на экране осциллографа выглядит как синусоида с частотой 50 или 100 Гц (в зависимости от выпрямителя). При повышении уровня фона переменного тока надо принять меры для его уменьшения.
ИТАК, НАЧИНАЕМ...
Мы рассмотрели все этапы налаживания и настройки основных блоков радиоприемника. Теперь надо приниматься за дело, потому что только на практике можно хорошо усвоить все то, о чем было написано. Особое внимание обратите на работу с измерительными приборами, на правила их подключения к исследуемым цепям.
Надо освоить отсчет показаний, разобраться с погрешностями измерений. Ведь и поиск неисправностей, и налаживание, и настройка радиоэлектронной аппаратуры — это непрерывный процесс измерений, так как только измерительные приборы дают возможность исследовать состояние электронного аппарата. Поэтому если вы серьезно занимаетесь радиолюбительством, то надо оснастить свою лабораторию хотя бы минимальным набором измерительных приборов. Многие из измерительных приборов можно сделать самостоятельно, дело это увлекательное, не менее интересное чем конструирование радиоприемников и магнитофонов.
Какие же приборы надо иметь в радиолюбительской лаборатории? Прежде всего ампервольтомметр с входным сопротивлением при измерении постоянного напряжения 5 — 10 кОм на 1 В. Обязательно надо обзавестись электронным вольтметром, обладающим очень высоким входным сопротивлением (мегомы), поэтому его можно подключать к любым высокоомным цепям. Что же касается измерения переменного напряжения, то надо помнить, что для его характеристики приняты три значения: амплитудное, среднеквадратическое и средневыпрямленное. Амплитудное Um (его иногда называют пиковым) напряжение характеризует максимально возможное значение напряжения данной формы, причем это не размах, а максимальное отклонение от нуля в положительную или отрицательную сторону. Конечно, такая характеристика переменного напряжения несколько односторонняя, так как она говорит лишь о том, что в какой-то момент времени напряжение достигает значения Um.
Полнее характеризовать переменное напряжение (или ток) можно при помощи действующего Uдейст значения, которое говорит о его среднеквадратическом значении. В этом случае переменное напряжение характеризуется постоянным, при котором на некотором активном сопротивлении выделяется такая .же мощность, какая выделилась бы на нем при подаче данного переменного напряжения. Очевидно, что среднеквадратическое значение U всегда меньше амплитудного, а вот на сколько — это зависит от формы переменного напряжения.
Для синусоидальной формы среднеквадратическое значение в 2-2 раз меньше U т, т. е. Um = l,410. Для других форм переменного напряжения это соотношение другое, что надо иметь в виду, так как большинство вольтметров градуируется именно в среднеквадратических значениях, в то время как реагируют они либо на амплитудное, либо на средневыпрямленное значение измеряемого напряжения. Например, все вольтметры выпрямительной системы, а к ним относятся все стрелочные ампервольтомметры, реагируют на средневыпрямленное UСр.в значение напряжения, хотя их шкалы градуируются в среднеквадратических значениях.
При измерении синусоидальных переменных напряжений (или достаточно близких по форме к синусоидальным) никаких ошибок не возникает, а вот при измерении несинусоидальных напряжений отсчет по шкале такого прибора будет неверным, так как коэффициент 1,11, которым пользовались в процессе градуировки шкалы, соответствует только синусоидальной форме напряжения: U= 1,1Шср.в. В этом случае показания прибора следует перевести в средневыпрямленное значение, для чего показания прибора умножают на коэффициент 0,45 при однополупериодном выпрямителе в ампервольтомметре или на 0,9 при двухполупериодном. При измерении вольтметром выпрямительной системы пульсирующих напряжений он будет реагировать не на переменную, а на постоянную составляющую. Чтобы измерить именно переменную составляющую пульсирующего напряжения, ампервольтомметр надо подключить к измеряемой цепи через конденсатор емкостью около 1 мкФ.
Электронные вольтметры переменного напряжения обычно тоже градуируются в среднеквадратических значениях, а реагируют в зависимости от примененного в них типа детектора либо на средневыпрямленное, либо на пиковое, либо на среднеквадратическое. Это надо обязательно учитывать при измерении. Универсальные электронные вольтметры реагируют на средневыпрямленное значение, импульсные вольтметры — на амплитудное, но градуируются в пиковых значениях.
Существуют специальные электронные вольтметры со среднеквадратическим детектором, которые реагируют именно на среднеквадратическое значение измеряемого напряжения. Такими вольтметрами можно измерять переменное напряжение любой формы и отсчитывать его значения непосредственно по шкале прибора.
Помимо приборов для измерения напряжения, тока и сопротивления, надо иметь в радиолюбительской лаборатории по крайней мере два генератора сигналов — низкочастотный и высокочастотный. Желательно, чтобы у них был калиброванный выход, тогда можно будет производить измерения чувствительности и коэффициента усиления.
При работе с генератором, особенно высокочастотным, чрезвычайно важно знать генерируемую частоту. Обычно шкала генератора не обеспечивает нужную точность отсчета частоты (даже высококачественные фабричные генераторы гарантируют точность в пределах ± 1 %, что на частотах более 0,5 МГц недостаточно) . Поэтому желательно иметь в лаборатории современный цифровой электронно-счетный частотомер (самодельные конструкции таких частотомеров на микросхемах уже не раз описывались в журнале «Радио»). В крайнем случае можно ограничиться гетеродинным кварцевым волномером.
Совершенно необходим электроннолучевой осциллограф, особенно если вы занимаетесь элементами импульсной техники, счетными устройствами, генерированием импульсов. Желательно, чтобы полоса пропускания его усилителей составляла несколько мегагерц, а диапазон разверток был от 5 — 10 мс до 5 — 10 мкс. Осциллограф должен иметь ждущую развертку, иначе вы не сможете увидеть импульсы с малой скважностью.
Таков минимальный набор измерительных приборов для серьезных занятий радиолюбительством. И еще один важный момент: погрешность измерений. Ведь сравнить какую-либо величину с эталоном с абсолютной точностью невозможно. Широко распространенные измерительные приборы имеют точность градуировки 2 — 5%. Для радиолюбительских целей такая точность достаточна, исключая измерение частоты, которое надо производить с точностью не хуже 0,1%.Не стремитесь иметь измерительные приборы очень высокой точности — они дороги, а измерять с их помощью очень сложно. Без ущерба для качества работы можно обойтись и более простыми приборами. Надо только быть уверенным, что ваши приборы обеспечивают точность хотя бы 5 — 10%, а для этого надо их показания время от времени сверять с показаниями эталонных приборов, в которых можно не сомневаться.
Итак, за работу...
Форма осциллограмм при различных неисправностях выходного каскада УЗЧ
При самовозбуждении каскада осциллограмма принимает вид, показанный на рис. 15,е. Не надо путать ее с осциллограммой на рмс. 15,ж — это накладка фона (т. е. пульсации выпрямленного напряжения при питании усилителя от сети переменного тока). Причиной повышенного фона может быть потеря емкости конденсаторами фильтра выпрямителя или влияние потока рассеяния трансформатора или дросселя блока питания на трансформаторы усилителя.Искажения формы сигнала, возникающие в трансформаторе Т2, показаны на рис. 15, з, к. Первая осциллограмма — результат недостаточного сечения магнитопровода выходного трансформатора. При малой выходной мощности такой трансформатор работает нормально, но по мере увеличения уровня сигнала на входе каскада и, следовательно, амплитуды сигнала в первичной обмотке трансформатора Т2, магнитная индукция в магнитопроводе возрастает, и он достигает состояния насыщения. Магнитная индукция зависит от частоты, на которую рассчитан трансформатор. С понижением частоты усиливаемого сигнала магнитная индукция в магнитопровсде трансформатора возрастает, и если при сигнале частотой 1 кГц (основная испытательная частота) нелинейные искажения не превышают .норму, все равно надо проверить форму выходного сигнала на низкочастотном участке полосы пропускания усилителя, где трансформатор вносит большие искажения. Осциллограмма (рис. 15,ы) — результат слишком большой индуктивности рассеяния обмоток трансформатора. Поскольку индуктивность рассеяния увеличивается с повышением частоты сигнала, необходимо проверить форму выходного сигнала на высокочастотном участке полосы пропускания усилителя. Следует иметь в виду, что нелинейные искажения возникают в результате появления в выходном сигнале новых, более высокочастотных составляющих, которые видны на экране осциллографа только в том случае, когда находятся в пределах полосы пропускания усилителя. Иначе эти составляющие не воспроизводятся усилителем.
Частоту испытательного сигнала, на которой измеряют коэффициент гармоник, выбирают такой, чтобы по крайней мере вторая гармоника прошла на выход усилителя без особого ослабления.
Поэтому измерять этот параметр надо при максимальной выходной мощности хотя бы на трех частотах звукового диапазона: крайних (20 — 100 Гц и 5 — 6 кГц) и 1 кГц. На этих же частотах определяют и коэффициент усиления каскада, частотная зависимость которого показывает, насколько равномерно усиление каскада в заданном диапазоне частот. Об этом проще судить по АЧХ, но ее обычно снимают для всего усилителя (об этом будет рассказано дальше). Коэффициент усиления каскада показывает во сколько раз переменное напряжение (ток или мощность) сигнала на выходе каскада больше вызвавшего его напряжения на входе каскада, Только в том случае, если коэффициент усиления одинаков во всем диапазоне усиливаемых частот, усилитель не будет создавать частотных искажений усиливаемого сигнала. Зависимость коэффициента усиления от частоты усиливаемых колебаний — это частотная характеристика усилителя, которая должна представлять собой горизонтальную линию в координатах K{f). Фактически же это кривая, особенно на концах частотного диапазона усилителя.
Коэффициент усиления определяют следующим образом. На ЗГ устанавливают частоту, на которой хотят измерить коэффициент усиления. Напряжение испытательного сигнала должно быть достаточным для получения номинальной выходной мощности усилителя. Измерив напряжения иВх и uВых, определяют коэффициент усиления по напряжению: Kн = uВых/uвх. Измерения производят на частоте 1 кГц. Затем ЗГ перестраивают на низкочастотный конец диапазона, устанавливают на входе каскада такое же входное напряжение сигнала ивх, как и на частоте 1 кГц, и измеряют выходное напряжение uвых.н. Коэффициент усиления на этой частоте можно и не вычислять, а определить изменение напряжения иВЫХ.н в децибелах по сравнению с напряжением uвых.н на частоте 1 кГц. Такие же измерения производят и на высокочастотном конце диапазона. Отклонение выходного напряжения относительно уровня на частоте 1 кГц не должно превышать ±3 дБ. Допускается отклонение до +6 дБ, но это существенно ухудшает параметры усилителя.
Основными причинами возникновения частотных искажений на низших частотах в двухтактном выходном каскаде, показанном на рис. 13, могут быть малая емкость конденсатора С1, блокирующего источник питания, ,и недостаточная индуктивность первичной обмотки выходного трансформатора. На высокочастотном участке диапазона частотные искажения вызываются в основном низкой граничной частотой коэффициента передачи тока fгр транзисторов и большой индуктивностью рассеяния первичной обмотки выходного трансформатора. Например, если в усилителе работают транзисторы, граничная частота коэффициента передачи которых составляет всего 5 — 6 кГц, то частотные искажения на высокочастотном участке больше 6 дБ («завал» высоких частот). Чтобы компенсировать снижение усиления колебаний высоких частот, в усилитель вводят ОС, например между выходом двухтактного каскада и эмиттерной цепью каскада предварительного усиления (через резистор R4 на рис. 13). Но ОС действует только при совместной работе обоих каскадов.
Когда мощный каскад усиления налажен, к его входу присоединяют каскад предварительного усиления (на рис. 13 он показан штриховыми линиями), а к выходу через согласующее устройство подключают выход ЗГ. Подключаемые к выходу двухтактного усилителя мощности приборы остаются прежними (см. рис. 14).
Звуковой генератор настраивают на частоту 1 кГц, а выходное напряжение устанавливают таким, чтобы выходная мощность на нагрузке Rш соответствовала номинальной. Если осциллограмма выходного напряжения нормальная, а коэффициент гармоник не превышает допустимого, то можно считать, что каскад предварительного усиления работает нормально. Причиной появления больших нелинейных искажений может быть проверяемый каскад, поэтому осциллограф подключают к коллектору транзистора этого каскада и анализируют полученную осциллограмму (рис. 15). Ограничение сигнала (рис. 15,г) в этом каскаде происходит часто из-за неправильного выбора режима транзистора по постоянному току.
Правильный выбор обратного тока транзистора позволяет избавиться от показанных на рис. 15,(3 искажений, возникающих в результате значительного подмагничивания магнитопровода трансформатора постоянным током коллектора транзистора. Если устранить такие искажения выбором режима транзистора не удается, то причиной может быть появление искажений другого вида или значительное падение усиления. В этом случае в магнитопроводе трансформатора Т1 следует создать воздушный (немагнитный) зазор: проложить между наборами Ш-образных и замыкающих пластин бумажную или лакотканевую прокладку толщиной в несколько десятых долей миллиметра. Однако такой зазор уменьшает магнитную индукцию трансформатора, что может привести к частотным искажениям на низкочастотном участке диапазона усиления. Компенсируют эти потери .увеличением числа витков первичной обмотки трансформатора. При большой индуктивности первичной обмотки трансформатора Т1 возникают искажения, показанные на рис. 15,з. Если к этому добавляется и значительное подмагничивание магнитопровода, то искажения становятся комбинированными — несимметричными относительно горизонтальной оси. Устраняют их увеличением площади сечения магнитопровода трансформатора 77.
Снизив нелинейные и другие искажения сигнала в предоконечном каскаде до допустимых пределов, проверяют коэффициенты усиления в трех точках частотного диапазона. Причины появления частотных искажений в этом каскаде те же, что и в выходном.
КАК ИСПЫТАТЬ И НАЛАДИТЬ ВЫХОДНОЙ КАСКАД
Итак, если в ремонтируемом или налаживаемом усилителе появились искажения, то прежде всего надо измерить режимы транзисторов по постоянному току и только после этого переходить к поиску других неисправностей.Наиболее быстро можно проверить усилительный каскад при помощи электронно-лучевого осциллографа в сочетании с генератором звуковой частоты. Генератор присоединяют ко входу, осциллограф — к выходу усилителя, и по форме и амплитуде колебаний на экране осциллографа судят о работоспособности каскада.
Любое электронное устройство удобнее налаживать и настраивать покаскадно или отдельными блоками. Для этого необходимо изолировать налаживаемый каскад и тем самым исключить влияние на него цепей от других, возможно неисправных, каскадов. К его входу следует подключить генератор сигнала с выходным сопротивлением, равным выходному сопротивлению предыдущего каскада, а к выходу — индикатор выходного сигнала с входным сопротивлением, равным входному сопротивлению следующего за ним каскада. Речь идет о сопротивлениях переменному току, зависящих от многих факторов: частоты и амплитуды сигнала, входных и выходных проводимостей транзисторов, наличия цепей обратных связей и пр., поэтому проще их измерять, а не определять расчетным путем. :
Для этого измеряют напряжение U на выходе исследуемого каскада при отключенном входе следующего. Затем вместо нагрузки к выходу каскада подключают резистор с таким сопротивлением R, чтобы показание вольтметра на выходе каскада было равно U/2, тогда выходное сопротивление каскада равно R. При подобных измерениях на вход испытываемого каскада подают синусоидальный сигнал рабочей частоты и амплитуды, обеспечивающей на выходе каскада неискаженный сигнал.

Рис. 13. Принципиальная схема мощного двухтактного выходного каскада
Обычно проверку и налаживание начинают с выходного блока или каскада — усилителя звуковой частоты (УЗЧ). Рассмотрим сначала трансформаторный выходной каскад (рис. .13).
В УЗЧ реализованы два типа ОС: последовательная по току за счет падения напряжения на резисторе R4 и последовательная по -напряжению за счет подачи части выходного напряжения с трансформатора Т2 в цепь эмиттера транзистора каскада предварительного усиления. Обратная связь по току увеличивает, а по напряжению уменьшает выходное сопротивление каскада, поэтому его выходное сопротивление довольно трудно рассчитать. Лучше сначала хотя бы приблизительно определить работоспособность выходного каскада. Затем подключить предварительный усилитель и, измерив его входное сопротивление, подобрать соответствующее согласующее устройство между выходом генератора звуковой частоты (ЗГ) и входом усилителя. Такое согласующее устройство обычно состоит из двух резисторов: Rсог, включенного параллельно выходному сопротивлению генератора, и Rao6, включенного последовательно между выходом генератора и входом усилительного каскада (рис. 14).

Рис. 14. Включение измерительных приборов при налаживании и измерении параметров выходного каскада УЗЧ
Если входное сопротивление каскада не равно выходному сопротивлению генератора, то необходимо подключить к концам кабеля генератора резистор RCot, сопротивление которого равно выходному сопротивлению генератора. Однако после этого общее сопротивление, подключенное к входу испытываемого каскада, станет равно: Rвых.общ=Rвых.генRсог/(Rвых.ген+Rсог). Если оно меньше выходного сопротивления отключенного блока Rвых.от.бл (что на практике бывает в подавляющем большинстве случаев), то для согласования этих сопротивлений надо включить последовательно добавочное сопротивление Rдоб = Rвых.от.бл — Rвых.общ.
Для измерения переменного напряжения к выходу налаживаемого каскада следует подключить вольтметр и осциллограф. Однако, поскольку входные сопротивления этих приборов много больше полного сопротивления звуковой катушки головки громкоговорителя, на время налаживания (когда головку громкоговорителя отключают) к выходной обмотке трансформатора Т2 подключают нагрузочный резистор Rs, сопротивление которого равно полному сопротивлению звуковой катушки головки.
Это сопротивление можно измерить тем же способом, что и входное сопротивление каскада. Схема соединения измерительных приборов с налаживаемым выходным каскадом УЗЧ показана на рис. 14. Звуковой генератор настраивают на частоту 1 кГц, а амплитуду его выходного напряжения устанавливают в пределах 2 — 3 В. При подаче напряжения питания на экране осциллографа возникает изображение синусоидального выходного сигнала. Отклонения формы напряжения от синусоидальной свидетельствуют о неправильно выбранном режиме транзисторов по постоянному току, самовозбуждении усилителя, неисправности трансформаторов и т. п. Заметить искажение формы сигнала не просто. Удобнее работать с двухлучевым осциллографом, так как на его экране одновременно можно выделить изображения входного и выходного сигналов. Сравнивая их, легче заметить искажения выходного сигнала. Увидеть одновременно входной и выходной сигналы можно и ,на экране однолучевого осциллографа, если применить электронный коммутатор — устройство, переключающее с частотой 10 — 100 кГц У-вход осциллографа с входа на выход исследуемого каскада и обратно.
Искажение формы сигнала менее 8 — 10% заметить на экране осциллографа очень трудно, поэтому к выходу усилителя надо подключить измеритель коэффициента гармоник. Если коэффициент гармоник не превышает 5%, то можно налаживать остальные каскады усилителя, если же он слишком большой, то прежде надо проверить правильно ли выбран уровень входного испытательного сигнала. Для этого измеряют мощность каскада PBЫХ = U2/RB (U — действующее напряжение на сопротивлении нагрузки RB). Если вычисленная мощность окажется больше номинальной выходной мощности данного усилителя (т. е. мощности, при которой все электрические параметры усилителя, в том числе и коэффициент гармоник, должны удовлетворять заданным требованиям), то можно уменьшить напряжение входного испытательного сигнала и опять измерить искажения. Если теперь коэффициент гармоник будет не более 5%, то, следовательно, вначале был неправильно выбран уровень испытательного сигнала .и искажения были вызваны перегрузкой каскада.
Теперь предположим, что осциллограмма имеет вид, показанный на рас. 15,а. Такие искажения вызваны неправильно выбранным напряжением смещения на базах транзисторов VI и V2, в результате чего используются начальные нелинейные участки их входных характеристик транзисторов. Для устранения этих искажений, называемых «ступенькой», надо несколько увеличить напряжение базового смещения подбором резистора R1 — см. рис 13. Двухтактные выходные каскады чаще всего работают не в режиме В, а в промежуточном режиме АВ, для которого характерно некоторое увеличение смещения на базах транзисторов. Но если установить слишком большое напряжение смещения, то при малом мгновенном напряжении входного сигнала каскад работает в режиме А, по мере увеличения его мгновенного значения переходит в режим АВ. . При этом усиление каскада уменьшается и возникают искажения, показанные на рис. 15,6 (колоколообразная вершина синусоиды). Если же смещение на базах транзисторов будет еще больше, то кроме колоколоабразной вершины синусоид снизится еще и амплитуда, (рис. 15,е), так как при максимальных значениях усиливаемого сигнала транзисторы могут перейти в режим насыщения.
При ограничении сигнала по амплитуде (рис. 15,г) прежде всего надо проверить правильно ли выбран уровень входного испытательного сигнала. Для этого уменьшают напряжение на выходе ЗГ до прекращения ограничений, после чего измеряют выходную мощность усилителя. Если она больше номинальной выходной мощности данного усилителя, то, возможно, ограничения происходят из-за слишком большого уровня входного сигнала, если же много меньше номинальной, то ограничения возникают из-за неисправностей в каскаде: сниженной емкости конденсатора С1 (см. рис. 13), неисправности источника питания, неправильно выбранного режима транзисторов по постоянному току„ неисправности самих транзисторов. Если транзисторы имеют неодинаковые коэффициенты передачи тока, то возможны искажения, показанные на рис. 15Д правда, они могут возникнуть и при неравенстве числа витков в обмотках плеч трансформаторов Т1 и Т2 или при замыкании витков в этих обмотках.

КАК ВЫБРАТЬ ПОЛОЖЕНИЕ РАБОЧЕЙ ТОЧКИ
Зависимость тока входного электрода от напряжения на нем при постоянном напряжении выходного электрода называется входной статической характеристикой (рис. 3). Другими словами, для транзистора, включенного по схеме ОЭ, входная статическая характеристика представляет собой зависимость тока базы от напряжения на базе при неизменном напряжении на коллекторе. Если напряжение на коллекторе меняется, то характеристика тоже изменяется. Обычно снимают не одну, а семейство входных характеристик для различных напряжений UK3.Выходной статической характеристикой (рис. 4) называется зависимость . тока выходного электрода транзистора от напряжения на этом электроде при неизменном токе входного электрода. При включении транзистора по схеме ОЭ — это зависимость тока Iк от напряжения UK3 при неизменном токе базы IБ.
Статические характеристики предполагают, что в коллекторную цепь транзистора не включено сопротивление нагрузки. Если такое сопротивление есть, то изменение тока коллектора происходит не только под действием изменения тока или напряжения на базе, но и под действием изменения напряжения на самом коллекторе. Это последнее изменение происходит потому, что при изменении коллекторного тока, протекающего через резистор нагрузки RK, происходит изменение падения напряжения на этом резисторе. А это значит, что в процессе усиления переменного сигнала на коллекторе транзистора, напряжение изменяется непрерывно и транзистор как бы непрерывно переходит с одной выходной статической характеристики на другую.


Рис. 3. Входная характеристика транзистора
Рис. 4. Выходная характеристика транзистора
Построим на выходной статической характеристике линию, которая будет характеризовать ток коллектора в зависимости от изменяющегося коллекторного напряжения. Такую линию называют нагрузочной (динамической) выходной или рабочей характеристикой транзистора. Для ее построения предположим вначале, что транзистор заперт и ток коллектора равен нулю: Iк= =0.
В этом случае напряжение на коллекторе равно напряжению Ек его источника питания, так как падение напряжения на нагрузке Rк отсутствует. На оси напряжений UКэ семейства статических выходных характеристик найдем точку, соответствующую иКэ — Ек. Эту точку нулевого тока обозначим М. Теперь найдем вторую крайнюю точку динамической характеристики из предположения, что напряжение на коллекторе транзистора иKЭ = 0, т. е. транзистор замкнут накоротко. В этом случае ток коллектора Ik=Ek/Rk. В действительности коллекторный ток таким быть не может, так как при нулевом коллекторном напряжении транзистор вообще не работает. Отметим, что теоретический максимальный ток на оси токов семейства статических коллекторных характеристик соответствует точке N. Таким образом, получили две крайние точки динамической выходной характеристики. Остальные точки лежат на прямой, соединяющей их. Так как уравнение Uk=Ek — IkRk — уравнение прямой линии, через точки М и N проведем прямую, которая и есть выходная динамическая характеристика. Если изменить сопротивление нагрузки Rк, например увеличить его до R'K, то ток I'k = Ek/R'k станет меньше Ik = EК/Rk и точка N опустится, а динамическая характеристика наклонится вниз, повернувшись вокруг точки М. При RK — oo коллекторный ток прекратится. Наоборот, если уменьшить Rk, то коллекторный ток увеличится и динамическая характеристика поднимется. Далее находят точки пересечения выходной динамический характеристики со статическими характеристиками при различных токах базы. Затем определяют соответствующие напряжения коллектора UK3 этих точек и строят по характеристике IБ(UКэ) точки динамической входной характеристики (см. рис. 3). Как видно из рис. 3, входная динамическая характеристика нелинейна (хотя и получена с помощью линейной выходной характеристики). Следовательно, во входной цепи усилителя возникают нелинейные искажения, т. е. если синусоидальное напряжение UБЭ входной цепи достаточно велико, то ток IБ будет нелинейным.
Обычно в справочниках не приводят семейства входных статических характеристик для схемы ОЭ и для ОБ. Объясняется это тем, что коллекторное напряжение слабо влияет на входной ток, поэтому обычно ограничиваются двумя входными статическими характеристиками: при UКЭ =0 и 5 В. Если особой точности не требуется, то можно считать, что входная динамическая характеристика совпадает по форме с входной статической характеристикой при UКЭ= =5 В. При этом в действительности искажения в каскаде будут меньше, так как нелинейность входной динамической характеристики меньше нелинейности, входных статических характеристик.
Бели теперь подать на базу транзистора переменное напряжение, то рабочая точка Т будет непрерывно перемещаться по динамической характеристике в соответствии с мгновенными значениями входного напряжения. Если положение рабочей точки, напряжения питания и сам транзистор выбраны неправильно, то могут появиться значительные искажения.

Рис. 5. Схема усилительного транзисторного каскада
На рис. 5 показана принципиальная схема простейшего усилительного каскада при включении транзистора по схеме ОЭ. Каскад содержит два источника питания: Ек — коллекторного напряжения и Еб — напряжения смещения. В реальном усилительном каскаде напряжение смещения получают от источника коллекторного напряжения. Сделаем два опущения. Первое: нагрузка RK каскада одинакова для постоянного и переменного токов. Такое допущение справедливо только в том случае, когда выходное напряжение каскада подается на устройство с очень большим входным сопротивлением. В нашей схеме роль такого сопротивления играет сопротивление резистора Ru переходной цепи, т. е. первое допущение справедливо, если Rn>RK. Однако в реальных условиях роль резистора. Ra играет небольшое входное сопротивление следующего каскада, поэтому нагрузка транзистора для постоянного тока не равна нагрузке для переменного тока. Второе допущение: внутреннее сопротивление источника сигнала будем считать одинаковым для постоянного и переменного токов (хотя в действительности это не так).
Работа усилительного каскада зависит от исходного режима, т.е. от положения рабочей точки Т на характеристиках при отсутствии сигнала (режим по постоянному току) и от амплитуды входного сигнала. Как видно из характеристик на рис. 3 и 4, исходный режим по постоянному току, т. е. исходное положение рабочей точки Т на характеристиках, зависит от напряжения источника смещения Еб, так как именно этим напряжением определяется (при отсутствии входного сигнала) ток базы IБ, а следовательно коллекторный ток Iк и напряжение UКэ. Таким образом, изменяя напряжение смещения на базе Е6, можно установить необходимое исходное положение рабочей точки Т на выходной характеристике транзистора. Каким же должно быть это положение?
Если неправильно выбрать положение рабочей точки Т (рис. 6), то транзистор в процессе усиления будет периодически находиться в режиме насыщения (когда коллекторный ток максимален и не увеличивается, несмотря на продолжающееся увеличение амплитуды входного сигнала), либо в режиме отсечки (когда коллекторный ток минимален из-за запирания транзистора). В обоих случаях усиление сигнала будет происходить со значительными нелинейными искажениями, т. е. форма выходного тока усилительного каскада не будет соответствовать форме входного усиливаемого сигнала. Поэтому положение точки Т на выходной характеристике должно удовлетворять условиям:
|Uкт|> UКэт+UКЭmin; | UКЭT| + UKЭm
Таким образом, выяснив из приведенных соотношений исходное положение точки Т на выходной динамической характеристике, определяют соответствующей этому положению исходный ток базы IБT (см. рис. 4 — для нашего случая IБт = 0,6 мА). Затем, отыскав на входной динамической характеристике точку, соответствующую IБТ, определяют необходимое для создания этого тока напряжение смещения на базе U БЭ (по рис. 3 току IБГ = 0,6 мА необходимо напряжение смещения на базе UБ=0,37 В). Однако надо учитывать и мощностные возможности транзистора.Ведь, произведение напряжения Uкэ ,,, соответствующее точке Т, на ток коллектора Iк г — это мощность Рк, рассеиваемая на транзисторе в состоянии покоя. Она не должна превышать допустимую для данного транзистора Ркmах, иначе он перегреется и выйдет из строя. Поэтому условие для выбора транзистора по мощности: |UKa т|Iкт
K max.

Рис. 6. График работы усилительного транзисторного каскада
НАЛАЖИВАНИЕ КАСКАДОВ ПРЕДВАРИТЕЛЬНОГО УСИЛЕНИЯ
При налаживании маломощных каскадов предварительного усиления измерительные приборы подключают по схеме, показанной на рис. 16. Мощные каскады усилителя лучше заменить резистором Rэкв, иммигрирующим входное сопротивление. Звуковой генератор подключают во входу усилителя через согласующий делитель, который имитирует внутреннее сопротивление источника сигнала звуковой частоты (микрофон, звукосниматель, выходное сопротивление детектора и т. п.). Выходное сопротивление ЗГ, если это предусмотрено конструкцией, тоже подбирают соответствующим образом, поскольку большая чувствительность усилителя вызывает возбуждение из-за паразитной ОС между проводами измерительных приборов, подключаемых к его входу и выходу. Если же эта связь и не приводит к самовозбуждению усилителя, то все равно она вносит значительные погрешности в изменения параметров, так как на входе усилителя будет не только напряжение сигнала ЗГ, но и паразитной ОС, т. е. фактическое напряжение на входе усилителя станет больше предполагаемого.
Рис. 16. Включение измерительных приборов при налаживании и измерении параметров предварительных каскадов УЗЧ
Подключать приборы к входу чувствительного усилителя лучше через аттенюатор — делитель с большим затуханием (например, на 40 дБ, что cсоответствует делению в 100 раз). Его присоединяют непосредственно к входным зажимам (гнездам) усилителя, а провода измерительных приборов — к входу делителя, тогда паразитные наводки попадут на вход усилителя ослабленными в 100 раз. Правда, и напряжение сигнала уменьшится в 100 раз, но это легко компенсировать соответствующим увеличением выходного напряжения ЗГ. Так, если ,на вход усилителя должно поступать номинальное напряжение 5 мВ, то при включении аттенюатора с затуханием 40 дБ выходное напряжение ЗГ надо установить равным 5*100=500 мВ.
Расчет аттенюатора, работающего в высокочастотных цепях, довольно сложен, так как приходится учитывать не только активные, но и реактивные сопротивления.
Для колебаний звуковой частоты он рассчитывается как обычный омический делитель, хотя это непросто, ведь параллельно резистору R2 подключено входное сопротивление усилителя. Поэтому формула для расчета аттенюатора на заданное деление N сигнала принимает вид: N = (R1+ + R2 общ)/R2 общ, где R2 общ=R2Rвх/R2 + Rвх). Сопротивление RBX усилителя измеряют описанным ранее способом. Общее же сопротивление аттенюатора выбирают с учетом согласования его с входным сопротивлением усилителя. Можно обойтись и без входного делителя, тщательно экранируя все соединительные провода, подключаемые к входу и выходу усилителя.
После того как измерительные приборы подключены к каскадам предварительного усиления, проверяют форму сигнала на выходе на трех частотах диапазона (как при налаживании оконечных каскадов). Маломощные транзисторы каскадов предварительного усиления работают в режиме А с малой амплитудой переменной составляющей тока коллектора по сравнению с обратным током (с большим недоиспользованием по току и напряжению), поэтому нелинейные искажения в таких каскадах практически отсутствуют. Проверка формы сигнала нужна лишь для контроля правильности установки режимов транзисторов по постоянному току и исправности самих транзисторов. При оптимальной форме сигнала на вход каскадов усиления подают номинальное входное напряжение частотой 1 кГц; электронным вольтметром измеряют напряжение на базах и коллекторах транзисторов и вычисляют коэффициенты усиления каскадов и всего предварительного усилителя. Если коэффициенты намного ниже нормы, то проверяют режимы работы транзисторов по постоянному току и качество конденсаторов, блокирующих резисторы в эмиттерных цепях транзисторов. Потеря емкости конденсаторами приводит к появлению в каскаде ООС по току, что резко снижает его усиление.
Коэффициенты усиления надо определять на низкочастотном и высокочастотном краях диапазона, и если усиление значительно превышает усиление на частоте 1 кГц, то это признак возникновения частотно-зависимой ООС из-за потери емкости конденсаторами в эмиттерных цепях транзисторов.
НЕМНОГО О ПОЛЕВЫХ ТРАНЗИСТОРАХ
Полевые (униполярные) транзисторы обладают рядом преимуществ перед биполярными, главное -из которых — большое сопротивление входной цепи - управление током в таких транзисторах осуществляется изменением поперечного сечения проводящего канала (поэтому их называют также канальными транзисторами), которое происходит под воздействием разности потенциалов Между затвором и истоком (рис. 12). По конструкции полевые транзисторы бывают с р-n-переходом, а также со структурой металл-окисел-полупроводник. (JylOn-транзисторы) с встроенным или индуцированным каналом. В транзисторах с р-я-переходом и р-каналом на сток надо подавать отрицательное относительно истока напряжение, а на затвор — положительное. Увеличение положительного напряжения на затворе приводит к уменьшению тока стока. На транзисторах с р-n-переходом и N-каналом напряжение на стоке положительное относительно истока, а на затворе — отрицательное. Максимальный ток стока получают при нулевом смещении на затворе, а при увеличении прикладываемого к затвору напряжения (в направлении запирания) ток стока уменьшается. При изменении полярности напряжения на затворе появляется ток затвора и входное сопротивление каскада резко падает. В МОП-транзисторах к затвору можно прикладывать напряжение различной полярности и при этом их входное сопротивление остается высоким. В приборах с индуцированным каналом ток стока возрастает, если к затвору приложено напряжение в направлении возникновения проводящего канала, а со встроенным каналом при одной полярности напряжения на затворе ток стока возрастает, а при другой уменьшается.Надо отметить, что режим работы полевых транзисторов значительно меньше зависит от изменения температуры. Поэтому в тех случаях, когда к стабильности работы усилительного каскада не предъявляется особо жестких требований, можно обойтись схемой автоматического смещения на затворе. Если в схеме (рис. 12) исключить резистор R1, то автоматическое смещение на затворе будет определяться сопротивлением резистора R3. При наличии резистора R1 используется комбинированный способ подачи смещения: фиксированное смещение посредством делителя Rl, R2 плюс автоматическое смещение за счет цепи R3C2. Сопротивления резисторов R1 и R2 могут достилать сотен килоом.

Рис. 12. Принципиальная схема каскада на полевом транзисторе
О СВОЙСТВАХ ТРАНЗИСТОРОВ
Современные электронные усилительные устройства работают на транзисторах и интегральных микросхемах. Аналоговая микросхема представляет собой миниатюрный усилительный каскад или даже усилитель, изготовленный на кристалле размером в несколько квадратных миллиметров. В состав интегральной микросхемы входят десятки и сотни транзисторов, резисторы и конденсаторы. Набор интегральных микросхем весьма обширен, включает в себя усилители звуковой, высокой и промежуточной частот для радиоприемников и телевизоров, различные каскады преобразователей частоты, специальные усилители (дифференциальные и операционные и пр.). Степень интеграции все возрастает, т. е. в одной микросхеме может умещаться все больше каскадов радиоприемника или даже телевизора. Но пока основой распространенных радиолюбительских конструкций остаются транзисторы, часто в сочетании с интегральными микросхемами.Если для нормальной работы микросхемы необходимо лишь обеспечить ей определенные напряжения питания (мы не говорим сейчас о подключении внешних дополнительных элементов и о подборе параметров внешних корректирующих цепей), то транзистор нуждается в правильном выборе режима работы. От этого зависят многие параметры устройства и возникающие при этом искажения усиливаемых сигналов. Особенно это относится к работе мощных транзисторов.
В настоящее время в электронной аппаратуре применяются обычные транзисторы (биполярные) и полевые (униполярные). Биполярные имеют два р-n перехода. Они могут включаться по схеме с общей базой (ОБ), с общим эмиттером (ОЭ) или общим коллектором (ОК) (рис. 1).

Рис. 1. Принципиальные схемы включения транзисторов:
в — с общей базой; б — с общим эмиттером; в — с общим коллектором (эмиттерный повторитель)
В схеме включения ОБ (рис. 1,а) входным электродом является эмиттер, а выходным — коллектор. Входное сопротивление транзистора невелико (десятки ом), так как эмиттерный р-n переход включен в прямом направлении, выходное — большое, поскольку коллекторный переход смещен в обратном направлении.
Такое сочетание входного и выходного сопротивлений неудобно для создания многокаскадных усилителей: трудно согласовать большое выходное сопротивление предыдущего с малым входным сопротивлением последующего каскада.

Рис. 2. Структурная схема транзистора р-n-р типа
Из рис. 2 видно, что входным является ток эмиттера IЭ. Часть его ответвляется в базу, образуя ток базы IБ, а другая — ток коллектора Iк. Таким образом, полезный управляемый ток коллектора, протекающий через нагрузку, составляет только часть входного тока эмиттера: Iк=Iэ — IБ, т. е. коэффициент передачи тока h21Э<1. Причем, чем ближе значение h21Э к единице, тем выше качество транзисторов. У высококачественных транзисторов h21Э = 0,95 — 0,99.
Следует отметить, что не весь ток коллектора Iк управляем. Если разорвать цепь эмиттера, то ток коллектора не исчезнет, а только значительно уменьшится и к тому же изменит направление. Такой ток называется обратным током коллектора IKБО. Он почти не зависит от напряжения на коллекторном переходе UKБ, но зависит от температуры перехода. Чем меньше обратный ток коллектора IKБO, тем выше качество транзистора.
Если включить транзистор по схеме 03 (рис. 1,6), то его коэффициент передачи тока равен приращению выходного тока коллектора ДIк к вызвавшему его приращению тока базы ДIБ. Следовательно ДIк/ДIБ=h21э что составляет девятки и даже сотни единиц.
Значительно увеличивается (до сотен и тысяч ом) при включении транзистора по схеме ОЭ и входное сопротивление каскада, поскольку теперь входным является незначительный ток базы. Большое входное сопротивление удобно для согласования транзистора с предыдущим каскадом, так как в этом случае транзистор меньше шунтирует его. Поэтому включение транзистора по схеме ОЭ — это основная схема использования транзистора в усилительных каскадах. Схема включения ОБ применяется чаще всего в каскадах с двумя транзисторами.
При включении транзистора по схеме (Ж (рис. 1,в) входным является ток базы, поэтому транзистор имеет достаточно большое входное сопротивление.
Выходное сопротивление такого каскада мало, так как нагрузка включена в эмиттерную цепь, а переход включен в прямом направлении. Такая схема включения называется эмиттерным повторителем. Достоинство его состоит в том, что ток в эмиттерной нагрузке по фазе и полярности совпадает с входным током базы. В отношении же коэффициента передачи тока схема ОК. не уступает схеме ОЭ: ДIЭ/ДIБ=1+h21Э.
Статический коэффициент передачи тока h21Э характеризует работу транзистора на постоянном токе. При работе транзистора в режиме усиления переменных электрических сигналов его усилительная способность в схеме ОЭ оценивается коэффициентом h21э, который тоже представляет собой отношение изменения выходного тока к вызвавшему его изменению входного тока и называется коэффициентом передачи тока; в режиме малого сигнала.
Коэффициенты передачи тока зависят от токов и напряжений на электродах транзисторов. Обычно коэффициент передачи тока достигает максимума при некотором среднем токе эмиттера; именно это значение тока указывают в справочниках как рекомендуемое для измерения коэффициента передачи тока. Зависимость коэффициента передачи тока от коллекторного напряжения становится заметной только при очень малых или очень больших коллекторных напряжениях, но в таких режимах транзисторы не используются, особенно при максимальных коллекторных напряжениях, так как велика опасность пробоя перехода.
Многие радиолюбители стремятся создать аппаратуру,
Многие радиолюбители стремятся создать аппаратуру, которая по качественным показателям не уступает серийной, а в отдельных случаях и превосходит ее. Выбрав, казалось бы, оправданную и качественную схему устройства, собрав ее, убеждаешься, что устройство работает значительно ниже своих возможностей.Дело в наладке, т. е. в том, правильно ли выдержаны режимы работы усилительных элементов, например, транзисторов, тщательно ли настроены колебательные контуры, верно ли подобраны коэффициенты усиления отдельны» каскадов. Конечно, совершенство электронной схемы радиоприемника или усилителя играет очень важную роль, но работа определяется, в первую очередь, качеством наладки. И можно быть уверенным, что простой по своей принципиальной схеме, но хорошо отлаженный радиоприемник будет работать куда лучше, чем собранный по сложной и совершенной схеме, но налаженный небрежно и неумело.
Эта книга и рассказывает о налаживании радиоприемника. Но надо особо подчеркнуть, что наладить современный транзисторный радиоприемник по существу невозможно без применения измерительных приборов. В самом деле, кш определить режим работы транзистора, настройку колебательных контуров, проверить чувствительность радиоприемника? Только при помощи измерений напряжений, токов, наблюдения формы колебаний, измерений их частоты. А для этого надо уметь пользоваться измерительной аппаратурой, знать правила подключения ее к анализируемому электронному устройству. Обо всем этом тоже рассказано в книге.
Наконец, надо иметь представление о параметрах радиоприемника в целому. Это необходимо для того, чтобы оценить работу уже готового и налаженного радиоприемника. Ведь понятие «хорошо работающий радиоприемник» еще мала о чем говорит. Нужно сравнить параметры его работы с эталонными, т. е. определенными ГОСТом. Для этого надо измерить его чувствительность, селективность, вносимые искажения. И тогда вы определите класс вашего радиоприемника и количественно оцените качество его работы. А значит, и «класс» вашей работы, ваших знании и умения.
Итак, эта книга о том, как собранное электронное устройство превратите» & хорошо работающий супергетеродинный радиоприемник. Поверьте, это один из самых увлекательных моментов в творчестве радиолюбителя.
Отзывы о книге следует направлять по адресу: 101000, Москва, Почтамп, а/я 693, издательство «Радио и связь», Массовая радио библиотека.
Автор
ПРОВЕРКА УСИЛИТЕЛЯ НА УСТОЙЧИВОСТЬ
Связь между каскадами после их раздельного налаживания восстанавливают, соединяя каскады в единый УЗЧ. При этом усилитель может самовозбудиться. На экране осциллографа, подключенного к выходу усилителя (см. рис. 14), возникают периодические колебания даже при отсутствии входного сигнала. Самовозбуждение возможно и только при наличии входного сигнала осциллограмма имеет вид, показанный на рис. 15,е). Частота самовозбуждения может быть равна частоте сигнала, тогда форма основного колебания будет сильно искажаться из-за больших ограничений в каскадах усиления. Наконец, усилитель может быть на пороге самовозбуждения — осциллограмма покажет некоторое искажение формы сигнала, а усиление по диапазону частот будет неравномерным.Причины самовозбуждения — паразитные связи между различными участками и цепями усилителя. На низких частотах их источником может быть общий источник питания (из-за пониженной емкости конденсаторов фильтров развязок). На высоких частотах самовозбуждение возникает даже при незначительной связи между двумя — тремя цепями. Паразитные связи бывают положительные — напряжение ОС совпадает по фазе с усиливаемым сигналом, что способствует повышению усиления, и отрицательные — фаза их напряжения не совпадает с фазой полезного сигнала, что приводит к снижению усиления, но это не значит, что они безвредны. Дело в том, что положительные и отрицательные ОС на одних частотах не проявляют себя, а на других усиливаются, создавая неравномерность усиления по частотному диапазону, т. е. частотная характеристика усилителя становится неравномерной. Кроме того, знак ОС может изменяться — это тоже результат их зависимости от частоты. Поэтому в процессе налаживания усилителя необходимо выявлять и устранять как положительные, так и отрицательные ОС.
Таким образом, даже при неискаженной форме синусоидального сигнала какой-либо одной частоты нельзя считать, что усилитель не самовоабуждается. Убедиться в этом можно, лишь сняв его частотную характеристику при малом, среднем и максимальном усилении.
Если форма частотной характеристики не зависит или почти не зависит от уровня усиления, то самовозбуждения в усилителе нет, если же она значительно изменяется при регулировке усиления (возникают пики и провалы), то это свидетельствует о том, что усилитель находится на пороге самовозбуждения. В этом случае надо выявить цепи и детали, являющиеся причиной паразитных наводок, причем таких цепей в усилителе может быть .несколько. Так, если в усилителе имеется микрофонный трансформатор очень чувствительный к паразитным наводкам, то естественно предположить, что именно он является «приемникам» сигнала! ОС. Для проверки замыкают накоротко его первичную обмотку. Самовозбуждение прекращается, если этот трансформатор был причиной самовозбуждения. Если в усилителе есть еще хотя бы одна цепь паразитной наводки, то замыкание первичной обмотки микрофонного трансформатора в лучшем случае уменьшит интенсивность самовозбуждения или изменит ее частоту. Этого можно не заметить на экране осциллографа и ошибочно исключить влияние трансформатора при поиске других причин. Поэтому напряжение паразитных наводок нужно измерять в различных точках усилителя, рассуждая при этом следующим образом.
Основной источник паразитного сигнала — мощный каскад усилителя и если его отключить, то, как правило, каскады предварительного усиления не возбуждаются. Самовозбуждение усилителя происходит лишь тогда, когда часть напряжения с его выхода попадает на вход каскадов предварительного усиления. Поэтому выходной каскад отключают от каскадов предварительного усиления, на его вход подают сигнал от ЗГ, а выход нагружают эквивалентом нагрузки. Выход предварительных каскадов усилителя нагружают на резистор, эквивалентный входному сопротивлению отключенного мощного выходного каскада. Включают питание усилителя, регулировкой выходного сигнала ЗГ устанавливают номинальную мощность каскада а измеряют электронным вольтметром напряжение паразитных наводок в различных участках усилителя: на входе первого и входах других каскадов предварительного усиления, на элементах развязок и т.п. Одновременно изменяют частоту ЗГ и, наблюдал как это изменение отражается на уровне наводок, выявляют частоту, на которой усилитель склонен к самовозбуждению.
Такие измерения подскажут, где следует искать причину паразитной связи. Например при замыкании накоротко первичной обмотки входного трансформатора сразу снижается уровень паразитных наводок, что свидетельствует о «виновности» трансформатора. Таким способом можно отыскать все цепи паразитных наводок и количественно оценить влияние каждой. К сожалению, полностью устранить наводки обычно не удается, малый же их уровень (до 10% минимального уровня полезного сигнала) не вызывает самовозбуждения и даже не сказывается на форме частотной характеристики усилителя.
Пример 1: Определить отношение напряжений
|
Децибелы |
Отношение I2/I1 (U2/U1) |
Децибелы |
Отношение I2/I1 (U2/U1) |
|
2 |
1,259 |
20 |
10,00 |
|
3 |
1,413 |
25 |
17,78 |
|
4 |
1,585 |
30 |
31,62 |
|
5 |
1,778 |
35 |
56,23 |
|
6 |
1,995 |
40 |
100,00 |
|
7 |
2,239 |
45 |
177,8 |
|
8 |
2,512 |
50 |
316,2 |
|
9 |
2,818 |
55 |
562,3 |
|
10 |
3,162 |
60 |
1000,0 |
|
Децибелы |
Отношение I1/I2 (U1IU2) |
Деци- белы |
Отношение I1/I2 (U1IU2) |
|
— 2 |
0,7943 |
— 20 |
0,1000 |
|
— 3 |
0,7079 |
— 25 |
0,0562 |
|
— 4 |
0,6310 |
— 30 |
0,0316 |
|
— 5 |
0,5623 |
— 35 |
0,0178 |
|
— 6 |
0,5012 |
— 40 |
0,0100 |
|
— 7 |
0,4467 |
— 45 |
0,0056 |
|
— 8 |
0,3981 |
— 50 |
0,0032 |
|
— 9 |
0,3548 |
— 55 |
0,0018 |
|
— 10 |
0,3162 |
— 60 |
0,0010 |
Пример 1: Определить отношение напряжений для 18 дБ. Для этого, учитывая правило логарифмирования, имеем: 18 дБ=10 дБ+8 дБ. Из табл. 4 находим: 10 дБ=3,162; 8 дБ = 2,512. Тогда 18 дБ соответствуют отношению 3,162-2,512 = 7,943.
Пример 2: Найти отношение напряжений (или токов), соответствующее 110 дБ. Представим ПО дБ в виде суммы: 110 дБ = 50 дБ+50 дБ+10 дБ. Следовательно, отношение U2/U1 = 316,2*316,2*3,162=316200.
Но в децибелах можно выражать не только превышение одного напряжения (или тока) над другим, но и ослабления напряжений (или токов). Именно так обстоит дело при пользовании выходным делителем, градуированным в децибелах.
Пользуясь табл. 5, можно подсчитать значение выходного напряжения в милливольтах при любом положении ручек делителя. Обычно таких ручек две: одна управляет делителем, создающим ослабление ступенями через 10 дБ, а другая — ступенями через 1 дБ. Тогда общее ослабление равно сумме показаний этих ручек.
ББК 32.849
С 54
УДК 621.372.55
Редакционная коллегия:
Б. Г. Белкин, С. А. Бирюков, В. Г. Борисов, В. М. Бондаренко, Е. Н. Геништа, А. В. Гороховский, С. А. Ельяшкевич, И. П. Жеребцов, В. Г. Корольков, В.
Т. Поляков, А. Д. Смирнов, Ф. И. Тарасов, О. Ф. Фролов, Ю. Л. Хотунцев, Н. И. Чистяков
Рецензент канд. техн. наук Е. А. Богатырев
Соболевский А. Г.
54 Почему появились искажения? — 2-е изд., перераб. и доп. — М.: Радио и связь, 1985. — 104 с, ил. — (Массовая радиобиблиотека; Вып. 1086).
60 к. 100 000 экз.
Рассказано о причинах появления различных искажений в работе современного супергетеродинного радиоприемника: свистов, самопроизвольного изменения настройки, плохой селективности, малой чувствительности, искаженного звучания радиопередачи, а также о том, как добиться улучшения качества его работы. В отличие от первого издания (1969 г.) значительно расширен материал о работе транзисторных схем и их налаживании.
Для широкого круга радиолюбителей.
2402020000 — 062
С---------------38 — 85
046(01) — 85
ББК 32.849 6Ф29
АНАТОЛИЙ ГЕОРГИЕВИЧ СОБОЛЕВСКИЙ
ПОЧЕМУ ПОЯВИЛИСЬ ИСКАЖЕНИЯ?
Редактор издательства Н. В. Ефимова
Художественный редактор Н. С. Шеин
Обложка художника В. Я.Виганта
Технический редактор И. Л. Ткаченко
Корректор И. Г. 3ыкова ИБ № 333
Сдано в набор 01.11.84 Подписано в печать 29.12.84 Т-24035 Формат 60X90/16 Бумага типогр. № 2 Гарнитура литературная Печать высокая Усл. печ. л. 6,5 Усл. кр.-отт. 6,875 Уч.-изд. л. 8,31 Тираж 100 000 экз. (2-й завод: 50 001 экз.—100 000) Изд. № 20213 Зак. № 112 Цена 60 к.
ТЕМПЕРАТУРНАЯ НЕСТАБИЛЬНОСТЬ
Итак, мы убедились в необходимости достаточно обоснованного выбора положения работай точки маломощных и, особенно, мощных транзисторов. Но, если не принять специальных мер, то положение этой точки на характеристике самопроизвольно изменится при работе транзистора в результате изменения температуры окружающей среды и нагревания самого транзистора проходящими через него токами.В цепи коллектора протекает обратный ток IкБо, который зависит от температуры: при повышении температуры на каждые 10° С ток IKБO германиевого транзистора удваивается, а у кремниевых IKБO изменяется в 2,5 раза (правда, по значению этот ток значительно меньше, чем у германиевого транзистора, поэтому кремниевые более температуроустойчивы). Сам по себе ток IКБО незначителен; у маломощных транзисторов он составляет микроамперы, но от него зависит ток коллектора Iк = Iкбо(h21э + 1) Например, если ток IКбо при 20° С составляет 5 мкА, то при 40° С, а это обычная температура внутри работающего транзистора, он возрастает до 20 мкА. И хотя увеличение тока на 16 мкА — это очень мало, ток коллектора изменится (при й31Э= = 25) на ДIк=ДIКБО(h21Э + 1) = 15(25+1) =390 мкА, т. е. почти на 0,4 мА, а это уже заметно, так как рабочий ток коллектора составляет 1 imA.

Рис. 10. Токи и напряжения в транзисторном усилительном каскаде
Увеличение тока коллектора приводит к уменьшению тока базы, поскольку ток базы IБ равен разности токов эмиттера и коллектора. Изменение же тока базы приводит к изменению напряжения на базе, а даже незначительное изменение напряжения база — эмиттер приводит к значительным изменениям токов транзистора. Отсюда понятна зависимость режима работы транзистора от температурного изменения обратного тока коллектора IКБО. Для уменьшения этой зависимости необходимо снизить влияние изменения тока базы на значение напряжения на базе. Если увеличить ток делителя Iд в цепи базы (рис. 10), то уменьшится зависимость напряжений U± и Uz от тока базы IБ.
Но для этого придется уменьшить сопротивление резисторов R1 и R2, что приведет к увеличению потребления энергии от источника питания и уменьшению входного сопротивления каскада, так как эти резисторы шунтируют цепь базы транзистора. Поэтому на практике ток делителя Iд для маломощных каскадов выбирают из условия: Iд>(5-10)IБ, а для мощных каскадов: Iд>(1-5)IБ. Чтобы не ухудшать КПД каскада, ток Iд выбирают не более 10 — 15% тока коллектора.
Более действенный способ борьбы с температурной нестабильностью транзисторного каскада — включение в эмиттерную цепь резистора R3. При изменении токов Iк и IБ происходит изменение и тока эмиттера Iд. При увеличении тока Iэ увеличивается и падение напряжения IэRэ на резисторе RЭ, вследствие чего напряжение между базой и эмиттерам транзистора UБЭ = = — IДR2 + Uэ становится менее отрицательным, что препятствует дальнейшему увеличению тока IЭ. Таким образом в цепи RЭCЭ создается напряжение только за счет постоянной составляющей эмиттерного тока I3, которая зависит от температуры транзистора. С повышением температуры ток эмиттера возрастает, в результате увеличивается напряжение в цепи RЭC3. Но это приводит к уменьшению напряжения между базой и эмиттером транзистора, что сдерживает рост эмиттерного тока. В этом и заключается метод температурной стабилизации режима каскада за счет ООС по постоянному току. Чем ниже граничная усиливаемая частота, тем больше должна быть емкость конденсатора Сэ. На практике в усилителе звуковых частот она должна быть не менее 500 — 1000 мкФ в маломощных каскадах предварительного усиления и 1500 — 2000 мкФ в оконечных трансформаторных мощных каскадах.
Из рис. 10 следует, что чем больше сопротивление резистора R3, тем эффективнее ООС по току и лучше стабилизация. Однако увеличение сопротивления резистора R3 требует увеличения напряжения питания Ек: U Кэ= = — Ek+IkRk+I3RЭ. Падение напряжения на резисторе RB не должно превышать значения U3 = (0,1 — 0,2)EK, тогда Rэ= (0,1 — 0,2)EK/Iэ.
Из этого условия выбирают сопротивление резистора Ra.
Сопротивления резисторов делителя базовой цепи (с учетом рассмотренных условий) можно рассчитать по формулам:

Применяют и другие схемы температурной стабилизации режима (рис.11). Они обеспечивают меньшую стабилизацию, чем схема на рис. 10, но более экономичны в отношении источника питания (так как через резистор R1 протекает только небольшой ток базы). Кроме того они меньше шунтируют входное сопротивление транзистора, а значит, входное сопротивление таких каскадов выше, чем каскада, работающего по схеме на рис. 10. Наконец, для них требуется меньше деталей, что тоже немаловажно.

Рис. 11. Схема каскада с фиксированным током базы (а) и схема усилительного каскада с ООС по коллекторному напряжению (б)
Сопротивление резистора R1 в схеме на рис. 11,a можно подсчитать по формуле R1~EK/IB, а на рис. 11,6 R1=UКЭ/IБ.