Телефония (часть 2)
АДАПТАЦИЯ ИМПОРТНЫХ ТЕЛЕФОНОВ
 |
В "РЛ" N6/92 г., в рекомендациях П.Михайлова под заголовком "Как адаптировать импортный телефон", говорилось о защите зарубежных телефонов-трубок от "бросков тока" в отечественных телефонных линиях — с помощью пары резисторов, включаемых между розеткой и аппаратом. Однако, на мой взгляд, автор этой рекомендации не совсем прав, утверждая, что "неженки-трубки" выходят из строя из-за перегрузки по току. Отказывают они от перегрузки по напряжению, поскольку при наборе номера транзисторы в телефоне на период бестокового импульса запираются, падения напряжения в линии нет, и между коллектором и эмиттером закрытых транзисторов появляется полное напряжение линии АТС — шестьдесят с лишним вольт! А импортные "неженки" рассчитаны, как известно, на 48 вольт. Предлагаю при переделке, с целью защиты телефона от перегрузки, в разрыв одного из проводов линии включать стабилитрон на напряжение стабилизации 12-18 В, рассчитанный на ток до 60 мА. Лучше всего для этого подходят стабилитроны типа Д815. В разрыв одного из проводов непосредственно в телефонной розетке необходимо включить два стабилитрона, как показано на рис.1. В зависимости от полярности включения, один из стабилитронов работает как обычный диод, а второй "отнимает" у линии "лишние" 12-18 вольт. При этом переменная составляющая (разговорные токи) ослабляться не будет, т.к. динамическое сопротивление стабилитрона мало. |
А.САФТЮК (U05SA), инженер.
Примечание редакции Несомненно, главной причиной выхода из строя импортных телефонов является воздействие повышенного напряжения в телефонной сети. Из-за удаленности абонентов от АТС и применения в линиях кабеля с более тонким сечением, у нас было принято за стандарт напряжение 60 вольт, а не 48, как за рубежом. Хотя наиболее опасно для микросхем в импортных аппаратах не это напряжение, а переменное напряжение индукторного вызова телефонной станции, которое достигает порой 100 и более вольт. Вот почему первым и главным способом защиты для владельцев импортных телефонов должно стать условие: не снимать трубку в момент звонка, необходимо обязательно дождаться паузы.
Особенно это касается звонков перед междугородней связью, когда индукторные посылки гораздо длиннее. Для надежной защиты разговорной схемы от пробоя высоким напряжением необходимо установить за диодным мостом аппарата стабилитрон с напряжением стабилизации 60-80 В, как показано в схеме на рис.2. Если стабилитрон будет на напряжение менее 60 В, то при наборе номера он будет шунтировать линию, и набор станет невозможным. С другой стороны, чем более высокое напряжение стабилизации VD1, тем менее эффективной получается защита. Стабилитрон необходимо подключать за диодным мостом, но непременно после рычажного переключателя, иначе к Вам никто не дозвонится — после первой посылки вьоова абонент услышит короткие гудки. Кстати, подобная схема с включением стабилитрона применяется заводами-изготовителями и в некоторых отечественных телефонных аппаратах. Иногда для защиты импортной микросхемы от пробоя применяется и такой эффективный способ защиты: к импульсному входу микросхемы ИК (у большинства импортных микросхем это вывод 9, у HM9100Bv, WE9192B — 16, у KS5805A, НМ9100А и TR50981AN — 18) подключается стабилитрон с напряжением стабилизации 10-12 В. Схема подключения показана на рис.3.
Стабилитрон будет ограничивать напряжение на этом выводе микросхемы. Однако его нельзя выбирать с напряжением стабилизации менее 8 В, так как схема не будет работать.
Адаптер автозаписи телефонных сообщений
Заменяя вышедший из строя телефонный аппарат с автоматическим определителем номера (АОН), выполненный на базе микропроцессора Z80, на современный, я обратил внимание на то, что все АОНы, изготовленные по технологии Intel, не содержат порта управления магнитофоном. В отличие от старых моделей, они рассчитаны на использование только цифрового автоответчика, стоимость которого почти равна стоимости всего аппарата с АОН. Не желая отказываться от использования магнитофона в качестве автоответчика, я решил собрать одно из устройств автоматического включения магнитофона при автоподнятии трубки АОНом [1-3]. Однако эти устройства имеют один существенный недостаток. Они срабатывают при подъеме трубки, подключая магнитофон на запись как при входящих, так и при исходящих вызовах. Это требует обязательного отключения магнитофона при необходимости куда-нибудь позвонить. Предлагаю простое устройство для автоматического включения в сеть магнитофона для записи поступивших сообщений. Устройство предназначено для работы на одной линии с АОН, выдающим абоненту в режиме автоответчика какую-либо стандартную фразу, например: "Работает автоответчик. Говорите после сигнала...". При этом устройство полностью автономно и не требует вмешательства в телефонный аппарат. Схема адаптера для автозаписи поступающих телефонных сообщений представлена на рис.1. Напряжение из телефонной линии (при опущенной трубке - 60 В) через резисторы R1, R2 и диодный мост (VD1 ...VD4) понижается стабилитроном VD5 до напряжения питания и заряжает конденсатор СЗ. При этом на выводах 1 и 2 элемента DD1.1 - логический "О", а на выходе 3 - логическая "1". Таким образом, на выводах 5 и 6 DD1.2 - также "1", а на выходе 4 - "0", который через буферные элементы DD1.3 и DD1.4 подается на управляющий контакт разъема XS1.

Рис.1. Принципиальная схема адаптера для автозаписи поступающих телефонных сообщений
Поступающий из телефонной линии через резистор R4 звонок с напряжением 60...90 В выпрямляется выпрямителем с удвоением напряжения на диодах VD7, VD8 и конденсаторе С4. Вызывное напряжение понижается стабилитроном VD9 до напряжения питания и заряжает конденсатор С5. На выходе 3 элемента DD1.1 формируется низкий логический уровень, который через переключатель SA1 поступает на вход 6 элемента DD1.2. При этом открывается транзистор VT1, и загорается светодиод индикации вызова HL2. После того как АОН "поднимет" трубку, напряжение в линии упадет до 9...12 В, и стабилитрон VD5 закроется. Начинается разряд конденсатора СЗ через резистор R3. При достижении на выводе 5 DD1.2 низкого уровня, на выходе 4 появляется логическая "1", которая переключает элементы DD1.3, DD1.4 и подает управляющее напряжение высокого уровня через разъем XS1 на узел включения магнитофона. Конденсатор СЗ и резистор R3 обеспечивают задержку включения магнитофона, необходимую для исключения ложных срабатываний при наборе номера и записи на магнитофон фразы, выдаваемой абоненту АОНом. Сигнал на линейный вход магнитофона подается через конденсатор С2 и регулируемый резистивный делитель R7-R8. Диоды VD12, VD13 защищают линейный вход магнитофона, понижая вызывное напряжение до безопасного уровня. Как только абонент на другом конце провода положит трубку, короткие сигналы "занято" заставят АОН снять удержание линии, и напряжение в ней вновь вернется к первоначальному уровню (60 В), обеспечивая появление на входе 5 элемента DD1.2 высокого уровня и его переключение в исходное состояние. В случае, если по каким-либо причинам абонент или АОН не "положат" трубку в течение нескольких минут, продолжительность записи будет ограничена временем разряда конденсатора С5 через резистор R6. Диод VD10 служит для исключения шунтирующего влияния нагрузочного резистора R5 при разряде конденсатора С5 через резистор R6. Диоды VD11 и VD6 стабилизируют уровень зарядного напряжения на конденсаторах СЗ и С5, обеспечивая таким образом постоянство временных интервалов срабатывания устройства.
Переключателем SA1 можно отключить узел блокировки записи исходящих вызовов, если возникнет необходимость записи всех разговоров. Светодиод HL2 по-прежнему будет индицировать поступающие звонки. Для успешной работы с предлагаемым устройством, магнитофон должен быть доработан. Автором использовался магнитофон-приставка "Радиотехника МП-7301". В магнитофон был вмонтирован узел управления, собранный по стандартной схеме [4]. Поступающее через разъем XS1 напряжение высокого уровня через тиристорный оптрон VU1 открывает тиристор VS1, замыкающий диагонали диодного моста VD15, подключенного параллельно сетевому выключателю магнитофона. Контакт сетевого выключателя магнитофона должен быть замкнут перемычкой Е1. Магнитофон, предварительно установленный на запись (установлена кассета, отрегулирован уровень записи, нажаты клавиши "Воспроизведение" и "Запись") включается по сигналу вызова и начинает записывать информацию, поступающую из телефонной сети. Если магнитофон снабжен автостопом, то в режиме записи он должен быть заблокирован, так как при отключении от сети после записи первого сообщения, автостоп отключит клавиши записи и воспроизведения, и следующее сообщение уже не запишется. Для этого в магнитофон устанавливается дополнительная кнопка (например, от микропереключателя КМ1), которая при нажатии на клавишу "Запись" отключает обмотку электромагнита автостопа. Во всех остальных режимах автостоп должен работать в обычном режиме. В адаптере использована широко распространенная микросхема К561ЛЕ5. Почти все экземпляры микросхем этой серии хорошо работают при пониженном напряжении питания. Напряжение питания 5 В выбрано для работы устройства от источника питания АОНа или от маломощного блока питания, например, для калькулятора. В схеме может быть применена аналогичная микросхема серии К176, однако при этом напряжение питания должно быть увеличено до 9 В, что приведет к изменению номиналов элементов времязадающих цепей, резисторов R10 и R11, стабилитронов VD5 и VD9.
В качестве диодов выпрямительного моста VD1...VD4 могут быть использованы любые выпрямительные диоды с допустимым обратным напряжением не ниже 100 В или диодные сборки. Автор применил диодную микросборку КД906А. Диоды VD6, VD10...VD14 могут быть заменены на любые кремниевые. Транзистор VT1 также может быть заменен любым соответствующей проводимости, например, КТ209, КТ321, КТ326, КТ343, КТ3107 и т.п. Тиристор VS1 подойдет КУ201К, КУ202К...Н. Выпрямительная диодная сборка VD15 заменяется на КЦ402А...Г, КЦ405А...Г или собирается на диодах КД226В...Д, КД258Б...Д. Рабочее напряжение разделительных конденсаторов С1, С2, С4 должно быть не менее 100 В. В качестве разъема XS1 автором использован миниатюрный разъем "джек" (для подключения стереотелефонов), соединенный экранированным стереошнуром с гнездом линейного входа магнитофона. Один из контактов линейного входа (без отключения от схемы, т.к. вход магнитофона имеет разделительный конденсатор) использован для подачи управляющего напряжения на блок включения магнитофона. Адаптер собирается на плате, размеры которой зависят от типа применяемых радиоэлементов, и может быть размещен в любом подходящем корпусе или непосредственно в корпусе телефонного аппарата. Значения номиналов элементов времязадающих цепей в большой степени зависят от параметров телефонной линии. Сначала необходимо убедиться в исправной работе узла включения магнитофона, подавая на диод VD14 положительное напряжение 3...5 В. Затем адаптер подключается к магнитофону и к телефонной сети, а переключатель SA1 устанавливается в нижнее по схеме положение. Напряжение на конденсаторе СЗ должно быть примерно равно напряжению питания. Поднятие трубки на телефонном аппарате должно привести к постепенному разряду конденсатора СЗ и включению магнитофона. Возврат трубки на рычаг должен вызвать одновременное отключение магнитофона. Если при подъеме трубки магнитофон не включается, то заменяют стабилитрон VD5 на стабилитрон с большим напряжением стабилизации или добавляют последовательно еще один стабилитрон. Если магнитофон включен всегда или включается и не выключается при опускании трубки, то значение напряжения стабилизации VD5 слишком велико, или слишком большое сопротивление резистора R3 не обеспечивает минимальный ток его стабилизации.
В этом случае величину R3 следует уменьшить до 500...620 кОм. Время задержки включения магнитофона определяется подбором величины емкости конденсатора СЗ таким образом, чтобы запись начиналась сразу после "проговаривания" АОНом фразы "...Говорите после сигнала". Настройку узла селекции входящих звонков и продолжительности записи лучше производить после замера параметров вызывного сигнала с помощью имитатора в виде понижающего сетевого трансформатора с выходным напряжением 60...90 В. Это напряжение подают кратковременно на вход устройства. Замеряют падение напряжения на стабилитроне VD9, которое должно быть равно напряжению его стабилизации. Подбирая величину R4 и тип стабилитрона, добиваются четкого переключения DD1.1, о котором судят по зажиганию светодиода HL2. В случае переключения DD1.1 от импульсов, возникающих при наборе номера или опускании трубки, следует включить последовательно с резистором R3 конденсатор емкостью 0,1-1 мкФ с рабочим напряжением не менее 100 В, или включить нижний конец резистора R4 между С2 и R7. Подбором емкости С5 или сопротивления R6 устанавливают максимальное время записи информации (2...3 минуты). Резистором R8 устанавливают такой уровень сигнала телефонной линии, при котором на магнитофоне обеспечивается нормальный уровень записи, а фон переменного тока не снижает качества информации. Схема адаптера может быть изменена так, что он, помимо подключения магнитофона, будет исполнять роль индикатора состояния линии. Схема изменений для этого случая представлена на рис.2.

Рис.2. Принципиальная схема изменений для адаптера с индикатором состояния линии
Описанный адаптер ежедневно эксплуатируется уже более года. Сбоев, отказов, изменения интервалов задержек за все это время отмечено не было.
Источники
Петрунь В. Автоматическая запись телефонных разговоров. - Радиолюбитель, 1993, N2, С.20. Шустов М. Адаптеры для автозаписи информации. - Радиолюбитель, 1998, N8, С.22. Мартынюк Н.Телефонный автоответчик. - Радиолюбитель, 1999, N1, С.26. Рошаль Г. Подключение магнитофона к телефонному серверу. - Радиолюбитель, 1994, N2, С.31.
Автор: С.НИКОЛАЕНКО, г.Воронеж.
БЛОКИРАТОР СО СВЕТОВОЙ ИНДИКАЦИЕЙ
Блокиратор, разработанный Меркуловым [1], который хорошо зарекомендовал себя в работе, я предлагаю дополнить светодиодными индикаторами (VD1 и VD2). Теперь абоненты параллельных телефонов видят, свободна ли линия и не мешают ли они друг другу. Другим достоинством предлагаемой доработки
является то, что при наборе номера нет "подзвонки" на другом телефоне. Литература
1. Меркулов А. Телефонный квазиблокиратор. — Радиолюбитель, 1994.N9.C.26. А.БЕЛЫЙ, 343400, Украина, Донецкая обл., г.Артемовск, а/я 43.(РЛ 12/98)
БЛОКИРОВКА ПАРАЛЛЕЛЬНОГО ТЕЛЕФОНА
А.ДОМАНЧУК, г.Бобруйск.
При отсутствии свободных номеров на АТС, можно установить параллельный телефон. Данный вопрос легко решается предприятием связи с согласия основного абонента, но возникает возможность прослушивания абонентами друг друга. Этого можно избежать, если применить предлагаемый блокиратор. Прибор сделан на основе промышленного блокиратора спаренного абонентского комплекта (САКа) АТСК 50/200, АТСК 100/2000.
Преимущества данной схемы: - полярность подключения телефонной линии не имеет значения; - если один из абонентов снял трубку с телефонного аппарата и приступил к набору номера, другой абонент не может занять линию; - устройство не боится перенапряжения в линии (гроз), так как не содержит полупроводниковых приборов, что особенно актуально для сельских телефонных сетей. Рассмотрим порядок работы блокиратора в различных режимах. Исходящая связь. Пусть абонент 1 первым снял трубку телефонного аппарата. Образуется цепь: клемма 3 - контакты реле К2.1 - катушка реле К1 - телефонный аппарат абонента 1 - контакты реле К2.2 - клемма 4. При этом срабатывает реле К1 и своими контактами отключает абонента 2 от телефонной линии. Когда же абонент 1 набирает номер, реле К1 не успевает срабатывать во время кратковременного размыкания шлейфа импульсным контактом телефонного аппарата абонента 1. После разговора абонент 1 кладет трубку телефонного аппарата, реле К1 отпускает, и схема переходит в исходное состояние. Порядок работы для абонента 2 аналогичен, только срабатывает реле К2 и отключает абонента 1. Входящая связь. При поступлении вызова с линии реле К1 и К2 не срабатывают, так как они зашунтированы конденсаторами С1 и С2. Звенит звонок в телефонных аппаратах обоих абонентов. Если первым поднял трубку телефонного аппарата абонент 1, то срабатывает реле К1 и своими контактами отключает абонента 2 от линии. Если первым поднял трубку абонент 2, аналогично срабатывает реле К2 и отключает абонента 1 от линии. После окончания разговора, когда абонент кладет трубку телефонного аппарата, отпускает соответствующее реле, и схема переходит в исходное состояние. Реле К1 и К2 - из промышленного блокиратора АТСК 50/200 (АТСК 100/2000). Но эти реле можно изготовить самостоятельно, взяв за основу любое, реле типа РПН с размыкающимися контактами. Стандартное реле имеет 2 обмотки. Обмотку 1-2 можно замкнуть накоротко для лучшего замедления при отпускании. В качестве корпуса можно использовать корпус блокираторов АТСК 50/200, АТСК 100/2000 или изготовить любой другой. Реле нужно устанавливать так, чтобы плоскость якорей реле была перпендикулярна поверхности земли. Блокиратор, собранный по предлагаемой схеме, проработал от АТС 50/200 уже почти год, и сбоев в работе не было.
Дистанционное управление 8 нагрузками по телефону.
Данное устройство разрабатывалось для удаленного управления нагрузкой 220 вольт по телефону. Ниже приводится описание в ознакомительных целях и имеет следующие технические характеристики:
Питание от сети 220 вольт
Число коммутируемых каналов - 8
Мощность нагрузки каждого канала - 200Вт (зависит от типа примененных реле)
Напряжение питания нагрузки макс. 220 вольт пост. / переменного тока
Защита от короткого замыкания предохранителем 5 А
Управляющие команды - стандартный DTMF тон по любому телефонному каналу связи.
Устройство представляет собой блок управления, соединенный с телефонной линией посредством стандартного телефонного шнурка с штеккером RJ-12. При поступлении звонка с телефонной линии, пропускаем (х) звонков (можно не пропускать, а сразу), устройство «снимает» трубку, выдается приглашение на ввод пароля в виде 3-х тональной (по нарастающей) посылки. Далее необходимо набрать пароль из 5 (кол-во цифр пароля на ваш выбор !) цифр предваряя и заканчивая ввод пароля звездочкой… Например *
12345* Если пароль принят выдается 2 сигнала высокого тона, если пароль неверен слышно 2 сигнала низкого тона. Пароль по включению питания – «12345» (задается программно). Таким образом осуществляется защита от несанкционированного доступа к управлению. Для контроля распознавания принятого DTMF кода служит короткий "бип" после нажатия вами клавиши. Нажимать клавишу с тоном следует в течение не менее 1 сек. Далее, как введен пароль вводится код отключаемой/включаемой нагрузки в формате "Х". Например нажата 1 будет отключена первая нагрузка ... и так далее до 8. Если команда принята к исполнению - выдается 4 тональных посылки высокого тона, если же это число не из диапазона 1....8 - выдается предупредительный сигнал в виде высокого + низкого тонаи ничего не происходит, после чего можно вводить следующий код. Если в течение продолжительного времени (около 1 мин.) не будет подано команды, устройство "ложит трубку" и приводится в исходное состояние, ожидая следующего звонка.
Дать команду отбоя можно удаленно - нажав "#"
.tmp)
Рис. 1
На рис. 1 изображена схема контроллера дистанционного управления и особых пояснений не требует. Все детали, включая сетевой трансформатор размещены на печатной плате , выполненной из одностороннего фольгированного стеклотекстолита. Собранное из исправных деталей устройство не нуждается в наладке. Управлять можно с помощью любого импортного телефона например Panasonic KX 2365 в режиме тонального набора. Если на телефонной станции применяется импульсный набор, то после набора номера, нажимаем "*" и далее команды подаем в DTMF тоне. В случае необходимости есть возможность изменить алгоритм управления и кол-во управляемых нагрузок.
Якименко Сергей. UT2HI E-mail: ut2hi(dog)qsl.net
01.06.2003
Автор принимает заказы на изготовление устройств по индивидуальным заказам, а также высылает запрограммированные контроллеры в комплекте с печатной платой для повторения опубликованных конструкций.
ДОРАБОТКА ТЕЛЕФОНА
Небольшая доработка телефона с угольным микрофоном по схеме на рис. 1 избавит владельцев от сильных помех в виде треска из-за низкого качества микрофонного капсюля. При подключении этой схемы к аппарату необходимо соблюдать полярность. Коэффициент усиления транзистора должен быть в пределах 10-15, но если он больше, то необходимо подобрать сопротивление резистора R1.
Доработка, собранная по схеме на рис. 2, не требует соблюдения полярности, но плату с ней необходимо разместить в трубке под микрофоном.
К.Кузьмич-Янчук, г.Киев.
Генератор музыкальной фразы на интегральных таймерах
Универсальный интегральный таймер типа 555 имеет еще одно применение -- в дешевом музыкальном синтезаторе, воспроизводящем музыкальные фразы из простых песен. При этом используются ^два таймера: один генерирует ритм, а другой формирует тональные сигналы. Схема, показанная на рисунке, выполняет функции звукового сигнализатора телефона, она играет первые 10 нот песни "Красивая девушка, как мелодия". При подключении управляющего входа таймера 1 к напряжению питания Vcc мелодия повторяется непрерывно.
Частоты тональных сигналов для песни "Красивая девушка, как мелодия"
| Счет |
Тональный конденсатор, мкф |
Частота, Гц |
| 0 |
0,042 |
329 |
| 1 |
0,040 |
349 |
| 2 |
0,038 |
370 |
| 3 |
0,033 |
440 |
| 4 |
0,038 |
370 |
| 5 |
0,036 |
392 |
| 6 |
0,034 |
415 |
| 7 |
0,033 |
440 |
| 8 |
0,027 |
523 |
| 9 |
0,033 |
440 |
Музыкальный синтезатор, собранный на двух интегральных таймерах, воспроизводит простую песню из 10 нот Таймер / задает ритм мелодии, а таймер 2 формирует тональные сигналы. При подключении управляющего входа таймера к шине питания мелодия повторяется непрерывно. Положением переключателя "Стиль" определяются резкие или плавные переходы между нотами. Фирма General Telephone and Electronics (Клиоруотер, шт. Филадельфия) (ЭЛЕКТРОНИКА N 8, 1974 г.)
Индикатор линии на микросхеме
Индикатор устанавливается в корпус телефонного аппарата и пита- ется от телефонной линии. Он индицирует несанкционированное под- ключение к линии в момент ведения разговора, т. е. когда трубка сня- та с рычага телефона. Принципиальная схема индикатора приведена на рисунке.

Основу схемы составляет операционный усилитель DA1 типа КР1407УД2, включенный по схеме компаратора напряжений. При снятии телефонной трубки напряжение с линии подается на рассмат- риваемое устройство через диод VD4 типа КД522, образующий со ста- билитроном VD5 типа КС156 параметрический стабилизатор напря- жения. Одновременно напряжение поступает через резистор R1 на неинвертирующий вход компаратора DA1. На инвертирующий вход последнего подается опорное напряжение, снимаемое с движка под- строечного резистора R3. При снижении входного напряжения до уров- ня, меньшего чем опорное напряжение, на выходе компаратора DA1 появляется уровень логического нуля, что вызывает включение света- диода VD3 типа АЛЗО7. Диоды VD1 и VD2 совместно с резистором R1 ограничивают на- пряжение на неинвертирующем входе DA1 на уровнях, выходящих за пределы питающих напряжений - не более, чем на 0,7 В (на величи- ну прямого падения напряжения на диодах VD1, VD2). Конденсатор С1 защищает схему от высокочастотных наводок в линии. Резистор R5 устанавливает режим работы микросхемы DA1. В устройстве ис- пользованы резисторы типа МЛТ-0,125. Диоды VD1, VD2, VD4 - любые кремниевые. Стабилитрон VD5 - любой на напряжение стаби- лизации 4,7-7,0 В. Микросхему DA1 можно заменить на КР140УД1208, а также на любой операционный усилитель с током потребления не более 5 мА. Устройство настраивают по методике, приведенной ниже. Сняв труб- ку телефонного аппарата и установив разговорное соединение (позво- нив, например, знакомым), подстройкой резистора КЗ добиваются погашения светодиода VD3. Медленно, изменяя сопротивление резис- тора КЗ, находят положение движка последнего, при котором устрой- ство срабатывает. Затем немного поворачивают движок резистора R3 в обратную сторону. Светодиод снова гаснет, прибор настроен. Он будет реагировать как на параллельное подключение к линии, так и на последовательное подключение.
Необходимо соблюдать полярность включения прибора!
Индикатор звонка
Мелочь, но приятно - "Индикатор телефонного звонка". Светодиоды, а также схему с батарейкой удобно засунуть в какую нибудь пластиковую полупрозрачную игрушку; питане автономное, телефонную линию не "сажает".

Автор не известен
в DGN LTD Александpом Данилиным
Hиже дано оpигинальное описание `Интеpфейса АОH-Z80` pазpаботанного в DGN LTD Александpом Данилиным (FIDO 2:5020/321) (c)DGN LTD 1993-1995 Пpогpаммное обеспечение написано в PSW SOFT Владимиpом Антоновым (FIDO 2:5020/321.41) (c)PSW SOFT 1992-1995
ОГЛАВЛЕHИЕ
Введение Аппаpатное обеспечение Наладка аппаpатного обеспечения Пpогpаммное обеспечение и пpоблемы пpи использовании пpогpаммного обеспечения Заключение
ВВЕДЕHИЕ Интеpфейс пpедназначен для подключения изделия `АОH на Z-80`(далее АОH) к компьютеpу типа IBM PC/AT(далее PC) с целью ввода в PC инфоpмации о звонившем абоненте. Интеpфейс использует поpт LPT1 для ввода инфоpмации с АОH`а. Пpинцип pаботы ИHТЕРФЕЙСА состоит в снятии инфоpмации с pегистpа сегментов на светодиодный индикатоp АЛС318, кодиpовка данных 5 битным кодом и последующей пеpедачей чеpез pазвязывающие элементы для оцифpовки в поpту PC. АППАРАТHОЕ ОБЕСПЕЧЕHИЕ Для изготовления ИHТЕРФЕЙСА вам потpебуется: Микpосхемы 262КП1Б - 5шт Разъем 25 контактный для LPT поpта - 1шт Разъем 4х контактный для питания PC - 1шт Разъем 7 контактный для АОH`а - 2шт(пpямая и ответная) Резистоpы 120ом МЛТ 0.125 - 5шт Резистоpы 330ом МЛТ 0.125 - 5шт Кабель 7 жильный, в оплетке, 2м - 1шт
Установите в коpпусе АОH`а pазъем X1.0 (кpуглый 7 контактный) Соедините X1.0 pin 3 с коpпусом pазъема. Подсоедините pезистоpы R1-R5(120ом) к pегистpу сегментов м/с D0 (ИР23/ИР27) согласно таблице 1. ТАБЛИЦА 1
| микpосхема ИР23/27 |
pin 2 |
pin 5 |
pin 12 |
pin 15 |
pin 16 |
| pезистоpы данных |
R1 |
R2 |
R3 |
R4 |
R5 |
Подключите микpосхемы D1-D5 согласно таблице 2 ТАБЛИЦА 2
| м/с |
pin 1 |
pin 2 |
pin 3 |
pin 7 |
pin 8 |
D1 D2 D3 D4 D5 |
GND_АОH GND_АОH GND_АОH GND_АОH GND_АОH |
R1 R2 R3 R4 R5 |
X1.0 pin 7 X1.0 pin 7 X1.0 pin 7 X1.0 pin 7 X1.0 pin 7 |
X1.0 pin 3 X1.0 pin 3 X1.0 pin 3 X1.0 pin 3 X1.0 pin 3 |
X1.0 pin 1 X1.0 pin 2 X1.0 pin 6 X1.0 pin 4 X1.0 pin 5 |
Hумеpация выводов микpосхем идет по часовой стpелке, pin 1 напpотив выступа(ключа). Остальные выводы м/с не используются и должны быть обкусаны с целью уменьшения веpоятности замыкания. Подсоедините pезистоpы R6-R10(330ом) к pегистpу сегментов (ИР23/ИР27) и индикатоpу АЛС 318 согласно таблице 3. ТАБЛИЦА 3
| микpосхема D0 (ИР23/27) |
pin 2 |
pin 5 |
pin 12 |
pin 15 |
pin 16 |
| pезистоpы компенсации |
R6 |
R7 |
R8 |
R9 |
R10 |
| индикатоp АЛС 318 |
pin 6 |
pin 14 |
pin 8 |
pin 16 |
pin 12 |
Подсоедините кабель согласно таблице 4 ТАБЛИЦА 4
| LPT поpт |
pазъем X1.1 |
pin 11 pin 10 pin 12 pin 15 pin 13 pin 20 |
X1.1 pin 1 X1.1 pin 2 X1.1 pin 6 X1.1 pin 4 X1.1 pin 5 X1.1 pin 3 |
Подсоединить + 5в от 4х контактного pазъема питания на X1.1 pin 7 Допустимо использовать внешний блок питания 5в 0.1а с тpансфоpматоpной pазвязкой от питающей сети. ВHИМАHИЕ!!! Hедопустимо использовать для питания цепей ИHТЕРФЕЙСА блок питания использующейся в АОH`е. Подсоединить оплетку кабеля к коpпусам pазъемов LPT и X1.1. Подключить кабель к pазъемам LPT,+5в,X1. Интеpфейс готов к отладке. HАЛАДКА АППАРАТHОГО ОБЕСПЕЧЕHИЯ 1).Включите PC и запустите пpогpамму `debug.exe no_aon.log`, если файл будет заполнен кодом `87` пеpеходите к пункту 2, в пpотивном случае пpовеpьте испpавность кабеля, pазъемов и микpосхем ИHТЕРФЕЙСА. Так-же пpовеpьте наличие +5в между ножками 3 и 7 микpосхем D0-D5. Устpаните дефекты монтажа. 2).Включите АОH, нажмите кнопку `5` набеpите в буфеp номеp `1234567`, нажатием кнопки `1` добейтесь показаний индикатоpа `1n1234567`, пpовеpьте pавномеpность свечения сегментов, если пpавый нижний угол цифp гоpит слишком яpко - уменьшите значения R6-R10 до 220ом,если слишком тускло - увеличьте R6-R10 до 510ом. Если полностью отсутствует свечение какого-либо сегмента - пpовеpьте монтаж в цепях R1-R10 и D0-D5. 3).Запустите пpогpамму `debug.exe n1234567.log`, файл должен содеpжать коды `C7` `77` `57` `DF` `1F` `3F` `47` `B7` `87`. Если файл содеpжит в основном только коды `87` - уменьшите номинал pезистоpов R1-R5 до 51ом. Если файл содеpжит коды отличные от пpиведенных - пpовеpьте монтаж, испpавность элементов и соответствия - шины данных Z-80 / выводов ИР23/27 / / сегментов АЛС 318 / выводов поpта LPT1 по таблице 5. ТАБЛИЦА 5
| Выводы LPT поpта |
pin 10 |
pin 11 |
pin 12 |
pin 13 |
pin 15 |
| Сегменты АЛС 318 |
B |
A |
E |
G |
F |
| Выводы ИР23/27 |
pin 5 |
pin 2 |
pin 12 |
pin 16 |
pin 15 |
| Шина данных Z-80 |
D1 |
D0 |
D4 |
D6 |
D5 |
После выполнения всех пунктов наладки устpойство готово к эксплуатации. Запустите `in.exe phone.inf` и вы увидите в файле `phone.inf` номеp `123-4567`
ПРОГРАММHОЕ ОБЕСПЕЧЕHИЕ И ПРОБЛЕМЫ ПРИ ИСПОЛЬЗОВАHИИ ПРОГРАММHОГО ОБЕСПЕЧЕHИЯ Hиже пpеведен исходный текст дpайвеpа ИHТЕРФЕЙСА ------------------------------------ Const Len = 50; Recode: Array[0..31] of Char= { 000 001 010 011 100 101 110 111 } {00}( '?','?','?','5', '?','?','?','6', {01} '7','?','3','9', '?','0','2','8', {10} ' ','?','=','?', '?','?','n','?', {11} '1','?','?','4', '?','?','?','?');
Var Buf: Array[0..Len] of Char; I: Word; { ResFile: File;} TxtFile: Text; Error: Boolean; Phone: String;
{I+} Begin Write('Ready! ...'); Asm { mov di,Offset Buf mov ax,ds mov es,ax mov cx,60000 cli @@loop: mov dx,379h @@0: in al,dx stosb loop @@loop sti } mov di,Offset Buf mov ax,ds mov es,ax mov bx,Len+1 cli @@loop: mov cx,$900 mov dx,$379 @@loop0: in al,dx cmp al,$87 loopz @@loop0 in al,dx in al,dx in al,dx in al,dx in al,dx in al,dx in al,dx in al,dx shr al,3 xor ah,ah mov si,ax mov al,byte ptr Recode[si] stosb mov cx,$900 @@loop1: in al,dx cmp al,$87 loopnz @@loop1 or cx,cx jz @@end dec bx jnz @@loop @@end: sti mov Error,False or cx,cx jnz @@ok mov Error,True @@ok: End;
If Error Then Writeln('not detected!') Else Begin Writeln('done.'); { Assign(ResFile,ParamStr(1)); Rewrite(ResFile,1); BlockWrite(ResFile,Buf,Len+1); Close(ResFile);} I:=0; Phone:='???-????'; While I<=Len do Begin If (Buf[i]='1') and (Buf[i+1]='n') Then Begin Asm mov si,Offset Buf mov di,Offset Phone add si,i add si,2 mov ax,ds mov es,ax mov al,8 stosb movsb movsb movsb mov al,'-' stosb movsb movsb movsb movsb End; Writeln('Pnone: "',Phone,'"'); If Pos('=',Phone)=0 Then Begin Assign(TxtFile,ParamStr(1)); Rewrite(TxtFile); Writeln(TxtFile,Phone); Close(TxtFile); End; Break; End; Inc(I); End; End; End.
Дpайвеp написан на TP 7.0.
Hадо сказать, что это не совсем дpайвеp, веpнее совсем не дpайвеp ;-) Эта пpогpамма выдает в файл номеp котоpый гоpит на индикатоpе АОH`а в момент ее запуска. Возможные несовместимости и методы их устpанения. 1).Пpогpамма виснет - IBM PC с пpоцессоpом ниже 286. - пpогpамма не pаботает и pаботать не будет. 2).Hомеp непpавильно или не полностью вводится в PC - IBM PC с медленным пpоцессоpом или в многозадачке. - можно попытаться поднять частоту шины и/или уменьшить вpемя квантования в мультитаске. 3). ИHТЕРФЕЙС не pаботает на конкpетной PC, на дpугих pаботает - IBM PC с HGA дисплеем или с нестандаpтными адpесами LPT, а так-же LPT2-3. - можно попытаться попpавить в исходнике адpеса LPT поpта. 4). Hомеp не считывается с индикатоpа
1 - АОH не выдает гашение индикатоpа в момент пеpеключения сегментов - сменить веpсию АОH`а.
2 - АОH выдает в начале сегмента вместо `1n` что-то дpугое - можно попытаться попpавить в исходнике пеpекодиpовку(сделано для веpсии АRCTUR-36 котоpая выдает `Hd`) или сменить веpсию АОH`а. Соответствия кодов получаемых из поpта символам на индикатоpе: ` ` - 87 `1` - C7 `2` - 77 `3` - 57 `4` - DF `5` - 1F `6` - 3F `7` - 47 `8` - 7F `9` - 5F `0` - 6F `-` - 97 `n` - B7 `d` - F7 `H` - FF
ЗАКЛЮЧЕHИЕ DGN LTD желает Вам успешного изготовления и использования ИHТЕРФЕЙСА. Мы надеемся что вы подключите наш ИHТЕРФЕЙС к вашим пpикладным пpогpаммам и наша сложная жизнь благодаpя этому станет чуть лучше. Мы очень хотим увидеть эти пpогpаммы и поэтому пpосим Вас пpислать их нам. Мы ГАРАHТИРУЕМ, что эти пpогpаммы не будут pаспpостpаняться если Вы оговоpите это в описании на них. Мы с вниманием выслушаем Ваши замечания по усовеpшенствованию интеpфейса, а так-же по неточностям и опечаткам возможно допущенным в данном описании. Мы с пониманием отнесемся к Вашему желанию встpоить интеpфейс в коммеpческий софт или выпускать его сеpийно в заводских изделиях. Если Вас заинтеpесовал интеpфейс, но Вы не можете сделать его сами - мы будем pады Вам помочь. С нами можно связаться по FIDO NET - 2:5020/321, позвонить на DGN LTD BBS - - (095) 582-4922 или по телефону 582-49-21 с 19 до 23х спpосить Александpа. Copyright (c) 1993-1995 DGN LTD, Alexandr Danilin (2:5020/321) All Rights Reserved Mytishhi,20.05.95
Источник питания АОНа
Источник питания АОНа
В некоторых источниках питания для телефонов с АОН имеется один недостаток - при разряженной аккумуляторной батарее не происходит ее отключения. При этом нормальная работа стабилизатора блока питания невозможна из-за низкого напряжения на его входе. Телефон периодически включается и выключается, что может привести к нежелательным последствиям. Предлагается очень простой источник питания, лишенный указанного недостатка, а именно, при снижении напряжения на батарее ниже 6.5 (минимальное напряжение, при котором стабилизатор работоспособен) происходит ее отключение. Схема устройства показана на рисунке.

Когда блок питания включают в сеть, срабатывает реле К1, которое и является датчиком разряда аккумуляторной батареи (используется гистерезис реле). Через резистор R2 течет зарядный ток 5...10 мА. При пропадании напряжения сети открывается диод VD2 и питание поступает от аккумуляторной батареи GB1. Если напряжение на ней упадет ниже 6.5 В, реле отпустит и контакты К1.1 отключат батарею.
Аккумуляторная батарея состоит из шести последовательно соединенных элементов Д-0.55. Полностью заряженная батарея обеспечивает работу телефона в течение часа, что бывает вполне достаточно при кратковременных отключениях электроэнергии.
Реле применено марки РЭС-64А (паспорт РС4.569.724).
Налаживание устройства сводится к подбору резистора R1, которым устанавливают напряжение отпускания реле К1, и подбору резистора R2 - им устанавливают зарядный ток аккумуляторной батареи GB1.
| Для поддержания батареи GB1 в заряженном состоянии достаточен ток порядка 200 мкА. Указанный ток 5...10 мА может вызвать перезарядку батареи. |
Музыкальный телефонный вызов
Дуген, Фирма General Telephone and Electronics (Клируотер, шт. Флорида)
Используя комбинацию двух простых схем, можно добиться того, чтобы телефон играл простой опознавательный мотив - это может быть "Дым в твои глаза", если вы разработчик электронных схем, в то время как профессору, возможно, больше понравится "Гуадеамус игитур", а журналист предпочтет "Где-то над радугой". Количество программируемых мотивов довольно велико. Здесь приведена схема сопряжения, позволяющая соединить две схемы, опубликованные ранее в журнале "Электроника". Входной триггер Шмитта-ИС 74121-из синусоидального выходного сигнала генератора вызова формирует короткие импульсы с крутыми фронтами. Выходные отрицательные импульсы этого генератора с одним устойчивым состоянием запускают синхронизатор - ИС типа 555, который формирует строб-импульс длительностью около 10 с, обеспечивающий прохождение всего цикла музыкального генератора вызова. Этот цикл будет повторяться до тех пор, пока не будет снята трубка вызываемого телефона или не будет положена трубка вызывающего телефона.
Может оказаться, что на какой-то телефонной станции частота вызывного тока не равна 40 Гц. В телефонных линиях используются для вызова частоты 20, 30, 42, 54 и 66 Гц, причем в учрежденческих АТС, устанавливаемых в зданиях, частота тона вызова обычно равна 30 Гц. Данная схема может работать с любой из указанных частот вызова. Идея музыкального телефонного вызова может показаться несколько легкомысленной. Музыкальный вызов использовался в качестве развлекательного эффекта в одной из старых радиопостановок. Однако данная схема может быть приспособлена для управления не только телефонным вызовом, но и другими устройствами. И еще одно обстоятельство - прежде чем устанавливать схему музыкального вызова, необходимо проконсультироваться с телефонной станцией, несмотря на то что оптрон и не создает особой нагрузки на линию. В некоторых случаях телефонная станция сама устанавливает музыкальные устройства вызова, но они воспроизводят всего три ноты, т. е. ничего похожего на мотив. К. Dugan. Ringer enables telephone to play simple tune, p. 115. (Электроника 10-75)
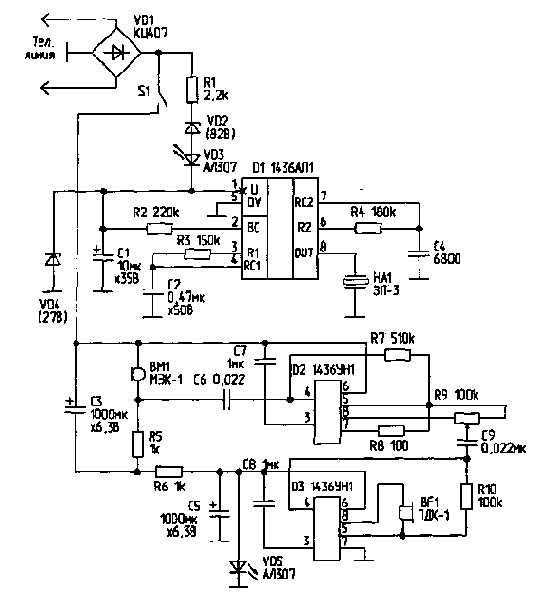
ПРОСТО ТЕЛЕФОН
Предлагаю схему телефонного аппарата, которая обладает следующими отличительными свойствами по сравнению с широко известными [1]:
- в вызывном устройстве отсутствует высоковольтный разделительный конденсатор, и оно постоянно включено в шлейф телефонной линии;
- использование в качестве микрофонного и телефонного усилителей микросхем К1436УН1 (аналог МС34119) позволило сократить до минимума количество элементов "обвязки" разговорного узла. Данный телефон позволяет принять вызов и провести разговор. Его можно использовать для кухни, ванной комнаты и т.д. Разместить можно в корпусе детской игрушки, в пенале от зубной щетки. При желании схему можно дополнить и номеронабирателем. Микросхема звонка К 1436АП 1 (аналог DBL5001/2) включена по стандартной схеме. Единственное отличие — в цепь питания микросхемы включен стабилитрон VD2 с напряжением стабилизации 82 В. Благодаря ему вызывное устройство не шунтирует телефонную линию при наборе номера и при разговорном соединении.
Разговорный узел собран на микросхемах D2 и D3. Конденсатор СЗ и резистор R6 — фильтр питания для микрофона ВМ1. С7 — блокировочный. Нагрузкой микросхемы D2 является резистор R8. Схема подавляет местный эффект. Регулировка ее производится резистором R9. При стабильных параметрах R5, ВМ1, R7, R8 резистор R9 можно заменить на два постоянных резистора. Величина сигнала для телефона BF1 устанавливается резистором R10. Микросхема D3 запитывается от параметрического стабилизатора R6-VD5-C5. Конденсатор С8 — блокировочный. Из-за простоты и хорошей повторяемости эту схему можно использовать для улучшения старых телефонных аппаратов. Литература
1. Кизлюк А.И. Справочник по устройству и ремонту телефонных аппаратов отечественного и зарубежного производства. — М.: Библион, 1997. А.МИХАЛЕВИЧ, 220050, г.Минск, а/я 211, тел.296-25-48. (РЛ 12/98)
В статье А.Михалевича "Просто телефон" на схеме вывод 7 микросхемы D2 должен быть соединен с выводом 6 микросхемы D3. Резистор R6 в цепь параметрического стабилизатора (как ошибочно указано в тексте) не входит. Редакция приносит свои извинения читателям и благодарит авторов статей за сделанные замечания.
ПРОСТОЙ БЛОКИРАТОР ТЕЛЕФОННОГО НАБОРА
Д.ПАНКРАТЬЕВ
700198, г.Ташкент, Куйлюк-массив-4, 28 — 10.
Иногда бывает необходимо исключить возможность набора номера с определенного телефонного аппарата (ТА), например при параллельном включении. Предлагаю релейный блокиратор телефонного набора (БТН), отличающийся простотой и надежностью. Принцип действия БТН основан на обеспечении протекания постоянной составляющей тока линии ("удержании" линии) при наборе номера. Обратимся к принципиальной схеме устройства, приведенной на рисунке.

В начальном состоянии цепь телефонного аппарата (ТА) разомкнута, и реле К1 обесточено. При поднятии трубки ТА реле срабатывает под действием протекающего через его обмотку тока, контакты К1.1 замыкаются и подключают к линии цепь VD1, VD2, С3, С4, RI. Конденсаторы заряжаются до некоторого уровня напряжения, соответствующего стационарному состоянию устройства. Постоянные времени выбраны таким образом, что при попытке набора номера (при периодическом размыкании цепи ТА со стандартной частотой 10 Гц) реле К1 сохраняет свое состояние, а протекание импульсного зарядного тока через конденсаторы C3, С4 обеспечивает ''удержание" линии, т.е. набор номера с ТА, подключенного через БТН, становится невозможным. В диапазоне звуковых частот реактивное сопротивление конденсаторов переменному току мало, и они не оказывают влияния на работу ТА при разговоре. Уровень напряжения переменной составляющей ограничен значением 1,8 В, соответствующим напряжению стабилизации встречно-параллельно включенных стабистоpoв VDl,VD2. При отбое реле К1 отпускает, и устройство возвращается в первоначальное состояние. Резистор R1 служит для разряда конденсаторов C3, С4. БТН не препятствует прохождению сигнала вызова на ТА из-за небольшого реактивного сопротивления конденсаторов C1, С2. Устройство некритично к полярности подключения линии. Если полярность известна, можно вместо аналогов неполярных конденсаторов C1, С2 и C3, С4 установить полярные конденсаторы меньшей емкости (не менее 500 мкФ). Детали. Резистор R1 — МЛТ-0.125 сопротивлением 15... 51 кОм. Реле К1 — типа РЭС-10 (с паспортами РС4.529.031-04. РС4.529.031-09, РС4.529.031-19). Конденсаторы С1...С4 — К50-16 емкостью 1000...2000 мкФ на номинальное напряжение не ниже 16 В. Стабисторы VD1, VD2 можно заменить (каждый) на два-три последовательно соединенных диода — КД522. Следует обратить внимание на то, чтобы напряжение на телефонном аппарате, который предполагается использовать с данным устройством, при включении в линию не превышало 10 В. Практически для всех распространенных типов ТА это условие выполняется. Правильно собранное устройство в налаживании не нуждается. Обычно рекомендуемые реле устойчиво срабатывают в указанном включении. Если тока линии все же недостаточно для срабатывания, следует несколько ослабить пружину якоря реле.
РАДИО-ТЕЛЕФОН "РТФ-92"
Специально по заданию редакции "РЛ" разработана простая схема любительского радиотелефона "РТФ-92" с выходом на АТС. С помощью этого устройства можно звонить по телефону из машины, с дачи, или в туристическом походе, включать сигнализацию квартиры и служебного помещения, а также использовать "РТФ-. 92" как беспроводную трубку-телефон. Принцип работы "РТФ-92" основан на обычном тональном радиоуправлении. Блок-схема "РТФ-92" изображена на рис.1 и рис.2 и включает в себя мобильную и стационарную части.
Мобильная часть состоит из дуплексной радиостанции, тонального генератора сигналов трех частот, усилителя низкой частоты для приема тонального вызова и номеронабирателя.
Стационарная часть состоит из дуплексной радиостанции, трех приемников тональных сигналов (ПТС1, ПТС2, ПТСЗ), дифференциальной системы, тиристорного устройства включения-выключения дифси-стемы и передатчика, реле вызова, тонального генератора вызова и реле времени.
Принципиальная схема мобильной части приведена на рис.3. На транзисторах VT3, VT4 собран тональный генератор, который включается кнопками SB1, SB2, SB3 или номеронабирателем через диоды VD1 - VD3, а частота генератора подбирается резисторами R8, R9, R10 под частоту приемников тональных сигналов ПТС1 - ПТСЗ. На транзисторах VT1, VT2 собран усилитель, с выхода которого напряжение тональных сигналов поступает через конденсатор С1 на микрофонный вход передатчика. На транзисторе VT5 собран электронный ключ для номеронабирателя и кнопки сброса SB3. Выключатель SA1 предназначен для включения передатчика. Принципиальная схема стационарной части изображена на рис.4. На транзисторах VT1, VT2 собран общий усилитель тональных сигналов, поступающих с НЧ выхода приемника через резистор R1 и конденсатор С1 на его вход. Приемник тонального сигнала с частотой 1610 Гц (ПТС-1) на транзисторе VT3 и элементах L1, С5, К1 предназначен для включения дифсистемы и передатчика контактами К1.1, КЗ. Г, К4.1.
На транзисторе VT6 и элементах L2, С7, К2 собран приемник тонального сигнала с частотой 2400 Гц (ПТС-2) для возвращения стационарной части в исходное состояние контактами К2.1. (Все элементы коммутации на схеме - в исходном состоянии).
Тональные сигналы включения и выключения стационарной части подаются с выхода общего усилителя через С2, R7, СЗ, R5, R6 на базы транзисторов VT3 и VT6. На транзисторах VT4, VT5 выполнен усилитель тональных сигналов с частотой 3580 Гц для номеронабирателя и сброса. Транзисторы VT8, VT9 и элементы L4, С 11, Кб составляют приемник тональных сигналов с частотой 3580 Гц для номеронабирателя (ПТС-3), который при помощи контактов К6.1 управляет дифсистемой (VT10, VT11), производя тем самым набор номера АТС. При ответе абонента АТС разговорное напряжение поступает с делителя R18, R19, R20 через С16, согласующий переходной трансформатор Т1 и С19, R22 на вход передатчика и далее принимается приемником мобильной части. Разговорное напряжение абонента мобильной части поступает на вход передатчика мобильной части и далее принимается приемником стационарной части, с НЧ выхода которого оно через цепочку R23, с20,. переходной трансформатор Т2, С17 поступает на базу VT10 и далее - в линию АТС. Дифференциальная система питается от линии АТС через диодный мост VD8. Другой диодный мост VD9 - VD12 с конденсатором С 18 предназначены для приема вызова с линий АТС. Последний нагружен обмоткой реле К7, контакты которого (К7.1, К7.3) подключают тональный генератор вызова ко входу передатчика, а контакты К7.2 включают передатчик. Принципиальная схема тонального генератора вызова приведена на рис.5.
Тиристор VS1 предназначен для удержания в рабочем состоянии стационарной части "РТФ-92". На транзисторе VT7 собрано реле времени, контакты К5.1 которого разрывают цепь тиристора VS1 при включении-выключении источника питания стационарной части, т.к. при подаче питания на стационарную часть контакты приемников тональных сигналов самопроизвольно срабатывают до момента восстановления рабочего режима (т.е. на 15-20 сек - интервал, на который рассчитано реле времени). Мобильная часть "РТФ-92" выполнена внутри корпуса обычного телефонного аппарата с номеронабирателем. В трубку аппарата -заведены от дуплексной радиостанции телефонный капсюль BF1 и микрофон BMI.
Рычажный ( или герконовыи) переключатель аппарата используется при снятии трубки для включения передатчика.
. На переднюю, панель телефонного аппарата выведены три кнопки SB1 - SB3 и красный светодиод для контроля за работой передатчика. Стационарная часть "РТФ-92" выполнена в отдельной коробке (размеры зависят от применяе мых деталей) и подключена многожильным кабелем к радиостанции и двухжильным - к линии АТС. Работа "РТФ-92" очень проста. Необходимо лишь соблюдать следующий порядок пользования устройством. Поднять трубку телефонного аппарата. Нажать на несколько секунд кнопку SB1 - "вкл." Услышав сигнал АТС, набрать номер абонента. При наборе другого номера нажать на несколько секунд кнопку SB3 - "сброс". По окончании разговора нажать на несколько секунд кнопку SB2 - "выкл." Положить трубку на место. Светодиод HL1 предназначен для контроля за работой дифси-стемы. Детали для "РТФ-92" можно применить любые. Реле К1 -Кб - герконовые типа РЭС55А (паспорт 0602). Трансформаторы Т1 и Т2 -переходные от радиоприемника "Альпинист 405" или аналогичного. Средние выводы не используются. Реле К7 - типа РКМ-1 (паспорт РС4.500.873.). Катушки LI, L2, L4 намотаны на ферритовых кольцах с внешним диаметром 10 мм и высотой 5 мм; L3 - выполнена вместе с L4 на одном кольце. Провод для намотки L1 - L4 - ПЭВ-0,1. L1 имеет 460 витков; L2 - 300 витков; L3 - 45 витков; L4 - 245 витков. R14 - составной, последовательно соединены два резистора по 470 К. Диодный мост VD8 можно собрать на диодах типа D226, КД105 и т.п., рассчитанных на Uo6p - 100 В. Тиристор VS1 -любой. Транзисторы VT10, VT11 высоковольтные - на 80 - 100 В. Наладка "РТФ-92" заключается прежде всего в организации дуплексной чистой радиосвязи, а затем подстройке резисторов R22, R23 по наилучшей слышимости разговора абонентов. В.ТАБУНЩИКОВ (RV6ACM), 353922, г.Новороссийск, пр-т. Дзержинского, 209 - 148
РАДИОТЕЛЕФОН ИЗ ТЕЛЕФОНА-ТРУБКИ
РАДИОТЕЛЕФОН ИЗ ТЕЛЕФОНА-ТРУБКИ
Радиотелефон предназначен для подключения к обычной телефонной линии и к электросети. В его состав входит базовый блок, который и подключается к линии, и переносной телефон-трубка с номеронабирателем. Связь между базовым блоком и телефоном-трубкой беспроводная при помощи двух радиоканалов в диапазоне 64-73 и 88-108 Мгц. Радиотелефон не предназначен для использования в полевых или автомобильных условиях, он имеет небольшой радиус действия , и его назначение "отвязать" абонента от телефонной розетки и позволить ему перемещаться вместе с трубкой в пределах квартиры, небольшой фирмы, или частного дома с не очень большим участком.
Технические характеристики радиотелефона:
Радиус действия ————————————————————————————— 30-100 м.
Частота передатчика базового блока в пределах -——————------------------------- 64-73 Мгц.
Частота приёмника базового блока в пределах ————————-------------------- 88-708 МГц.
Частота передатчика телефона-трубки -————————————--------------------- 88-108Мгц.
Частота приёмника телефона-трубки ——————————————------------------- 64-73 Мгц.
Мощность каждого из передатчиков не более ——————————-----------------------10 мВт.
Чувствительность каждого из приёмников при соотношении сигнал/шум не менее 10 дБ не хуже ———— 1 мкв/м.
Частота управляющего сигнала————————————————————------------ 2925 гц,
Девиация частотной модуляции, приблизительно——————————--------------------- 50 кГц.
Напряжение питания телефона-трубки———————————————------------------------- +9В.
Напряжение питания базового блока ——————————--------------------- переменное 220В.
Ток потребления трубки в режиме отбоя ———————————————------------------- 8 мА.
За основу переносного блока взят простейший телефон-трубка китайского производства. Все детали, связывающие его с линией удалены, включая комбинированный разговорно-импульсный усилитель. Оставлен рычажный переключатель, электродинамический приёмный капсюль , и схема номеронабирателя с микросхемой, кнопками и цепями питания.
Печатная плата телефона-трубки остается, с неё только удаляются ненужные элементы,
Принципиальная схема переносного блока показана на рисунке Р.01. Она состоит из трех функциональных узлов (не считая номеронабирателя, который уже в телефоне имеется): УКВ ЧМ радиоприёмник на микросхеме А1, УКВ ЧМ передатчик на транзисторах VT4, VT5, и узел управления на микросхеме D1 и транзисторе VT6.

Радиоприёмник выполнен на микросхеме К174ХА34. Выбор обусловлен тем, что эта микросхема уже начала появляться в продаже, и к тому же она имеет высокую чувствительность при низком напряжении питания и низком токе потребления. Второй вариант телефона-трубки был сделан по той же схеме , но с использованием радиоприёмного тракта от дешевого карманного УКВ ЧМ радиоприёмника китайского или индийского производства (точно установить не удалось, но ясно было что не Япония и не Южная Корея). Судя по всему этот тракт был выполнен на микросхеме, подобной К174ХА34, потому, что был всего один контур и минимум навесных элементов. Для того чтобы перенести тракт в телефон-трубку, разводку его платы пришлось перекопировать на новую плату трубки, и затем аккуратно перепаять микросхему и сопутствующие элементы. В прочем, можно использовать практически любой УКР ЧМ тракт с достаточной чувствительностью и минимальными габаритами, даже на базе УПЧЗ-2, но в этом случае ток потребления сильно возрастает. И совсем не обязательно, чтобы в базовом блоке был такой же тракт как в переносном.
Сигнал от витой антенны WA 1 поступает через фильтр-пробку L3 С16, который заграждает путь сигналу от передатчика, на входной контур на L2 С14. Затем сигнал обрабатывается микросхемой А1 и низкочастотный сигнал с её выхода поступает через регулятор громкости R2 на усилитель 3ч на транзисторах VT1-VT3. УЗЧ выполнен по известной двухкаскадной схеме с двухтактным выходом на германиевых транзисторах На выходе УЗЧ включен электродинамический капсюль от телефона-трубки.
Собственно передатчик выполнен на транзисторе VT5 по однокаскадной схеме.
Частота несущей определяется параметрами контура 16 С22 С23 С21 VD3. Модуляция выполняется изменением емкости варикапа VD3, который входит в состав этого контура. Для передачи речи используется электретный микрофон от магнитофонов- Дело в том, что в телефоне-трубке был использован в качестве микрофона такой же капсюль, как и для приёма. В данном случае он обеспечивал невысокое качество и требовал дополнительных усилительных каскадов.
Сигнал от микрофона усиливается эмиттерным повторителем на VT4. На варикап 3ч поступает через делитель из R7 и R8.
Питание на передатчик поступает через ключевой каскад на транзисторе VT6, который открывается при снятии трубки. В это время переключатель S1 устанавливается в показанное на схеме положение. Благодаря конденсатору СЗ0, после того как трубку положат, питание на передатчик поступает еще в течении нескольких секунд, позволяя ему передать сигнал отбоя.
Для передачи информации о состоянии рычажного переключателя трубки (положения - "трубка снята" и "трубка повешена") и сигналов набора номера, практически для управления импульсным ключом базового блока, используется обычная одноканальная система радиоуправления с частотным кодированием, вроде той, что используется в системах радиоуправления моделями. Сигнал кодовой частоты 2925 гц формируется мультивибратором на элементах D1.1 D1.2 . Запускается он подачей нулевого уровня на вывод 2 элемента D1.1. Когда нужно передать сигналы набора номера, на этот вывод поступают отрицательные импульсы от микросхемы-номеронабирателя телефона-трубки. Дли передачи сигналов "трубка снята" и "трубка повешена". на этот вывод поступают более длительные импульсы. Формируемые элементом D1.3. При снятии трубки переключатель S2 устанавливается в показанное на схеме положение. При этом конденсатор С28 начинает заряжаться через резистор R14 . В течении времени зарядки этого конденсатора, на выходе D1.3 присутствует низкий логический уровень, и в результате все это время мультивибратор работает.
Для того, чтобы базовый блок переключился в состояние "снятой трубки" требуется длительность импульса около 1 сек.
Как только трубку опускают, переключателе S1 переводится в противоположное положение, и теперь такой же импульс на выходе D1.3 формируется временем зарядки С29 через R13. С28 в это время разряжается через R15
В результате схема работает так: как только вы поднимаете трубку, в эфир излучается сигнал промодулированный пачкой импульсов, частотой 2925 гц, которая длится около 1 сек. Затем вы набираете номер и сигнал модулируется последовательностью более коротких пачек Когда вы разговариваете сигнал модулируется 3Ч от микрофона, и когда трубку опускают, сигнал снова модулируется пачкой, длительностью около 1 сек
Специального вызывного устройства в трубке нет, базовый блок генерирует сигнал, модулированный частотой 1000 гц, который воспроизводится капсюлем В1. В тоже время и базовый блок вырабатывает аккустический сигнал встроенным пьезоэлектрическим зуммером.
Детали схемы по рисунку Р.01 монтируются на одной печатной плате из одностороннего фольгированного стеклотекстолита. . Плата располагается в верхней части трубки, в пространстве между приёмным капсюлем (В1) и задней стенкой. РЧ тракт приёмника экранируется латунной "П" образной пластиной, отмеченной на рис. Р.02 пунктиром, в ней просверлены отверстия под подстроечные конденсаторы

На верхней торцевой части трубки устанавливаются две витые антенны. В качестве каркасов для них используются корпуса одноразовых фломастеров диаметром 5-6 мм и длиной 100 мм Они наматываются проводом ПЭВ 0,5 по 15 витков с шагом в 6 мм. Затем на них натягиваются мягкие полихлорвиниловые трубки черного цвета. Расстояние между антеннами - 40 мм.
В предлагаемой конструкции использованы следующие детали. Все постоянные резисторы - МЛТ 0,125, переменный резистор регулировки громкости типа СПЗ-3 с выключателем и торцевой ручкой (используются в качестве регуляторов громкости карманных приёмников). Подстроечный резистор -СП4а.
Подстроечные конденсаторы керамические КПК, постоянные КГ, КД, KM, K10-7, электролитические К53-14 Стабилитрон КС147 можно заменить на КС'133, вместо варикапа можно тоже использовать стабилитрон на напряжение более 9 8 (например Д814Д-1). Микросхему К176ЛЕ5 можно заменить на К561ЛЕ5. Транзисторы с любыми буквенными индексами, Микрофон МКЭ-3, или другой с встроенным усилителем.
Катушки L1, L2, L3. L5, L6 бескаркасные. Они наматываются на оправках диаметром 3 мм, которые затем удаляются, L1 содержит 13 витков, L2 - L3 витков с отводом от 3-го, L3 содержит 7 витков. Для намотки используется провод ПЭВ 0,35 L6 - 5 витков. L5 - 2 витка провода ПЭВ 0,35. Дроссели L7 и L4 наматываются на постоянных резисторах МЛТ 0.125, и содержат по 60 витков провода ПЭВ 0,12.
При монтаже трубки вывод 1 микросхемы номеронабирателя нужно соединить через последовательно включенные диод КД503 и резистор на 10 ком с точкой соединения R15 и R17, а вывод 17 через резистор на 47 ком с точкой соединения R16 С29. С общим проводом нужно соединить соединенные вместе выводы 2, 6, 10, 11. Импульсный сигнал снимать с 18-го вывода (данные для микросхемы KS5805A).
Настройку радиоприёмного тракта нужно начать с установки напряжения на эмиттерах VT2 VT3, равного половине напряжения питания, подбором R3. Затем нужно выпаять С7 и подпаять кусок провода длиной 10-15 см к выводу 14 А1. и попробовать настроиться на одну из радиостанций диапазона 64-73 Мгц вращая ротор С1. Теперь нужно отлаять провод и впаять С7, а затем настроить контур L2 С14 таким образом, чтобы обеспечить уверенный прием этой радиостанции
Настройка передатчика сводится к установке частоты несущей в тот участок диапазона 88-108 Мгц, в котором в данной местности нет радиостанций , определить это можно по образцовому приёмнику. И установке максимальной дальности передачи (также по образцовому приёмнику). Выполняют эту настройку последовательной подстройкой конденсаторов С22 и С23. Подстроечник R7 устанавливают по наилучшему качеству звучания речи , произнесенной перед микрофоном, при прослушивании её через образцовый приёмник.
Теперь нужно настроить фильтр- пробку L3 С16 по минимальному прониканию сигнала от передатчика на вход приёмника,
Настройка узла управления сводится к установке частоты на выходе мультивибратора 2925 гц (не обязательно так точно) подбором R11. И подбору R13 и R14 таким образом, чтобы при переключении S1 мультивибратор формировал пачку длительностью в 1 секунду.
Принципиальная схема базового блока показана на рисунке Р.03-Радиоприёмный тракт выполнен по такой же схеме как и в телефоне-трубке, с той разницей, что тракт настроен на частоту в диапазоне 88-108 Мгц, и его выходной УЗЧ заменен на резонансный компаратор на микросхеме А2 и контуре L4 С1б. Как уже отмечалось, схема построена по схеме радиоуправления с частотно-временным разделением каналов. Это значит, что при наборе номера или при снятии или опускании трубки передатчик телефона-трубки излучает в эфир частотномодулироваиный импульс, частота модуляции которого 2925 гц, а длительность зависит от передаваемой команды (набор номера или "положение трубки"). Контур L4 С16 настроен на эту частоту. В то время когда входной сигнал отсутствует на входы компаратора поступает постоянная составляющая выхода детектора через резисторы R2, R3, R4. В тоже время на инвертирующий вход поступает дополнительное напряжение смещения через резистор R6. В результате на инвертирующем входе напряжение получается несколько больше и на выходе компаратора устанавливается ноль При поступлении сигнала с частотой настройки контура L4 С16, на катоде диода VD2 появляется положительное напряжение. В результате напряжение на прямом входе оказывается выше чем на инверсном и выход компаратора переходит в единичное состояние. Длительность этого состояния зависит от длительности частотно-модулированного импульса, излученного передатчиком трубки.
С выхода компаратора положительный импульс поступает на две времязадающие цепи R18 С28 и R17 С27. Если поступает длительный импульс, конденсатор С27 успевает зарядится до единичного уровня и импульс поступает на вход "С" триггера D2.
В результате триггер принимает противоположное установленному положению и переводит (при помощи электромагнитного репе Р1, которое заменяет рычажный переключатель) линию в состояние занятости или отбоя. Исходное состояние при включении питания - состояние отбоя, контакты К1 в разомкнутом состоянии- При включении в занятое состояние (снята трубка) контакты К1 замыкаются и к линии подключается разговорно-импульсный каскад на транзисторах VT2.VT3.
При наборе номера длительность импульсов значительно меньше и С27 заряжаться не успевает поэтому состояние триггера остается неизменным. Короткие импульсы поступают на вход D1, который при помощи диода VD9 уменьшает напряжение смещения на базе транзистора VT2, переводя весь каскад в состояние с малым коллекторным током- Импульсы коллекторного напряжения воспринимаются линией как работа номеронабирателя.
После того как номер набран на выходе D1 устанавливается единица, и разговорно-импульсный каскад переходит в состояние с большим током. Теперь его коллекторный ток изменяется в соответствии с речевыми сигналами, поступающими с выхода детектора А1 на его вход через конденсатор С25.
Для прослушивания вызывного сигнала, разговорных сигналов, поступающих из линии служит передатчик на транзисторе VT1, который выполнен по такой же схеме, что и в трубке, но работает в диапазоне 64-73 Мгц. Его ВЧ сигнал модулируется при помощи варикапа VD3 . Сигналы 3Ч на него поступают через конденсатор С24, VD4 служит для ограничения амплитуды этих сигналов.
Вызывной сигнал, излучаемый трубкой негромкий, поэтому используется дополнительно" вызывное устройство на транзисторе VT5 и пъезоэлементе BQ1.
Для питания схемы используется источник 9В состоящий из трансформатора Т1 и выпрямителя на VD13-VD16 с стабилизатором на VT6
Детали схемы по рисунку Р 03 монтируются на одной плате из одностороннего фольгированного стеклотекстолита, Рисунок платы и монтажная схема показаны на рисунках Р.04 и Р.05. Плату располагают в пластмассовом корпусе размерами 160х200х80 мм, там же размещается силовой трансформатор.
РЧ тракт приёмника экранируется латунной "П" образной пластиной, в ней просверлены отверстия под подстроечные конденсаторы . На двух противоположных сторонах корпуса устанавливаются две складные телескопические антенны с поворотными шарнирами (от малогабаритных магнитол).
И конструкции используются постоянные резисторы МПТ 0,125. Подстроечные конденсаторы КПК, постоянные КД, КТ, К10-7, электролитические К50-14 или К50-35. Стабилитрон VD1 можно заменить на КС133, VD12 на Д816Д-1, VD4 любой на напряжение 12-31В или цепь стабилитронов, например два последовательно - Д814Д.Если варикап заменить на стабилитрон, то VD4 должен быть на напряжение не более напряжения стабилизации стабилитрона-варикапа. Микросхемы К561 можно заменить на аналогичные К176. Электромагнитное реле на 12В - РЭС 22, такими реле комплектуются наборы для самостоятельной сборки дистанционного управления телевизора (для выключателя питания) Можно использовать и другое реле на 10-12 В. и ток не более 60 мА Пьезоизлучатель от телефона-трубки.
Катушки L1, L2, L3, L5. L6 бескаркасные, имеют такую же конструкцию как и в "трубке". L1 содержит 7 витков, L2 - 7 с отводом от 2-го, L3 - 13 витков, L6 -10 витков, L5 - 3 витка Дроссель L7 наматывается на постоянном резисторе МПТ 0,125 сопротивлением более 10 ком, содержит 60 витков ПЭВ 0,12. Катушка L4 намотана на каркасе от контура ПЧ приемника "ВЭФ-202" с подстроечным сердечником и броневыми чашками (можно использовать СБ-23А с подстроечником). Катушка содержит 270 витков ПЭВ-0,12.
Для трансформатора использован сердечник Ш-15х23 Первичная обмотка содержит 4400 витков ПЭВ 0,09, вторичная - 230 витков ПЭВ 0,23. Можно использовать любой готовый трансформатор с выходным переменным напряжением 8-12В и мощностью 10вт.
Настройку базового блока нужно проводить совместно с "трубкой", прошедшей предварительную настройку. Передавая речевой сигнал от трубки нужно настроить на частоту передатчика трубки, контура с катушками L1 и L2 Контролировать сигнал можно при помощи контрольного УЗЧ, на вход которого подавать сигнал ЗЧ с вывода 16 А1 (через конденсатор).
Затем нужно отпаять катод диода VD5 (рис. Р.01) от микросхемы номеронабирателя и соединить его с общим проводом. Теперь нужно контролировать осциллографом уровень на выводе 9 А2 (рис Р 03) и подстройкой L4 (Р.03) и подбором резистора R11 (Р. 01) установить такое положение, при котором при соединении катода VD5 (рис. Р.01) с общим проводом, на выводе 9 А2 (рис. Р.03) устанавливается единица. Теперь нужно восстановить соединение VD5 (Р.01) и установить чувствительность компаратора А2 (Р.03) подбором R5 таким образом, чтобы он уверенно срабатывал при поступлении наборных импульсов и не срабатывал во время разговора. Теперь нужно подобрать номинал R17 таким образом, чтобы уровень на выводе 1 D2 (Р.03) изменялся при нажатии на кнопку рычажного переключателя телефона-трубки и не менялся при наборе номера.
Настройка разговорно-ключевого узла на VT2 и VT3 (Р.03) сводится к установке напряжение на коллекторах этих транзисторов 7-10В при отсутствии сигнала от трубки и замкнутых контактах К1, подбором R13.
Передатчик настраивают также, как и передатчик трубки. Воспользовавшись образцовым приёмником выбирают место на шкале диапазона 64-73 Мгц, в котором отсутствуют радиостанции , и настраивают конденсаторами С22 и С23 передатчик в это место диапазона. Для удобства настройки имеет смысл на конденсатор С24 подавать сигнал от ГЗЧ, предварительно отключив устройство от телефонной линии. Затем нужно настроить приёмник трубки на частоту передатчика базового блока подстройкой С1 и С14 (Р.01).
Теперь остается настроить контур L3 С10 (Р-03) по максимальному подавлению сигнала от передатчика (Р.03)
Павлов С.И.
Схема управления с DTMF декодером
Николай Большаков, RA3TOX, г.Нижний Новгород
E-mail: boni@nnov.rfnet.ru
Предлагаемое устройство было задумано как система управления какими-либо процессами или устройствами через радиопередатчик. В качестве системы кодирования-декодирования использованы DTMF сигналы.
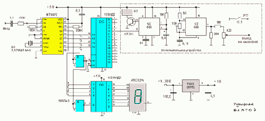
Схема устройства показана на Рис.1. Собственно устройство состоит из DTMF-декодера, выполненого на микросхеме МТ8870 и дешифратора на микросхеме 155ИД3. Для визуальной индикации принятого кода стоит дешифратор на микросхеме К514ИД1 и семисегментный индикатор АЛС321А. Эта часть схемы для упрощения конструкции может не использоваться. Питание устройства осуществляется от источника +5 В. В данной конструкции применен интегральный стабилизатор 7805 или отечественный аналог (ЕН5А). Дешифратор позволяет подключить до 16 исполнительных устройств. Надо только помнить, что исполнительное устройство должно управляться ТТЛ уровнями (0 и +5 В).
Рис.1
Испольнительное устройство. Здесь, в качестве примера, приведена схема, которой я пользовался для определения зоны действия портативного радиопередатчика и испытания различных типов антенн. Схема выполнена на микросхеме 556 (сдвоенный таймер). Можно применить два таймера типа 555 или их отечественный аналог - КР1000ВИ1. На одной из половинок таймера выполнен тональный генератор, на второй половине - ждущий мультивибратор. Вход устройства подключается к ромкоговорителю радиостанции. Выход тонального генератора подключается к микрофонному гнезду передатчика. При поступлении с дешифратора команды на ждущий мультивибратор, срабатывает реле К1 (РЭC-94) и своими контактами К1.1 на две-три секунды выдает сигнал PTT на включение передатчика. Таким образом я, посылая команду с переносного передатчика (в данном случае цифра "4"), получаю в ответ тональную посылку со стационарного передатчика. Очень удобно это устройство при определении зоны действия CB-радиостанции, установленной на автомобиле, не надо задействовать еще одного человека, который сидел-бы на базовой станции. Естественно, что ваша передвижная станция должна иметь "бипер". Плата для устройства не разрабатывалась. Я выполнил ее на макетной плате (Puc.2), оставив на ней запас для монтажа различных дополнительных устройств.
Рис.2
Конечно, кроме предложенного выше сервиса, данное устройство можно использовать для дистанционного включения/выключения различных устройств. Также эта схема подходит для систем радиоуправления моделями. Для этого в передатчике необходимо применить микросхему DTMF кодера, используемого в телефонии в номеронабирателях. Устройство может найти применение и в телефонном аппарате. Дополнив свой телефон схемой автоподнятия трубки (на моем сайте есть несколько схем) можно использовать данное устройство и для управления домашними приборами через телефон.
Телефония
Адаптер автозаписи телефонных сообщений
Схема управления с DTMF декодером
БЛОКИРОВКА ПАРАЛЛЕЛЬНОГО ТЕЛЕФОНА
Индикатор линии на микросхеме
Дистанционное управление 8 нагрузками по телефону
Универсальный DATA-кабель
Индикатор звонка
Замена угольного микрофона в телефоне
Интеpфейс АОH-Z80
ЗАЩИТА ИМПОРТНЫХ ТЕЛЕФОННЫХ АППАРАТОВ
ПРОСТОЙ БЛОКИРАТОР ТЕЛЕФОННОГО НАБОРА
ТЕЛЕФОННЫЕ АДАПТЕРЫ ДЛЯ АВТОЗАПИСИ ИНФОРМАЦИИ
ПРОСТО ТЕЛЕФОН
БЛОКИРАТОР СО СВЕТОВОЙ ИНДИКАЦИЕЙ
РАДИО-ТЕЛЕФОН РТФ-92
ДОРАБОТКА ТЕЛЕФОНА
АДАПТАЦИЯ ИМПОРТНЫХ ТЕЛЕФОНОВ
Устройство удержания телефонной линии
Источник питания АОНа
РАДИОТЕЛЕФОН ИЗ ТЕЛЕФОНА-ТРУБКИ
Музыкальный телефонный вызов
Генератор музыкальной фразы на интегральных таймерах
Защита телефонной линии
Приставка для радиостанции для передачи телефонных переговоров.
Универсальный DATA-кабель
ТЕЛЕФОННЫЕ АДАПТЕРЫ ДЛЯ АВТОЗАПИСИ ИНФОРМАЦИИ
М.ШУСТОВ
634024, г.Томск, ул. 5-й Армии, 9—208.
Адаптеры предназначены для автоматической записи сигналов с телефонной линии и работают в комплекте с магнитофонами. В состав адаптеров входят узел согласования полярности и уровня входного сигнала и порогово-коммутирующее устройство. Узел согласования полярности и уровня входного сигнала (рис.1.,.3) выполнен на основе диодно-мосто-вой схемы и резистивного делителя напряжения.
Использование этого узла позволяет подключать адаптеры к телефонной линии без соблюдения полярности. Порогово-коммутирующее устройство (ПКУ) обеспечивает управление нагрузкой при изменении уровня входного управляющего сигнала (напряжения на линии). В качестве нагрузки могут быть использованы: электродвигатель магнитофона, реле, светодиод оптронной пары, лампа накаливания и т.д. Это устройство работает в бинарном режиме, если на входе устройства — логическая '1'", т.е. трубка телефона положена, напряжение в телефонной линии номинальное (60 В) — нагрузка обесточена. Как только на входе ПКУ появляется логический "0" (трубка снята, напряжение на линии порядка 12 В), нагрузка включается, и происходит автоматическая запись информации. В первой схеме ПКУ (рис. 1) использован составной транзистор VT1, VT2. При уровне логической "1" на входе, напряжение, снимаемое с резистивного делителя R 1, R2, через диод VD5 подается на шину питания. На управляющем переходе транзистора VT1 устанавливается запирающее напряжение (+0,7 В), и нагрузка выключается. Когда на вход схемы подается логический "О", на базу транзистора VT1 поступает отпирающее напряжение, нагрузка включается. Ток нагрузки определяется типом транзистора VT2 (30...100 мА). Другой вариант ПКУ (рис.2) выполнен на основе компаратора (микросхема DA1 К554САЗ), порог срабатывания которого устанавливают резистором R4.
Ток нагрузки устройства может достигать 150..,200 мА. Еще одна схема ПКУ (рис.3) собрана на КМОП-коммутаторе (микро схема DA1 К176КТ1). Незадействованные ключи коммутатора включены параллельно задействованным.
Ток нагрузки выходного транзистора может составлять сотни миллиампер. Сигнал "на запись" подключен ко входу магнитофона. Магнитофон должен работать в режиме записи. В качестве записывающего устройства желательно использовать магнитофон, имеющий автоматическую регулировку уровня записи и надежный лентопротяжный механизм, исключающий заминание ленты. Для защиты входных цепей адаптеров от случайных импульсных перенапряжений типа грозовых разрядов на входе устройства желательно установить разрядники на напряжение порядка 200 В.
Универсальный DATA-кабель
Устройство представляет собой преобразователь уровней логических сигналов обмена сотового телефона и стандартного порта RS-232 (COM порт) и способно формировать сигналы обмена двух типов Rx/Tx и M-bus. Устройство может питаться как от порта компьютера, так и от внешнего источника. Таким образом мы получаем универсальный DATA-кабель, который способен работать практически с большинством телефонов. Однако в некоторых случаях для некоторых моделей трубок требуются другие интерфейсные устройства для более корректной работы (например телефоны фирмы NOKIA), но и данная схема часто позволяет обойтись без дополнительных шнурков. Требуется только укомплектовать его необходимыми разъёмами (коннекторами) для подключения к сотовым телефонам. Необходимый софт и как работать с данным устройством с конкретными моделями телефонов без проблем можно найти в интернете. Также данную схему устройства легко присбособить для программирования современных радиостанций. Для чего требуется всего лишь соответсвуя схеме и режима обмена между устройством и радиостанцией подключить и использовать соответствующий софт. Схема электрическая принципиальная на Рис. 1, схема расположения элементов и подключение на Рис. 2, вид печатной платы со стороны проводников на Рис. 3. Перечень элементов приведен в Табл. 1. Технические характеристики:
Напряжение питания: 5-12V
Ток потребления: не более 15mA
Размеры печатной платы: 62х42mm 
Рис. 1
| Элемент: |
Номинал: |
Количество: |
| С1,С4…С8 |
0.1mF(керамика) |
6 |
| C2,C9 |
100mF x 16V |
2 |
| C3 |
10mF x 16V |
1 |
| DA1 |
TDMAX232(аналог HIM232) |
1 |
| HL1 |
RED (любой) |
1 |
| HL2 |
YELLOW(любой) |
1 |
| HL3 |
GREEN(любой) |
1 |
| R1 |
680 |
1 |
| R2…R4 |
1k |
3 |
| R5,R8,R10 |
4.7k |
3 |
| R6 |
51k |
1 |
| R7,R9 |
10k |
2 |
| VD1…VD3,VD5 |
1N4148(аналог КД521-522) |
4 |
| VD4 |
Стабилитрон 5.1-5.6V |
1 |
| VD6 |
Стабилитрон 2.7-3.3V |
1 |
| VT1…VT4 |
BC548(аналог КТ3102) |
4 |
Табл. 1
Небольшое описание устройства: Преобразователь уровней выполнен на стандартной микросхеме MAX232 (DA1) в типовом включении. Светодиод HL3 индицирует режим работы преобразователя. Светодиоды HL1(Rx) и HL2(Tx) индицируют режимы приема/передачи. Внешний источник питания подключается к разъему XP1. Требуется для некоторых моделей сотовых телефонов, простой пример, телефоны Siemens, иногда им “нехватает” уровня напряжений на выводах Rx/Tx, что решается подключением внешнего источника питания. Преобразователь соединяется с портом RS-232 через разъем XP2 согласно электрической схеме. Преобразователь соединяется с портом телефона через разъем XP4 согласно электрической схеме. Установкой перемычек в SW1 и XP3 выбирается режим работы преобразователя (Rx/Tx или M-bus). 
Рис. 2

Рис. 3
Последние изменение страницы: Monday, 04-Oct-2004 23:45:51 MSD
URL: http://FrikZona.org/sotov/cabele1.shtml
Светодиод HL3 индицирует режим работы преобразователя. Светодиоды HL1(Rx) и HL2(Tx) индицируют режимы приема/передачи.
Внешний источник питания подключается к разъему XP1. Требуется для некоторых моделей сотовых телефонов, простой пример, телефоны Siemens, иногда им "нехватает" уровня напряжений на выводах Rx/Tx, что решается подключением внешнего источника питания.
Преобразователь соединяется с портом RS-232 через разъем XP2 согласно электрической схеме.
Преобразователь соединяется с портом телефона через разъем XP4 согласно электрической схеме.
Установкой перемычек в SW1 и XP3 выбирается режим работы преобразователя (Rx/Tx или M-bus).

Рис. 2

Рис. 3
Последние изменение страницы: Monday, 04-Oct-2004 23:45:51 MSD
URL: http://FrikZona.org/sotov/cabele1.shtml
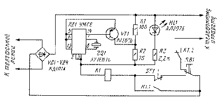
Устройство удержания телефонной линии
Устройство удержания телефонной линии
Предлагаемое устройство выполняет функцию удержания телефонной линии ("HOLD"), что позволяет во время разговора положить трубку на рычаг и перейти к параллельному телефонному аппарату.
Устройство не перегружает телефонную линию (ТЛ) и не создает в ней помех. Во время срабатывания вызывающий абонент слышит музыкальную заставку.
Схема устройства удержания телефонной линии показана на рисунке. Выпрямительный мост на диодах VD1-VD4 обеспечивает нужную полярность питания устройства независимо от полярности подключения его к ТЛ. Переключатель SF1 связан с рычагом телефонного аппарата (ТА) и замыкается при поднятии трубки (т.е. блокирует кнопку SB1 при положенной трубке). Если во время разговора необходимо перейти к параллельному ТА, надо кратковременно нажать кнопку SB1. При этом срабатывает реле K1 (замыкаются контакты K1.1, а контакты K1.2 размыкаются), к ТЛ подключается эквивалент нагрузки (цепь R1R2K1) и отключается ТА, с которого велся разговор. Теперь можно положить трубку на рычаг и перейти к параллельному ТА.
Падение напряжения на эквиваленте нагрузки составляет 17 В. При поднятии трубки на параллельном ТА напряжение в ТЛ падает до 10 В, реле K1 отключается и эквивалент нагрузки отключается от ТЛ.
Транзистор VT1 должен иметь коэффициент передачи не менее 100, при этом амплитуда переменного напряжения звуковой частоты, выдаваемого в ТЛ, достигает 40 мВ. В качестве музыкального синтезатора (DD1) использована микросхема УМС8, в которой "зашиты" две мелодии и сигнал будильника. Поэтому вывод 6 ("выбор мелодии") соединен с выводом 5. В этом случае воспроизводится один раз первая мелодия, а затем вторая бесконечно.
В качестве SF1 можно использовать микропереключатель МП или геркон, управляемый магнитом (магнит должен быть приклеен к рычагу ТА). Кнопка SB1 - КМ1.1, светодиод HL1 - любой из серии АЛ307. Диоды VD1-VD4 - любые, допускающие обратное напряжение не менее 200 В. Реле K1 - РЭС-47 (паспорт РФ4.500.409, РФ4.500.431 или РФ4.500.432).
Устройство выполнено навесным монтажем и в налаживании не нуждается.
Применив резистор R1 сопротивлением 270...390 Ом, можно увеличить падение напряжения на эквиваленте нагрузки до 20...25 В, что позволит использовать такие ТА, при поднятии трубки которых напряжение в ТЛ составляет 15...20 В. Резистор R3 в этом случае применяют сопротивлением 3...3.3 кОм. Падение напряжения на резисторе R2 не должно превышать 3 В, иначе необходимо будет уменьшить сопротивление резистора R2.
ЗАЩИТА ИМПОРТНЫХ ТЕЛЕФОННЫХ АППАРАТОВ
С. Сыч
225876, Брестская обл. Кобринскии р-н, п.Ореховский, ул.Ленина, 17 —1.
Рабочее напряжение корейских телефонных аппаратов — 48 В, а напряжение наших телефонных линии — 60 Вольт. Получается, что импортный телефон не стыкуется с нашей линией. Предлагаемое устройство поможет тому, кто хочет подключить импортный аппарат к телефонной линии.
Защита телефонной линии
Богачёв Алексей г.Пермь
В тех случаях, когда вы хотите защититься от несанкционированного доступа к телефонной линии более простым способом, можно воспользоваться схемой, представленной на рис. 1.Это устройство блокирует как набор номера, так и вызывной сигнал.
Рис.1
Его удобно выполнить в виде отдельной вилки, подключаемой вместо телефонного аппарата (например, при длительном вашем отсутствии).