Миротин Л. Б. - Основы логистики
Настоящее учебное пособие построено на современной концепции товародвижения как нового научно-прикладного направления развития экономики. Дается понятийный аппарат логистики, описываются объекты логистического управления, операции и функции логистики. Рассматриваются логистическая миссия и место логистического менеджмента на фирме. Большое внимание уделяется логистическим системам и их элементам.
Впервые в отечественной экономической литературе анализируется методология логистики, описываются современные логистические системы.
ВВЕДЕНИЕ
В связи со становлением рыночных отношений в России в 1990-е годы появилось и стало активно развиваться новое научно-практическое направление логистика. Причины возрастания интереса к логистике обусловлены потребностями развития экономики и бизнеса.
Первоначально усилия фирм были направлены в основном на снижение себестоимости каждой единицы продукции. В настоящее время, когда предложение повсеместно стало превышать спрос, предприниматели начали признавать также важность обеспечения сбыта за счет снижения общих издержек.
Основные тенденции развития логистики. К основным тенденциям развития логистики относятся следующие факторы.
1. Быстрый рост затрат на перевозку. Традиционные методы распределения стали более дорогостоящими в связи с ростом товарных цен и инфляцией.
Повышение уровня управления предполагает рассмотрение смежных с перевозками аспектов логистики (производство, поставки продукции, распределение, финансы).
2. Достижение пределаэффективности производства. Становится все труднее достигнуть существенного снижения производственных затрат, потому что с производства уже сняты все сливки.
С другой стороны, логистика остается областью, где еще сохраняются значительные потенциальные возможности сокращения издержек фирмы.
3. Фундаментальные изменения в философии запасов. В одно и то же время у розничных продавцов находится приблизительно половина запасов готовой продукции, другая половина у оптовых торговцев и производителей.
Методы управления запасами способны сократить общий уровень запасов и изменить соотношение поддерживаемого запаса к 10% у розничных продавцов и 90% у дистрибьюторов и производителей.
4. Создание продуктовых линий как прямой результат внедрения концепции маркетинга (предоставление каждому потребителю той продукции, которая ему необходима).
5. Компьютерные технологии. Логистическое управление связано с обработкой огромного массива данных.
Сама возможность управления предполагает знание: местоположения каждого потребителя; размера каждого заказа; местоположения средств производства, складов и центров распределения; затрат на перевозку от каждого склада или завода каждому потребителю; доступных видов транспорта и предлагаемого уровня обслуживания; местоположения поставщиков; уровня запасов на каждом складе и центре распределения. Развитие компьютерных технологий позволяет осуществить на практике концепцию логистики.
6. Рост использования компьютеров поставщиками (продавцами) и потребителями. Это позволяет фирмам систематически изучать качество услуг различных поставщиков. На основе такого анализа можно достаточно точно определить уровень обслуживания, предоставляемого поставщиками. Результаты анализа приводят многие фирмы к осознанию необходимости модернизации используемых ими систем распределения.
Некоторые производственные фирмы используют систему поставки материальных ресурсов точно в срок, которая предъявляет очень высокие требования к поставщикам.
Цели логистики. Цель системы физического распределения состоит в снижении затрат, связанных с перемещением готовой продукции от места производства до места потребления и ее хранением в соответствии с требуемым уровнем обслуживания потребителя.
Целью управления материальными ресурсами, которое призвано обслуживать внутрифирменные материальные потоки, является эффективное удовлетворение потребностей фирмы в сырье, материалах, полуфабрикатах и т. п. Цели логистики связаны с координацией физического распределения и управления материальными ресурсами для снижения затрат или улучшения обслуживания потребителя. Чтобы достигнуть этих целей, менеджер по логистике использует три взаимосвязанных концепции системного подхода общих затрат, предотвращения подоптимизации и финансовых обменов.
Концепция общих затрат. В данной концепции функции логистики рассматриваются в целом, а не каждая в отдельности. К логистике относят следующие функции: перевозка продукции; складирование запасов; оптимизация размещения запасов и поставщиков; контроль запасов материальных ресурсов и готовой продукции; погрузочно-разгрузочные работы; обслуживание информационных потоков и т. п. Сутью концепции общих затрат является то, что все затраты рассматриваются как осуществляемые одновременно для обеспечения требуемого уровня обслуживания. При сравнении альтернативных подходов затраты по некоторым функциям увеличатся, по некоторым уменьшатся или останутся на прежнем уровне.
Цель состоит в нахождении альтернативы, которая характеризуется самыми низкими общими затратами.
Концепция предотвращения подоптимизации. Подоптимизация имеет место, когда усилия по совершенствованию отдельной функции не приводят к достижению оптимальных результатов. Примеров подоптимизации в бизнесе достаточно много.
Тем не менее возрастает понимание того, что эффективность отдельной функции, исследуемой изолированно, может отличаться от эффективности функции как части общего логистического процесса. Необходим поиск компромиссных вариантов взаимодействия всех функций, чтобы система в целом достигла оптимального баланса стоимость/эффективность. Например, низкий тариф за перевозку тонны груза может оказаться неприемлемым для системы в целом, если перемещение грузов осуществляется в ущерб скорости и, особенно, надежности обслуживания или если выбранный вид транспорта потребует специальной дорогостоящей упаковки.
Рассмотрим примеры.
Пример 1. Заведующий складом фирмы принимает решение не оплачивать складским рабочим сверхурочное время для погрузки транспортных средств. Это решение направлено на снижение складских издержек, но может повлечь за собой рост общих затрат фирмы, потому что приводит к срыву графика поставок.
Пример 2. Отдел производства стремится минимизировать себестоимость единицы продукции. Для этого менеджер производства планирует организовать крупносерийное производство.
С организацией последнего действительно снижается себестоимость единицы продукции, но возникает избыточный запас.
Концепция финансовых обменов. Вследствие замены функций распределения одни затраты увеличиваются, а другие уменьшаются.
Результатом должно быть уменьшение общих затрат.
Пример 3. Стремясь обеспечить высокий уровень обслуживания потребителей компания Gillette начала использовать воздушный транспорт. После исследования системы распределения было выявлено, что проблема заключалась в медленной обработке заказов.
Упрощение используемой документации позволило сократить время обработки заказов. Gillette возобновила использование относительно более дешевого автомобильного транспорта при сохранении достигнутого уровня выполнения графиков поставки.
В результате относительного увеличения затрат на обработку заказов и сокращения затрат на перевозку общие затраты распределения уменьшились.
Эти основные аспекты логистики, объединенные в процессе принятия управленческих решений, и образуют логистическую концепцию. Эта концепция уникальна не из-за выполняемых функций, так как каждая функция (перемещение продукции, складирование запасов и т. п.), рассматриваемая в отдельности или наряду с другими функциями, по сути дела не меняется.
Уникальность логистики состоит в интеграции всех этих функций в единое целое, в стремлении минимизировать общие затраты распределения для требуемого уровня обслуживания потребителя.
В России накоплен ценный опыт разработки комплексных целевых программ постановки и моделирования локальных и глобальных задач, относящихся к прерогативе макрологистики, в частности задач оптимального управления отраслями и регионами страны, закрепления потребителей за поставщиками, ассортиментной загрузки производства, размещения и оптимальной дислокации крупных складских комплексов и управления много-
номенклатурными запасами, комплексного использования различных видов транспорта в транспортных узлах и др. Широко известны за рубежом работы российских ученых в области системного анализа, технической и экономической кибернетики, исследования операций, теории управления запасами, теории массового обслуживания и других наук, составляющих теоретическую базу современной логистики.
В условиях переходной экономики необходимо переосмысление научно-теоретических и практических разработок отечественных ученых, а также использование зарубежного опыта формирования логистических систем. Логистический подход требует новой методологии, методов и моделей описания объектов управления и принятия управленческих решений, учитывающих специфику рыночных преобразований в России.
В настоящее время ощущается недостаток учебной литературы по рассматриваемой проблематике, что и послужило основанием для подготовки данного учебного пособия.
Настоящая книга является учебным пособием по первой части учебной дисциплины Транспортная логистика, которая читается в течение двух семестров для студентов вузов, обучающихся по транспортным специальностям.
Краткий исторический очерк и происхождение термина
Рассмотрим происхождение термина логистика (англ. logistics). Большинство исследователей сходится на том, что семантика слова восходит к Древней Греции, где logistike обозначало счетное искусство или искусство рассуждения, вычисления.
В Римской империи под логистикой понимались правила распределения продовольствия. Во времена византийского императора Льва VI (866 912) логистика определялась как искусство снабжения армии и управления ее перемещениями.
В частности, немецкий исследователь, профессор Г. Павеллек отмечает, что назначением логистики в Византийской империи было платить жалованье армии, должным образом вооружать и подразделять ее, снабжать оружием и военным имуществом, своевременно и в полной мере заботиться о ее потребностях и, соответственно, подготавливать каждый акт военного похода, т. е. рассчитывать пространство и время, делать правильный анализ местности с точки зрения передвижения армии, а также силы сопротивления противника и в соответствии с этими функциями управлять и руководить, одним словом, распоряжаться движением и распределением собственных вооруженных сил '.
Далее, исторически можно проследить две основные трактовки термина, которые дошли до наших дней. Первая связана с применением логистики в военной области.
По-видимому, толчком к развитию военной логистики послужили фундаментальные работы известного военного теоретика XIX века барона А. А. Жо-мини (17791869), в которых он определял логистику как практическое искусство управления войсками, включающее широкий круг вопросов, связанных с планированием, управлением и снабжением, определением мест дислокации войск, транспортным обслуживанием армии и т. п. В 1884 г. американский институт военно-морского флота ввел понятие логистика для нужд навигации. Широкое развитие принципы логистики получили в годы второй мировой войны в задачах материально-технического обеспечения американской армии, дислоцированной в Европе, а также организации взаимодействия между поставщиками вооружения и продовольствия, транспортом и войсками.
Параллельно с практическим применением во многих странах, прежде всего в США и СССР, развивается теория военной логистики, которая определяет логистику как науку о планировании и управлении перемещением и материально-техническим снабжением войск.
Вторая трактовка термина логистика в значении математической логики использовалась в работах знаменитого немецкого математика Г. Лейбница (16461716). Данное значение термина было закреплено на философском конгрессе в Женеве в 1904 г.
Указанные две основные трактовки понятия логистика имеются в настоящее время практически во всех европейских языках. В табл.
1.1 приведены в хронологическом порядке определения, взятые из некоторых словарей. Более подробный семантический анализ термина приведен в терминологическом словаре по логистике1 .
Исторические предпосылки и этапы развития логистики
Логистика как наука и как инструмент бизнеса в гражданской области стала формироваться в начале 1950-х годов, прежде всего в США. Эволюция логистики тесно связана с историей и эволюцией рыночных отношений в индустриально развитых странах, причем сам термин логистика в бизнесе укоренился и стал повсеместно применяться в мире лишь с конца 1970-х годов.
Логистика является относительно молодой и бурно развивающейся наукой. Многие вопросы, относящиеся к ее понятийному аппарату и терминологии, постоянно уточняются и изменяются, наполняясь новым содержанием. На рис.
1.1 представлена эволюция логистики за рубежом в плане развития теории и практики управления материальными, а также сопутствующими информационными и финансовыми потоками, т. е. решения всего комплекса вопросов, связанных с процессами обращения сырья, материалов и готовой продукции, доведением их от поставщиков до предприятий-производителей и от последних до конечных потребителей в соответствии с их требованиями.
В генезисе логистики XX века можно выделить несколько исторических этапов.
1 Родников А. Н. Логистика: Терминологический словарь. М.: Экономика, 1995.
Период с 1920-х до начала 1950-х годов называется периодом фриемснтаришщш, когда идея логистики как интегрального инструмента снижения общих затрат и управления материальными потоками в бизнесе не была востребована, хотя отдельные логистические функции были важны с точки зрения снижения составляющих затрат, например в производстве, транспортировке, складировании и т. п. Однако общие экономические условия,

Рисунок 1.1. Эволюция логистики
уровень развития технологии и менеджмента не способствовали проявлению феномена логистики.
Рассматриваемый период важен тем, что в нем были сформулированы предпосылки будущего внедрения логистической концепции. К ним можно отнести следующие факторы:
- возрастание запасов и транспортных издержек в системах дистрибьюции товаров;
- рост транспортных тарифов;
- появление и быстрое распространение концепции маркетинга;
- развитие теории и практики военной логистики.
В течение этого периода вышел ряд работ по маркетингу, в которых была вскрыта природа физического распределения как составной части маркетинга, указана его особая роль в организации и повышении эффективности сбыта товаров. Становление концепции маркетинга, как следствие постепенного перехода мировой экономики от рынка производителя к рынку покупателя, явилось ключевым фактором, объясняющим появление логистики в бизнесе.
Данный период характеризовался активным развитием военной логистики, прежде всего в США. К началу 1950-х годов была в основном сформирована теория военной логистики.
Практическая значимость разработанных логистических подходов была доказана американской армией во время открытия второго фронта в годы второй мировой войны, когда были успешно применены принципы единого управления и координации снабжения, складирования и транспорта. Нельзя сбрасывать со счетов и опыт логистической координации работы тыла и транспорта, обеспечения снабжения и перемещения огромных воинских контингентов, осуществляемого советскими военными специалистами в годы Великой Отечественной войны.
Необходимо отметить появление в рассматриваемый исторический период первых логистических организаций и сообществ. Старейшей организацией в США и в мире является Национальная ассоциация проблем управления закупками (основана в 1915 г.), преобразованная в 1967 г. в Национальную ассоциацию агентов снабжения.
Период с середины 1950-х по 1970-е годы западные специалисты называют периодом становления (концептуализации) логистики. Этот период характеризовался быстрым развитием теории и практики логистики. Философия маркетинга широко распространилась в западных организациях бизнеса.
В то же время пришло понимание того факта, что нельзя больше пренебрегать возможностями улучшения дистрибьюции (физического распределения), прежде всего с позиций снижения затрат.
Одним из ключевых факторов стремительной экспансии логистики в западный бизнес явилось возникновение концепции общих затрат в физическом распределении. Смысл этой концеп-
ции заключался в том, что можно так перегруппировать затраты в дистрибьюции, что общий уровень затрат на продвижение товаров от производителя к потребителю уменьшится. Например, переключая перевозки товаров с автомобильного на воздушный транспорт, можно избежать необходимости создания промежуточных складов, т. е. исключить затраты на складирование, хранение и управление запасами. И хотя затраты на собственно транспортировку возрастут, общий уровень затрат в распределительной сети уменьшится. Данный пример подчеркивает внутренние взаимоотношения между двумя важнейшими логистическими функциями: управлением запасами и транспортировкой.
Концепция общих затрат явилась базисом для развития методологии принятия логистических решений. Вместе с этим существовал еще ряд объективных экономических и технологических факторов, объясняющих ускоренное развитие логистики в этот период. К основным из них можно отнести:
- изменения в моделях и отношениях потребительского спроса (развитие олигополистических рынков);
- давление фактора затрат на производство;
- прогресс в компьютерных технологиях;
- изменения в стратегиях формирования запасов;
- влияние военного опыта.
Эти факторы наиболее ярко проявились в 1960-х годах в США. Основными тенденциями на рынке стали усиление внимания к покупателям (в частности, увеличение доли сервисных услуг) и появление большого количества разнообразных товаров, удовлетворяющих одинаковые потребности (конкурентных товаров).
Быстрое развитие олигополистических рыночных структур заставило организации бизнеса искать новые пути координации спроса и предложения, лучшего обслуживания потребителей. Возникли новые логистические подходы к сокращению циклов заказа и производства продукции. Повышение разнообразия товаров почти автоматически привело к значительному возрастанию затрат на создание и поддержание запасов в системах дистрибьюции.
Это, в свою очередь, потребовало поиска новых путей совершенствования товаропроводящих структур и снижения затрат в процессах физического распределения.
За бурным экономическим ростом сразу после второй мировой войны к середине 1960-х годов наметился заметный спад производства и период сжатия долговременной прибыли производителей. Изменение рыночной ситуации, рост олигополистической конкуренции усилили давление фактора затрат на производителей продукции, заставили менеджеров искать новые пути повышения производительности труда, снижения затрат в производстве и дистрибьюции. Новые логистические концепции предос-14
тавили им такую возможность. Кроме того, логистические затраты стали достигать весьма больших размеров.
Одним из важных факторов, способствовавших развитию логистического мышления, было применение в бизнесе вычислительной техники и информационных технологий. Научно-технический прогресс в экономике индустриально развитых стран привел к необходимости решения многоальтернативных и оптимизационных задач, таких, например, как выбор вида транспорта, оптимизация размещения производства и складов, оптимальная маршрутизация, управление многоассортиментными запасами продукции, прогнозирование спроса и потребностей в ресурсах и т. п. Эти задачи не могли остаться без внимания развивающихся компьютерных технологий, которые начали активно внедряться в бизнес с середины 1950-х годов.
В конце 1960-х годов на Западе была сформулирована так называемая концепция бизнес-логистики как интегрального инструмента менеджмента. Основное содержание концепции сводилось к следующему: Логистика это менеджмент всех видов деятельности, которые способствуют движению и координации спроса и предложения на товары в определенном месте и в заданное время.
Вместе с тем в рассматриваемый период не прекращались попытки дать обобщенное определение логистики. Эти попытки в основном исходили от университетских ученых и многочисленных логистических организаций, ассоциаций и сообществ, возникших в разных странах.
Одна из наиболее авторитетных в мире логистических организаций Национальный совет по менеджменту физического распределения (США), преобразованный позднее в Совет логистического менеджмента (СЛМ), в то время определял логистику следующим образом: Логистика широкий диапазон деятельности, связанный с эффективным движением конечных продуктов от конца производственной линии к покупателю, в некоторых случаях включающий движение сырья от источника снабжения до начала производственной линии. Эта деятельность включает в себя транспортировку, складирование, обработку материалов, защитную упаковку, контроль запасов, выбор места нахождения производства и складов, заказы на производство продукции, прогнозирование спроса, маркетинг и обслуживание потребителей. Еще одна известная логистическая организация Американское общество инженеров-логистиков предложила следующее определение: Логистика это искусство и наука управления, техника
и технические приемы и методы, которые предусматривают планирование, снабжение и применение средств перемещения для реализации запланированных операций во имя достижения поставленной цели.
К началу 1970-х годов были сформулированы фундаментальные принципы бизнес-логистики, и некоторые западные фирмы начали их успешно применять на практике. Однако для большинства фирм, заинтересованных в повышении прибыли, логистический подход к контролю и уменьшению затрат еще не стал очевидным.
Кроме того, попытки внедрить логистическую координацию натолкнулись на многих западных фирмах на противодействие среднего и даже высшего звена менеджмента. Менеджеры, которые в течение длительного времени привыкли выполнять традиционные функции, например закупок, транспортировки, грузопереработки, часто препятствовали внедрению организационных изменений, необходимых для реализации сквозного управления материальными потоками на основе концепции снижения общих затрат.
Государственная поддержка функционирования логистических систем
Критериями оптимизации функционирования внутрипроизводственных логистических систем обычно являются минимальная себестоимость продукции и минимальная длительность производственного периода при обеспечении заданного уровня качества готовой продукции. Микрологистические внутрипроизводственные системы могут быть детализированы до производственного (структурного) подразделения предприятия, например цеха, участка или отдельного рабочего места.
Однако в дальнейшем мы будем рассматривать подобные логистические системы только на уровне всего предприятияизготовителя продукции.
Внешние логистические системы решают задачи, связанные с управлением и оптимизацией материальных и сопутствующих потоков от их источников к пунктам назначения (конечного личного или производственного потребления) вне производственного технологического цикла. Таким образом, звеньями внешних логистических систем являются элементы снабженческих и распределительных сетей, выполняющие те или иные логистические операции по обеспечению движения потоков от поставщиков материальных ресурсов к производственным подразделениям фирмы-производителя и от ее складов готовой продукции к конечным
потребителям. Типичными задачами внешних логистических систем являются рациональная организация движения материальных ресурсов и готовой продукции в товаропроводящих сетях, оптимизация затрат, связанных с логистическими операциями отдельных звеньев логистической системы, и общих затрат, сокращение времени доставки материальных ресурсов и готовой продукции и времени выполнения заказов потребителей, управление запасами материальных ресурсов и готовой продукции, обеспечение высокого уровня качества сервиса.
Необходимо отметить один важный момент. Система снабжения производителя материальными ресурсами (система закупок) представляет собой частично или полностью систему сбыта продукции поставщика (группы поставщиков). Принципиальным вопросом является место передачи прав собственности на товар (материальные ресурсы) от поставщика производителю, который выступает для поставщика конечным потребителем. Условия передачи прав собственности обычно закрепляются в договоре поставки (купли-продажи) материальных ресурсов.
При этом могут возникать определенные конфликтные ситуации, связанные с различиями в логистических стратегиях и задачах поставщиков и фирмы-производителя готовой продукции. На практике это часто приводит к тому, что производитель вынужден создавать собственные логистические структуры закупок материальных ресурсов, отличные от распределительных систем поставщиков. Подобные логистические структуры, состоящие из звеньев логистической системы, выполняющих различные логистические операции и функции по транспортировке, складированию, хранению, грузопереработке, вместе с товаропроводящей сетью поставщиков (или ее частями) составляют внешнюю логистическую систему, часто называемую логистической системой снабжения (закупок) фирмы-производителя.
Одной из важных задач логистического менеджмента в такой логистической системе является координация логистических функций и согласование целей с поставщиками и посредниками.
Выделение базисных и ключевых логистических функций привело к появлению внешних логистических систем физического распределения (дистрибьюции), снабжения (закупок) и др. Соответственно в западной и отечественной экономической литературе были предприняты попытки исследования подобных систем и их задач в рамках закупочной, распределительной, сбытовой логистики. Однако в полной мере концепция бизнес-логистики в современном понимании была реализована при появлении интегрированных логистических систем, синтез которых базировался на интегральной парадигме логистики.
С позиций данной парадигмы границы интегрированной микрологистической системы определяются производственно-распределительным (логистическим) циклом, включающим процессы закупки материальных ресурсов и организации снабжения, внутрипроизводственные логистические функции, логистические операции в распределительной системе, при организации продаж готовой продукции потребителям и послепродажном сервисе. Эти процессы, наряду с сопутствующими информационными и финансовыми потоками, образуют операционную функциональную логистическую среду, в которой интегрально взаимодействуют многочисленные внутрифирменные звенья логистической системы и логистические посредники.
Логистический менеджмент в интегрированной логистической системе представляет собой такой управленческий подход к организации работы фирмы и ее логистических партнеров (посредников), который обеспечивает наиболее полный учет временных и пространственных факторов в процессах оптимизации управления материальными, финансовыми и информационными потоками для достижения стратегических и тактических целей фирмы на рынке. Определяющими для формирования интегрированных логистических систем являются концепции минимизации общих логистических издержек и управления качеством на всех этапах производственно-распределительного цикла.
Иногда внутрипроизводственные и внешние логистические системы рассматривают как подсистемы интегрированной логистической системы. На рис.
4.3 в укрупненном виде представлена схема микрологистической системы. Базисные логистические функции (снабжение, производство, сбыт) реализуются в зависимости от поставленных перед логистической системой целей и критериев оптимизации путем создания специальной организационно-функциональной структуры, которая включает в себя высший логистический менеджмент, осуществляющий координацию и интегрированное управление материальными (финансовыми, информационными) потоками, и множество звеньев логистической системы.
Звенья логистической системы могут быть как внутрифирменными подразделениями (транспортными, производственными, складскими, грузоперерабатывающими и т. п.), так и привлеченными предприятиями, организациями и учреждениями (логистическими посредниками), выполняющими те или иные логистические операции и функции. На рис. 4.3 показаны логистические функции, выполняемые звеньями логистической системы в процессах снабжения, производства и сбыта.
Кроме прямых материальных потоков ресурсов и готовой продукции на схеме показаны возвратные материальные потоки (ВМП), образуемые в товаропроводящих сетях сбыта (дистрибьюции) и снабжения возвращаемой готовой продукцией, тарой, возвратными (вторичными) материальными ресурсами и отходами.
Для достижения этой цели управляющие воздействия в микрологистической системе реализуются обычно на внутрифирменном уровне специальным отделом логистики или интегральным менеджером, принимающим решения и координирующим работу всех элементов системы.
Макрологистической системой будем считать систему, назначением которой не является извлечение прибыли или достижение каких-либо других корпоративных целей организации бизнеса, создаваемую на уровне территориального или административно-терри -ториального образования длярешения социально-экономических, экологических, военных и других задач подобного рода. Макрологисти-ческие системы могут быть классифицированы (рис.
4.2) по нескольким признакам. По признаку административно-территориального деления страны различают следующие виды логистических систем:
- районные,
- межрайонные,
- городские,
- областные и краевые,
- региональные,
- межрегиональные,
- республиканские,
- межреспубликанские.
По объектно-функциональному признаку могут быть выделены макрологистические системы для группы предприятий одной или нескольких отраслей, ведомственные, отраслевые, межведомственные (межотраслевые), торговые, военные, институциональные и т. п. В западной практике часто используется понятие глобальных макрологистических систем, к которым относят государственные (транснациональные) системы, формируемые на уровне страны в целом, межгосударственные (международные) системы, охватывающие несколько стран, и трансконтинентальные системы, создаваемые в пределах нескольких континентов.
Цели создания макрологистических систем могут в значительной степени отличаться от целей и критериев построения микро-логистических систем. Для фирмы в качестве критериев оптимизации ее функционирования в рыночной среде бизнеса и соответственно формирования логистической организации и управления могут применяться, например, такие критерии, как минимум общих логистических издержек, максимальный объем продаж готовой продукции (или прибыли), завоевание максимальной доли рынка, удержание позиций на рынке сбыта, максимальная величина курсовой стоимости акций и т. п.

.
Представление логистической системы в качестве следящей системы управления: векторы параметров входных потоков; а рассогласование; U вектор управляющих воздействий на объект; У, FT, С векторы параметров выходных потоков
при этом является наиболее полное удовлетворение запросов потребителей относительно качества продукции, сроков выполнения заказов, уровня логистического сервиса.
В большинстве случаев критерий минимума общих логистических издержек используется и при построении макрологисти-ческих систем. Однако зачастую критерии формирования макро-логистических систем определяются экологическими, социальными, военными, политическими и другими целями. Например, для улучшения экологической обстановки в регионе может быть создана макрологистическая система оптимизации транспортных (грузовых) региональных потоков, решающая задачи оптимизации маршрутов, развязывания транспортных потоков, переключения перевозок с одного вида транспорта на другой и т. д. В мак-рологистических системах могут решаться такие задачи, как формирование межотраслевых материальных балансов; выбор видов и форм снабжения и сбыта продукции, ориентированных на определенные группы потребителей и производителей; размещение на заданной территории складских комплексов общего пользования, грузовых терминалов, диспетчерских (логистических) центров; выбор вида транспорта и транспортных средств; организация транспортировки и координация работы различных видов транспорта в транспортных узлах; оптимизация административно-территориальных распределительных систем для многоассортиментных материальных потоков и т. п.
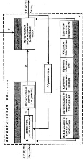
С позиций общей теории управления, в частности по аналогии с автоматизированными системами управления (АСУ), логистическую систему как на микро-, так и на макроуровне можно представить в виде синергии субъекта и объекта логистического управления, поддерживаемой комплексом обеспечивающих подсистем (рис. 4.4).
При таком подходе в большинстве реально функционирующих логистических систем реализуется кибернетический принцип следящей системы управления.
Согласно этому принципу, субъект (управляющая система) непрерывно отслеживает выходные параметры материальных (информационных, финансовых) потоков, сравнивая их с заданной настройкой, определяемой целевой функцией и ограничениями, накладываемыми на управление в логистической системе. Используя введенные выше для звена логистической системы обозначения (рис.
4.1), настройкой логистической системы назовем кортеж Y, R, С, который сравнивается в измерителе рассогласования с выходным кортежем векторов объекта управления Г, R', С. В результате сравнения может возникнуть рассогласование а, появление которого вызвано влиянием на объект управления вектора внешних возмущений F или изменением вектора Zвнутренних параметров состояния логистической системы. В зависимости от величины рассогласования а логистический регулятор (координатор) формирует вектор ^управляющих воздействий на объект, которые должны постоянно в рассматриваемый период времени стремиться свести рассогласование к нулю.
Для поддержки процессов логистического управления в логистической системе обычно формируется комплекс подсистем, состоящий из информационного, организационного, экономического, технического, правового, эргономического, экологического и других видов обеспечения.
Государственная поддержка функционирования логистических систем
Специфической чертой инфраструктуры товарных рынков во многих странах является органическое сочетание децентрализованных начал и государственного управления. Зарубежный опыт показывает, что рыночные отношения тесно взаимосвязаны с государственным регулированием производства и товарообращения, осуществляемым экономическими и правовыми методами в интересах развития национальной экономики и мирохозяйственных связей. Объективная необходимость в государственной поддержке предприятий вызвана, по крайней мере, двумя обстоятельствами. Во-первых, тем, что, преследуя собственные интересы, логистические посредники призваны обеспечивать нужды обслуживаемых ими предприятий и организаций, надежность и эффективность оказываемых услуг.
Во-вторых, органы государственного управления призваны координировать интересы логистических посредников и обслуживаемых ими предприятий, содействовать обеспечению взаимовыгодных отношений между ними.
Вместе с тем в настоящее время органы власти субъектов Российской Федерации не оказывают заметного влияния на деятельность предприятий, занятых предоставлением логистических услуг. Между ними не сложились какие-либо системные отношения, кроме отношений по уплате установленных налогов.
Применительно к инфраструктуре рынков товаров производственно-технического назначения и ее важнейшему элементу оптово-посредническим структурам, оказывающим логистические услуги, методы государственного управления включают:
- государственное прогнозирование на долгосрочную, среднесрочную и краткосрочную перспективу {стратегическое управление);
- косвенное управление с помощью экономических и правовых методов;
- научно-методическое обеспечение развития инфраструктуры и его координацию {индикативное управление);
- прямое управление с помощью экономических и организационно-правовых методов регулирования товарного рынка и его инфраструктуры.
Все указанные методы государственного управления могут эффективно использоваться, если базируются на системе наблюдений (мониторинге) и анализе состояния и показателей функционирования логистических посредников. Такая система должна удовлетворять следующим требованиям:
- быть адаптируемой к возможностям современных средств передачи и обработки информации;
- предусматривать, что информация должна аккумулироваться и обрабатываться как дискретно, так и путем накопления данных, опираться, главным образом, на статистическую отчетность, а также на дополнительно запрашиваемые сведения и данные анкетных опросов;
- наблюдения должны проводиться по показателям, определенным с непосредственным участием исследователей, и осуществляться на уровне федеральных и региональных органов власти.
В процессе анализа необходимо учитывать конечные цели государственного управления, экономическую эффективность функций управляющей подсистемы, показатели, непосредственно и косвенно отражающие развитие л огистико-посреднической деятельности через количественные и качественные оценки. Наряду с экономическими нужно принимать во внимание показатели социальной эффективности, которые взаимосвязаны и в целом выступают как показатели социально-экономической эффективности системы управления.
Государственное воздействие на деятельность логистических систем, опирающееся на механизм мониторинга, анализа деятельности логистических посредников и прогнозирования, сводится к использованию следующих методов: рекомендательных (индикативные правила организации и технологии хозяйственной деятельности, координации учета и анализа ее показателей, другие средства научно-методического обеспечения функционирования субъектов инфраструктуры); методов косвенного управления (экономическая поддержка предприятий); прямого управления отдельных элементов инфраструктуры как естественных монополий, государственные закупки).
На базе информации, накапливаемой по наблюдениям за состоянием деятельности логистических систем, и прогнозных оценок разрабатываются меры по содействию развитию этих систем путем подготовки методических материалов информационного и рекомендательного характера. Указанные материалы могут включать:
- информацию об особенностях различных логистических посредников, используемых первичных и сводных показателях их деятельности;
- информацию о прогрессивном опыте логистических посредников с учетом сведений об их новациях и инициативах;
- рекомендации по формам и методам логистико-посреднической деятельности, повышению ее эффективности, а также развитию отдельных видов такой деятельности;
- инструкции или методические положения по определению эффективности деятельности логистических посредников.
Таким образом, рекомендательные методы государственного воздействия способствуют координации деятельности логистических посредников, обеспечению их информацией об опыте хозяйствования, внедрению научных разработок.
Использование методов косвенного управления преследует цели развития инфраструктуры товарных рынков, координации информационных потоков, поддержке эффективных инноваций, развития интеграционных процессов в логистических системах. Как и при воздействии на развитие новых видов логистического обслуживания, здесь могут использоваться методы индикативного управления.
Государственная поддержка выражается также в нормативно-правовом регулировании, создании благоприятных экономических условий функционирования логистических посредников.
Эффективное государственное регулирование предполагает активное участие региональных органов управления в развитии инфраструктуры товарных рынков, в экономическом стимулировании логистических посредников при их селективной финансовой поддержке. Необходимо, чтобы стимулировались предприятия, во-первых, направляющие доходы на развитие своей материально-технической базы; во-вторых, осваивающие новые виды обслуживания; в-третьих, занятые в наибольшей мере материально-техническим обеспечением социальной сферы; и, в-четвертых, участвующие в поставках продукции для государственных нужд и в чрезвычайных ситуациях. Средствами экономического стимулирования служат:
- снижение налогов с доходов, используемых для инвестиций в эффективное развитие предприятий и увеличение объемов их деятельности;
- содействие в предоставлении кредитов предприятиям, развивающим новые виды логистических услуг;
- предоставление льготных кредитов предприятиям, занятым обслуживанием организаций социальной сферы и поставками продукции для государственных нужд;
- выделение льготных кредитов при осуществлении закупок, завоза продукции и создании ее страховых запасов на случаи чрезвычайных ситуаций;
- частичная компенсация транспортных расходов по завозу на склады продукции для государственных нужд;
- выделение целевых дотаций предприятиям, оказывающим новые виды логистических услуг, на их социальные нужды;
- погашение (на заранее согласованных условиях) задолженности тех логистических посредников, которые принимают активное участие в рационализации товарных потоков и содействуют обеспечению экономии расходов местных бюджетов на развитие транспортных терминалов либо других складских объектов регионального значения.
Наряду с рекомендательными и методами косвенного управления используются методы прямого управления. С учетом выделения блоков хозяйствования, которые находятся в полном ведении государства и связаны с обеспечением движения материальных потоков, эти методы заключаются в организационно-правовом регулировании и контроле за функционированием соответствующих элементов инфраструктуры. Это прежде всего государственное регулирование естественных монополий. В России оно осуществляется в сфере железнодорожных перевозок и перевозок в труднодоступные районы, при оказании услуг транспортными терминалами и в других сферах товародвижения.
Государственное регулирование естественных монополий состоит прежде всего в определении цен (тарифов) или предельного уровня цен на оказываемые услуги, а также использовании других методов воздействия и контроля за деятельностью субъектов естественных монополий.
К методам прямого экономического регулирования товарного рынка и его инфраструктуры относится и механизм обеспечения поставок продукции для государственных нужд. При этом может быть использован зарубежный опыт формирования государственных заказов для выполнения целевых программ, например в США.
Нужно учитывать, что в отдельных странах государственные закупки являются важнейшей составляющей рыночной системы, а во многих ее сегментах они в значительной степени определяют конъюнктуру рынка (так, государственный спрос в экономике США составляет до 20% валового национального продукта и охватывает широкую номенклатуру конечной продукции). Как показывает мировая практика, рынок государственных закупок может стать достаточно действенным инструментом государственного регулирования экономических процессов.
Если оценивать отечественную практику, то российская экономика находится еще на начальной стадии формирования системы обеспечения государственных нужд в условиях рыночных отношений. Наиболее острой проблемой в этой области является обеспечение эффективности расходования бюджетных средств, выделяемых для государственных закупок.
Важнейшим инструментом решения этой проблемы являются торги (конкурсы, тендеры). Торги следует рассматривать как особый способ выдачи заказов на поставку товаров, предполагающий привлечение предложений от нескольких участников и выбор наиболее эффективного варианта.
Другим важным условием формирования систем заказов и поставок продукции для государственных нужд является участие в них логистико-посреднических организаций, что будет способствовать усилению их роли в процессе товародвижения и повышению эффективности логистической деятельности.
Организация управления товародвижением в России охватывает решение задач и координационные функции, выполняемые органами управления, и структуризацию этих функций. Задачами государственных структур на федеральном и региональном уровнях управления следует считать: разработку и реализацию государственной научно-технической политики развития процессов товародвижения и товаропроводящей сети, формирования инфраструктуры товарного рынка; инициирование развития экономических методов управления; координацию процесса товародвижения и деятельности субъектов товарных рынков по организации и осуществлению товародвижения. Для решения этих задач федеральные и региональные органы власти должны выполнять следующие основные функции:
- составление прогнозов развития товаропроводящей сети, имеющей приоритетное значение для обеспечения хозяйственных связей внутри- и межрегиональных, со странами ближнего и дальнего зарубежья;
- прогнозирование внедрения новейших форм, методов и технологий товародвижения при прямых хозяйственных связях между товаропроизводителями и потребителями и при использовании складских предприятий логистических посредников;
Информационные потоки в логистике
Всесторонний анализ всех выше названных факторов невозможен без участия специалистов, работающих на фондовом рынке, знающих его и способных предсказывать изменения конъюнктуры. Опыт деятельности подобных специалистов показывает, что в большинстве случаев предложенная схема дает положительный результат при финансовых операциях, осуществляемых в пределах 30 дней.
Примерная схема движения товарного и финансового потоков в условиях использования предприятием-покупателем государственных и муниципальных ценных бумаг для повышения эффективности закупочных операций представлена на рис. 2.3. Для упрощения схемы потоковых процессов мы исходили из предположения о том, что коммерческий банк, в котором у предприятия-покупателя открыт расчетный счет, является для него одновременно и банком-кредитором (при получении ссуды), и банком-дилером (при покупке ценных бумаг).
В действительности же такая ситуация встречается не всегда, но может, по нашему мнению, считаться оптимальной.
Анализ рис. 2.3. показывает, что логистический финансовый поток (т. е. финансовый поток, обусловленный движением основного товарного потока потока товарно-материальных ценностей) по источникам образования является заемным, поскольку формируется за счет кредитных ресурсов коммерческого банка.
В то же время собственные денежные средства предприятие-покупатель использует для приобретения государственных или муниципальных ценных бумаг, что образует финансовый поток 2, сопутствующий логистическому финансовому потоку. В свою очередь, движение ценных бумаг вызывает появление нового товарного потока потока товарно-нематериальных ценностей, поскольку ценные бумаги также являются товаром.
Следует отметить, что оптимизировать движение вышеназванных товарных потоков можно как каждого в отдельности, так и обоих вместе. Однако только во втором случае использование логистического подхода к управлению потоковыми процессами принесет наибольший экономический эффект для конкретного предприятия.
Кроме государственных и муниципальных ценных бумаг в хозяйственной деятельности предприятий с целью минимизации их налоговых платежей могут применяться процентные и дисконтные векселя, обращение которых значительно изменяет схему движения финансовых потоков. Так, например, при использовании во взаиморасчетах простого процентного векселя сумма платежа за поставку товаров разбивается на две части номинал векселя и проценты по векселю, что позволяет снизить стоимость товаров и уменьшить величину налога с оборота. Для предприятия-покупателя, выписавшего простой процентный вексель пред-приятию-продавцу, номинал векселя будет отражать стоимость купленных товаров, а проценты по нему плату за отсрочку платежа, которая полностью учитывается в составе издержек производства и обращения.
В свою очередь, для продавца, получившего такой вексель за свои товары, налогом на добавленную стоимость и другими налогами с оборота будет облагаться только номинал векселя, а проценты по нему будут считаться доходом по ценным бумагам, по которому в настоящее время уплачивается налог по ставке 15%. При применении простого процентного векселя порядок движения товарного и финансового потоков может быть представлен следующей схемой (рис.
2.4).
В последнее время на рынке ценных бумаг широкое распространение получили переводные дисконтные векселя различных эмитентов, как правило, применяемые для улучшения взаиморасчетов при организации поставок продукции. Приобретение переводного векселя по цене ниже номинальной стоимости обусловливает возможность экономии определенной суммы денежных средств при расчетах с предприятием-векселедателем за его товары и услуги.
Кроме того, предприятия, имеющие задолженность по отношению к векселедателю, охотно принимают его векселя от третьих лиц (в качестве оплаты за поставки своих товаров) и используют их для погашения долга. Однако при использовании переводного векселя механизм финансового обслуживания логистического товарного потока еще более усложняется. Примерная схема движения финансового потока в этом случае может иметь вид, представленный на рис.
2.5.
По аналогии с механизмом финансового обслуживания товарного потока при использовании простого векселя, логистический финансовый поток при применении переводного векселя считается таковым только при условии выполнения всех указанных операций по обращению переводного векселя. Причем погашение векселя (поток 6) может осуществляться как путем его оплаты денежными средствами векселедателем в установленный срок, так и путем взаимозачетов существующих обязательств между контрагентами.
В целом, проведенный анализ финансового механизма обслуживания товарных потоков показал, что:
- во-первых, наличие логистического финансового потока главным образом обусловлено существованием обслуживаемого им товарного потока;

Рисунок 2.5. Схема движения товарного и финансового потоков при использовании переводного векселя:
1 движение денег, используемых для приобретения переводного векселя покупателем продукции;
2 выдача переводного векселя покупателю;
3 движение продукции (товарный поток);
4 передача переводного векселя продавцу продукции;
5 предъявление векселя при наступлении положенного срока;
6 погашение векселя
- во-вторых, направление, объем, источник возникновения и время начала движения финансового потока зависят от согласованной продавцом и покупателем товаров формы расчетов и предусмотренных в договоре купли-продажи дополнительных условий платежа;
- в-третьих, получившая в последнее время широкое распространение практика использования различных видов ценных бумаг для оптимизации взаиморасчетов между продавцами и покупателями товаров, с одной стороны, значительно усложнила механизм финансового обслуживания товарных потоков, с другой повысила его эффективность. По мнению некоторых специалистов в области логистики и финансового планирования, при соблюдении определенных условий схемы взаиморасчетов с использованием ценных бумаг позволяют экономить от 10 до 30% от суммы платежа за поставку товаров.
Кроме того, необходимо учитывать, что конкретный механизм финансового обслуживания товарных потоков зависит и от характера хозяйственных связей: прямых (устанавливаемых непосредственно между продавцом и покупателем продукции) или опосредованных (устанавливаемых с участием коммерческого посредника). Специфика опосредованных хозяйственных связей, определенная наличием в логистической цепи третьего субъекта коммерческого посредника, обусловливает необходимость исследования особенностей применения логистического инструментария в сфере оказания посреднических услуг по организации и обслуживанию движения продукции от предприятий-производителей к предприятиям-потребителям.
Информационные потоки в логистике
Роль информационно-компьютерной поддержки логистического менеджмента трудно переоценить. Современное состояние логистики во многом определяется бурным развитием и внедрением во все сферы бизнеса информационно-компьютерных технологий. Реализация большинства логистических концепций (систем) была бы невозможна без использования быстродействующих компьютеров, локальных вычислительных сетей, телекоммуникационных систем и информационно-программного обеспечения.
Значение информационного обеспечения логистического процесса настолько важно, что многие специалисты выделяют особую информационную логистику, имеющую самостоятельное значение в бизнесе и управлении информационными потоками и ресурсами.
Назовем информационным потоком поток сообщений вречевой, документной (бумажной и электронной) и другой форме, генерируемый исходным материальным потоком в рассматриваемой логистической системе, между звеномлогистической системы илилогис-тической системой и внешней средой, и предназначенный дляреали-зации управляющих функций. Классификация информационных потоков приведена на рис.
2.6.
По отношению к логистическим операциям и функциям можно выделить элементарные, комплексные, ключевые и базисные информационные потоки. По отношению к логистической системе (или ее отдельным звеньям) информационные потоки делятся на:
- внутренние и внешние (соответственно циркулирующие внутри логистической системы (или ее отдельного звена) или между логистической системой и внешней средой);
- горизонтальные, относящиеся к одному уровню иерархии логистической системы, и вертикальные от верхнего уровня логистического менеджмента к низшему;
- входные и выходные по отношению к входу (выходу) логистической системы (или ее отдельного звена).
По виду носителей информации наиболее распространенными являются потоки на бумажных носителях (документы), а при использовании компьютерных технологий обработки информации на магнитных носителях (магнитных лентах, дисках), в виде электронных видеограмм и т. п.
По времени возникновения информации различают регулярные (стационарные) потоки, соответствующие регламентированной во времени передаче данных, периодические потоки (с жестким ограничением на время передачи) и оперативные потоки, обеспечивающие связь абонентов в интерактивном и диалоговом режимах on line и off line. В зависимости от назначения выде-

Рисунок 2.6. Классификация информационных потоков
ляют директивные (управляющие) информационные потоки, потоки нормативно-справочной информации, информации для учета и анализа при принятии решений и вспомогательные информационные потоки.
Возрастание роли информационных потоков в современной логистике обусловлено следующими основными причинами. Во-первых, для потребителя информация о статусе заказа, наличии товара, сроках поставки, отгрузочных документах и т. п. является необходимым элементом потребительского логистического сервиса.
Во-вторых, с позиций управления запасами в логистической цепи наличие полной и достоверной информации позволяет сократить потребность в запасах и трудовых ресурсах за счет уменьшения неопределенности уровня спроса. И наконец, в-третьих, информация увеличивает гибкость логистической системы с точки зрения того, как, где и когда можно использовать ресурсы для достижения конкурентных преимуществ.
Логистический менеджмент фирмы оперирует многочисленными показателями и характеристиками информационных потоков: номенклатурой передаваемых сообщений, типами данных, документами, массивами данных; интенсивностью и скоростью передачи данных; специальными характеристиками (пропускной способностью информационных каналов, защитой от несанкционированного доступа, помехозащищенностью и др.).
Как уже отмечалось, между информационным и материальным потоком отсутствует изоморфность (т. е. однозначное соответствие, синхронность во времени возникновения). Как правило, информационный поток либо опережает материальный, либо отстает от него.
В частности, само зарождение материального потока обычно является следствием информационных потоков в ходе, например, переговоров по сделкам купли-продажи товаров, составления контрактов и т. д. Типичным является наличие нескольких информационных потоков, сопровождающих материальный.
Характерным примером большого разрыва во времени возникновения материальных и информационных потоков являются форвардные сделки на еще не поставленный (или не произведенный) товар на товарных биржах.
Информационные потоки, сопровождающие отдельные логистические функции, например производственные процедуры, транспортировку, управление запасами и заказами, могут быть очень сложными и насыщенными в плане схем документооборота, количества документов и реквизитов. При выполнении, например, смешанных железнодорожно-морских международных перевозок грузов используется до 160 оригинальных документов, тысячи реквизитов, а взаимодействие по информационным потокам осуществляется между двумя десятками логистических посредников. Указанные обстоятельства приводят к необходимо-
сти уменьшения бумажного документооборота за счет электронной обработки данных, упрощения технологических схем документооборота, внедрения международных стандартов электронной передачи и обработки информационных логистических потоков на основе, например, стандарта ООН EDIFACT.
Информационные потоки в логистической системе определяются конкретными потребностями логистического менеджмента при выполнении отдельных функций планирования, регулирования, анализа, контроля и учета. В качестве примера на рис.
2.7 представлена схема источников информации и возникающих информационных потоков при планировании размещения запасов готовой продукции фирмы в распределительной сети.
На схеме представлены четыре основных источника, генерирующие информационные потоки при планировании фирмой запасов готовой продукции в складской системе дистрибьюции: запросы потребителей, прогнозы объема продаж, решения в дистрибьюции и логистические издержки по управлению запасами в распределительной сети. Информация, отражающая запросы потребителей, детализирует классы и группы потребителей в определенном сегменте рынка, схемы доставки готовой продукции каждой группе и организацию логистического сервиса и т. д. Типовые элементы информационных потоков этого источника представлены в табл.
2.1. Они включают четыре группы информационных потоков: продуктовые требования, стоимость готовой продукции, процедуры заказов и доставки готовой продукции потребителям. Информационные источники для прогнозирования объема продаж включают в себя такие данные, как:
- ретроспективная информация о продажах конкретного ассортимента продукции;
- объемы продаж товаров конкурентов;
- общий объем продаж данного сегмента рынка;
- общий рыночный спрос на готовую продукцию;
- точность и достоверность ретроспективной информации;
- стадии жизненного цикла товара и составляющие логистических циклов;
- планируемые изменения характеристик готовой продукции;
- планы продвижения товара на рынок;
- ценовые изменения;
- стратегии (маркетинговая, продуктовая) возможных конкурентов;
- экономические тенденции в изменении структуры потребительского спроса;
- технологические тенденции в данной отрасли промышленности;
- краткосрочные прогнозы наличия готовой продукции в системе дистрибьюции;
Информационные потоки, характеризующие решения в дистрибьюции, можно разделить, в свою очередь, на две большие группы: потоки, характеризующие временные условия операций в распределительной сети, и потоки, отражающие точность и достоверность данных. Информация, уменьшающая неопределенность временных параметров дистрибьюции, включает данные о цикле выполнения заказа (время получения и обработки заказа, формирования отправки на выбранный пункт размещения запасов, время диспетчеризации, мониторинга и т. д.).
Временные параметры транспортировки связаны с выбором схемы доставки, вида транспорта, маршрута, мониторинга транспортировки и т. п. Наконец, длительность цикла получения заказа включает информацию о пункте назначения и времени прибытия груза, времени погрузки-разгрузки, оформления документов и т. п. Информационные потоки, связанные с уменьшением неопределенности других параметров дистрибьюции, учитывают условия поставки, количественные и качественные параметры выполняемых заказов, требования полноты, точности и достоверности информации при управлении запасами.
Проанализированные информационные потоки для одной функции логистического менеджмента планирования и одной логистической функции управления запасами уже дают представление о сложности, многообразии и большой размерности информационных потоков в логистической системе.
Разнообразные информационные потоки, циркулирующие внутри и между элементами логистической системы, между логистической системой и внешней средой, образуют своеобразную логистическую информационную систему (ЛИС), которая может быть определена как интерактивная структура, включающая персонал, оборудование и процедуры (технологии), которые объединены информационным потоком, используемым логистическим менеджментом для планирования, регулирования, контроля и анализа функционирования логистической системы. Организационная структура логистической информационной системы может быть представлена в виде схемы, адаптированной к известной структуре информационной системы в маркетинге, предложенной Ф. Котлером ' (рис.
2.8).
Как видно из рис. 2.8, организационная структура логистической информационной системы может быть укрупненно сформирована из четырех подсистем: управления процедурами заказов, научных исследований и связи, поддержки логистических решений и генерирования выходных форм и отчетов.
Эти взаимосвязанные подсистемы осуществляют информационно-компьютерную поддержку всех функций логистического менеджмента и связь с микро- и макрологистической внешней средой.
Прежде чем перейти к описанию отдельных подсистем логистической информационной системы, рассмотрим ее функциональную структуру, которая традиционно в западной литературе по логистическому менеджменту представляется в виде пирамиды (рис. 2.9).
В основании функциональной пирамиды логистической информационной системы лежит система операций между звеньями логистической системы, определяющая взаимоотношения между

Рисунок 2.8. Организационная структура логистической информационной системы
функциональными подразделениями фирмы (в плане реализации логистических функций), логистическими посредниками и потребителями продукции фирмы. На схеме отражены только ключевые функции, связанные со вторым уровнем информационных процедур контроля и учета. Указанные два функциональных уровня логистической информационной системы обычно непосредственно связаны с системой дистрибьюции готовой продукции фирмы, в частности с деятельностью центров распределения.
На уровне анализа логистические региональные или административные менеджеры фирмы в основном используют информацию в тактических целях для маркетинга, прогнозирования финансовых и операционных производственных показателей. Наконец, на верхнем стратегическом уровне логистика определяет стратегию менеджмента и связана со стратегическим корпоративным планированием и миссией фирмы.
Характеристики системных уровней функциональной структуры логистической информационной системы связаны с достижением определенных стратегических и тактических целей фирмы и конкурентных преимуществ, что отражено в табл. 2.2.
Таблица характеризует развитие логистической информационной системы и получение на этой основе конкурентных преимуществ за счет повышения качества продукции (сервиса) и снижения логистических издержек.
В организационной структуре логистической информационной системы в качестве одной из основных подсистем выделена подсистема управления процедурами заказов, что обусловлено непосредственным контактом этой подсистемы с потребителями в процессах обработки и выполнения заказов. Большое значение в этой подсистеме имеет использование концепции электронного обмена данными и основанных на ней стандартов EDI.
Подсистема научных исследований и связи отражает влияние внешней и внутренней среды фирмы на процесс логистического менеджмента и осуществляет взаимодействие между звеньями логистической системы и функциями управления за счет:
- интеграции логистического планирования с корпоративным планированием;
- взаимодействия логистического менеджмента с другими корпоративными функциями;
- стратегических установок для организационной структуры логистической системы и персонала;
- интеграции информационных технологий;
- подготовки или покупки технологических решений и использования посредников;
- адаптации к условиям фирмы форм логистических цепей, каналов и сетей, а также функций управления;
- акцентирования на производительности и качестве услуг в логистике.
Логистическая миссия и логистическая среда фирмы
п. Эти и другие задачи операционного менеджмента решаются, например, микрологистическими внутрипроизводственными системами типа планирования потребностей/ресурсов, оптимальных производственных технологий, KANBAN и др.
К одной из ключевых логистических функций относится и ценообразование. Стратегия ценообразования тесно связана с маркетинговой и логистической стратегиями фирмы-производителя продукции.
Логистическая стратегия задает уровень общих логистических издержек, составляющих базу цены готовой продукции, а от маркетинговой стратегии зависит планируемый уровень рентабельности и окончательная цена продажи готовой продукции потребителю, определяемая конъюнктурой рынка, уровнем цен конкурентов и прогнозами спроса.
К поддерживающимлогистическим функциям обычно относят:
- складирование;
- грузопереработку;
- защитную упаковку;
- обеспечение возврата товаров;
- обеспечение запасными частями и сервисное обслуживание;
- сбор возвратных отходов;
- информационно-компьютерную поддержку.
Складирование представляет собой логистическую функцию управления пространственным размещением запасов и предусматривает выполнение таких задач, как определение числа, типа и дислокации складов; объема (площади) хранения материальных ресурсов, готовой продукции; планирования размещения запасов; проектирования зон транспортировки, сортировки, погрузки-разгрузки; выбор погрузочно-разгрузочного и другого складского оборудования и т. п.
Грузопереработка (обработка грузов) обычно осуществляется параллельно со складированием и также обеспечивает функцию поддержания запасов. Элементарные логистические операции, из которых складывается процесс грузопереработки, представляют собой перемещение материальных ресурсов или готовой продукции на складе, размещение продукции на складских стеллажах и т. п. Данная комплексная логистическая функция обычно связана с выбором технологического оборудования для организации перемещения грузов по складу, погрузочно-разгрузочного оборудования; организацией процедур сортировки, консолидации или комплектования грузов для выполнения заказов и транспортировки; поддержанием рационального объема грузооборота склада и т. д.
В процессах дистрибьюции готовой продукции производителей важная роль принадлежит защитной упаковке, обеспечивающей сохранность грузов, доставляемых потребителям различными видами транспорта. Кроме того, упаковка имеет большое значение в маркетинге, так как от ее привлекательности в значительной степени зависит потребительский спрос.
Применение в физическом распределении стандартных типоразмерных рядов тары и упаковки позволяет значительно снизить логистические издержки за счет согласования объемных модулей тары и упаковки с грузовместимостью транспортных средств, а также технологическими параметрами складских помещений и грузоперерабатывающего оборудования.
К логистическим поддерживающим функциям относятся также различные процедуры возврата товаров, которые по каким-то причинам не удовлетворяют покупателей или не прошли гарантийного срока службы. Наряду с организацией сервисного обслуживания, ремонта оборудования и обеспечения потребителей запасными частями процедуры возврата готовой продукции пред-приятиям-изготовителям образуют систему послепродажного сервиса, которую иногда относят к ключевым логистическим функциям.
В процессах производства и сбыта готовой продукции возникают так называемые вторичные материальные ресурсы, которые состоят из отходов производства (возвратных и невозвратных) и отходов производственного и личного потребления. Вто-

ричные материальные ресурсы образуют специфические материальные потоки, управление которыми в настоящее время также относят к объекту исследования логистики.
Современные логистические системы не могут функционировать без информационно-компьютерной поддержки.Во многомименно электронная обработка информации о материальных и финансовых потоках, автоматизация документооборота при организации товародвижения, планирование, организация, регулирование, учет, контроль и анализ материальных потоков на компьютерах в снабжении, производстве и сбыте сделали возможной реализацию современной интегральной концепции логистики. Информационно-компьютерная поддержка применяется в настоящее время практически для всех логистических действий как на микро-, так и на макроэкономическом уровне.
Рассмотренные логистические функции являются основными, но не исчерпывают всего их многообразия в плане возможных действий над материальными потоками, потоками услуг и связанными с ними информационными и финансовыми потоками в современном бизнесе.
На рис. 3.1 представлена схема-классификация логистических операций и функций. На схеме дополнительно в качестве одной из ключевых логистических функций показано физическое распределение. В западной экономической литературе до сих пор продолжается дискуссия об этой комплексной логистической функции.
Некоторые западные исследователи считают физическое распределение чуть ли не синонимом логистики, другие подменяют им понятие дистрибьюция. На наш взгляд, это связано с эволюцией логистической концепции на Западе, когда в период с 1950-х до середины 1970-х годов термин физическое распределение, по существу, использовался вместо термина логистика, но в понятийном плане представлял собой менеджмент готовой продукции в товаропроводящих структурах сбыта фирм-произво-дителей продукции и торговых посредников (см. главу 1, рис. 1.1).
Не противоречя значению, вкладываемому в это понятие западными исследователями, можно дать следующее определение: фи-зическоераспределение это комплекснаялогистическая функция, являющаяся составной частью процесса дистрибьюции и включающая в себя все логистические операции, связанные с физическим перемещением и хранением готовой продукции в товаропроводящих структурах производителей и (или) логистических посредников.
Логистические операции и функции задаются начальными условиями, параметрами внешней среды, альтернативами стратегии, характеристиками целевой функции. Для определения объема логистических операций и функций фирмы следует учитывать внешние, межцеховые, межучастковые, межоперационные, внут-рискладские и прочие грузопотоки, которые зависят от целого ряда факторов, и в первую очередь, от уровня организации производства. Факторы, влияющие на объем логистических операций и функций, могут быть сгруппированы в следующие группы:
1. Отраслевые факторы:
- номенклатура, габариты и масса потребляемых фирмой материалов и комплектующих изделий;
- число поставщиков материальных ресурсов;
- число получателей готовой продукции;
- существующая система организации внешних перевозок (централизованные перевозки, перевозки, осуществляемые фирмой или ее партнерами);
- наличие проектно-технологических организаций для разработки проектов совершенствования комплекса логистических операций;
- наличие посреднических фирм, занимающихся комплексной поставкой материальных ресурсов;
- наличие инновационных пусконаладочных предприятий.
2. Региональные факторы:
- существующая в регионе система связей с поставщиками материальных ресурсов и потребителями продукции фирмы (непосредственная, через оптовые базы в регионе или вне его);
- наличие специализированных предприятий по обеспечению перевозок внутри региона, специализированных предприятий по изготовлению и ремонту стандартных средств механизации погрузочно-разгрузочных и транспортно-складских работ и тары.
3. Внутрипроизводственные факторы:
- габариты и масса изготовляемой продукции;
- объем выпуска продукции;
- тип производства (единичное, мелкосерийное, крупносерийное, массовое);
- форма организации производственного процесса (технологическая, предметная, подетальная специализация);
- генеральный план предприятия (взаимное расположение производственных подразделений и складов, рельеф местности, наличие подъездных путей);
- компоновка технологического оборудования;
- строительные характеристики складских и производственных помещений (число пролетов, высота, допустимая нагрузка на пол и перекрытия и пр.).
На объем логистических операций, обслуживающих межцеховые грузопотоки, значительное влияние оказывает сложность производственной структуры, существующая система складирования и организации межцеховых перевозок. В зависимости от этих факторов межцеховые грузопотоки могут значительно превышать объем внешних грузопотоков предприятия.
Модель определения объема логистических операций для материальных потоков логистической системы фирмы будет иметь следующий вид:
Оло = ІоГ + Хо,с,
/=) /=1
где Оло общий объем логистических операций:
0,п объем логистических операций на грузопотоках логистической системы (/' =1, п число грузопотоков логистической системы);
Оу объем логистических операций на складах логистической системы (J =1, к число складов логистической системы).
В наиболее распространенной организационной структуре предприятия общий объем логистических операций рассчитываются по следующей формуле:
Оло=+0зс+мц+с,+о:У+о:0,
где 0н объем логистических операций на внешних грузопотоках (прием, отправление);
С?з объем логистических операций на общезаводских складах;
О^ц объем логистических операций на межцеховых грузопотоках;
Оцмц объем логистических операций на цеховых и межцеховых складах;
Ому объем логистических операций на цеховых и межучастковых грузопотоках;
0му объем логистических операций на межучастковых складах;
Qm0 объем логистических операций на межоперационных грузопотоках.
Дальнейшее перемещение грузов уже не является объектом изучения логистики, так как оно становится частью технологического процесса обработки, а хранение осуществляется в накопительных устройствах технологического оборудования.
С концептуальных позиций можно выделить следующие функции логистики.
Системообразующая функция. Логистика представляет собой систему эффективных технологий обеспечения процесса управления ресурсами.
В узком смысле слова логистика образует систему управления товародвижением (формирование хозяйственных связей, организация перемещения продукции через места складирования, формирование и регулирование запасов продукции, развитие и организация складского хозяйства).
Интегрирующая функция. Логистика обеспечивает синхронизацию процессов сбыта, хранения и доставки продукции с ориентацией их на рынок средств производства и оказание посреднических услуг потребителям.
Она обеспечивает согласование интересов логистических посредников в логистической системе. Логистика позволяет осуществить переход от частных, локальных экстремумов к общей оптимизации.
Регулирующая функция. Логистическое управление материальными и сопутствующими потоками направлено на экономию всех видов ресурсов, сокращение затрат живого и овеществленного труда на стыке различных организационно-экономических уровней и отраслей. В широком смысле управляющее воздействие заключается в поддержании соответствия поведения части логистической системы интересам целого. Чем выше ресурсный потенциал какой-либо подсистемы, тем больше она в своей деятельности должна ориентироваться на стратегию логистической системы.
В противном случае при превышении подсистемой определенного, наперед заданного уровня автономности может возникнуть опасность разрушения самой системы.
Результирующая функция. Логистическая деятельность направлена на поставку продукции в необходимом количестве, в указанное время и место, с заданным качеством (состоянием), при минимальных издержках.
Логистика стремится охватить все этапы взаимодействия снабжениепроизводствораспределение-потребление, иначе говоря, она представляет собой алгоритм преобразования ресурсов в поставку готовой продукции в соответствии с существующим спросом.
В практическом плане на современном этапе развития логистический подход состоит в установлении адекватности материального, финансового и информационного потоков, определении технологии оптимального перемещения ресурсов и товаров, выработке стандартный требований к качеству товаров и их упаковке, выявлению центров возникновения потерь времени, нерационального использования материальных и трудовых ресурсов, оборудования и т. п.
Логистическая миссия и логистическая среда фирмы
Задачи логистики на фирме нельзя рассматривать в отрыве от стратегических целей ее бизнеса. В этом смысле на Западе часто используют понятие миссия, определяющее философию фирмы на рынке сбыта ее продукции (услуг). При формулировке миссии фирмы ее высший менеджмент должен ответить на два основных вопроса: что представляет собой фирма в настоящее время и каковы основные направления ее развития?
Таким образом, миссия это тот исходный фундамент, который определяет все даль -нейшие стратегические и тактические цели и задачи фирмы и принимаемые на их основе решения.
На современном этапе развития рыночных отношений для большинства фирм в заявляемых ими миссиях так или иначе присутствует цель максимального удовлетворения требований потребителей к качеству товаров и услуг, порожденная широко распространившейся за рубежом философией всеобщего управления качеством. Глобализация экономики привела к тому, что современные потребители исходят из набора ожиданий, установленного в соответствии с характеристиками продукции самых лучших компаний в мире, требуют более высокого качества товаров и услуг по более низкой цене, ожидают быстрой реакции на их запросы и т. п. Фирмы все более оцениваются не только с точки зрения качества их продукции и сервиса, но и способности поставлять готовую продукцию вовремя, в небольших объемах к непосредственному месту потребления.
Потенциал логистики как раз и позволяет реализовать целевые установки фирмы в рамках ее миссии, являясь стратегическим фактором в условиях усиления конкуренции. В этом плане логистическую миссию за рубежом часто трактуют, как правило семи R, или логистический микс (по аналогии с маркетинговым миксом): ensuring the availability of the right product, in the right quantity and the right condition, at the right place, at the right time, for the right customer, at the right cost1, что можно перевести как обеспечение наличия нужного продукта в требуемом количестве и заданного качества в нужном месте в установленное время для конкретного потребителя с наименьшими затратами. В правиле семи R отраженві существенные черты логистической миссии организации бизнеса, ключевыми из которых являются качество продукции, время и затраты. Фирма должна разрабатывать логистическую миссию, не противоречащую общей маркетинговой и производственной стратегии.
Целью логистики на фирме должно быть обеспечение общего менеджмента материальных и сервисных потоков как основы для достижения долговременного успеха в бизнесе. Отсутствие миссии и четкой стратегии логистики может поставить фирму в позицию наблюдателя, с запозданием реагирующего на рыночную динамику спроса, не имеющего ясной перспективы в будущем.
Логистическая миссия должна обеспечить фирме систему видения качества ее продукции и услуг, уровня ее конкурентоспособности, интеграции снабженческой, производственной и маркетинговой стратегии, обеспечить реализацию кредо фирмы, позиционирования ее на рынке и относительно конкурентов.
Для более четкого понимания места логистики (логистического менеджмента) на фирме необходимо рассмотреть ее окружение логистическую среду фирмы, которую обычно подразделяют на внешнюю (макросреду) и внутреннюю (микросреду). На рис.
3.2 представлена схема, отражающая воздействия на логистику факторов внешней и внутренней (внутрифирменной) среды.
Факторы внешней (макрологистической) среды фирмы укруп-ненно можно разделить на политические, экономические, правовые, технологические, социальные и экологические. Политические факторы, отражая общую политическую ситуацию в стране и мире, оказывают существенное влияние на организации бизнеса, определяя их стратегическое ( в том числе и логистическое) поведение, например в плане принятия стратегических решений по расширению или свертыванию бизнеса, инвестиционной и финансовой политики, политики дистрибьюции, экспортно-импортных операций и т. д.
Экономические факторы необходимо рассматривать в многоаспектном плане:
- на уровне экономики страны в целом в разрезе макроэкономических показателей и индикаторов (курса национальной валюты, уровня инфляции, среднего темпа прироста валового национального продукта, темпов развития промышленного производства, биржевых индикаторов и т. п.);

Рисунок 3.2. Факторы, воздействующие на логистику
- на отраслевом и региональном уровнях (темпы и ограничения развития отдельных отраслей и территорий, динамика реструктуризации, инвестиционная политика в отраслях и регионах, динамика отраслевой производительности труда и т. д.);
- в разрезе рынков факторов производства (рынков труда, землепользования, капитала), финансового рынка, банковской системы;
- в разрезе анализа спроса и предложения на рынке конечных товаров и услуг, анализа возможных конкурентов и т. д.
Правовые факторы определяются законодательными нормами. Основой правовой базы логистики в России являются Конституция РФ, Гражданский кодекс, налоговое, таможенное законодательство, законы о банках, биржах и т. д.
Группа технологических факторов, имеющих важное значение для логистики (см. раздел 1.2), характеризует как общий уровень научно-технического потенциала страны, так и технологический уровень отдельных отраслей и инфраструктуры экономики. Важную роль для продвижения логистической концепции играет уровень развития транспортных и телекоммуникаций, информационнокомпьютерных систем, гибких автоматизированных и роботизированных производств, транспортных и грузоперерабатывающих средств, электроники и микропроцессорной техники и т. д. Принципиальное значение имеет внедрение новых (инновационных) технологий и технических средств, обеспечивающих эффективную реализацию логистических функций.
Для развития логистики приоритетное значение имеют социальные факторы (миграция населения, динамика структуры рабочего и свободного времени, структура трудовых ресурсов, уровень культуры и т. п.), а также экологические факторы, связанные прежде всего с развитием транспорта и транспортных коммуникаций в плане уменьшения их вредного воздействия на окружающую среду. В США, Японии, странах ЕС приняты различные программы защиты окружающей среды, которые непосредственно влияют на формируемые микро- и макрологистические системы и принятие логистических решений.
Среди факторов внутрифирменной (микрологистической) среды укрупненно можно выделить функциональные сферы производства, маркетинга, финансов, используемые трудовые ресурсы, а также влияние высшего управленческого персонала. Подробно эти факторы проанализированы в последующих разделах данной главы.
Место логистического менеджмента на фирме
Уточним понятие логистического менеджмента и определим его место в общей структуре менеджмента фирмы. С позиций теории управления в рыночной экономике понятие менеджмент трактуется в двух смыслах: во-первых, как совокупность средств и форм управления производством и сбытом для достижения стратегических, тактических и оперативных целей и задач фирмы; во-вторых, как инструмент управления взаимоотношениями персонала фирмы с внешними партнерами по бизнесу и с потребителями продукции (услуг).
В первом смысле, логистический менеджмент на фирме представляет собой синергию основныхуправ-ленческихфункций (организации, планирования, регулирования, коор -динации, контроля, учета и анализа) с элементарными и комплексными логистическими функциями для достижения целей логистической системы.
Во втором смысле логистический менеджмент это управленческий персонал, который по своей роли в управленческой иерархии фирмы и организационных уровнях логистической системы можно подразделить на:
- высший управленческий персонал (top management) например, интегральный менеджер, начальник отдела логистики, члены исполнительной дирекции фирмы, выполняющие функции логистических менеджеров, и т. п.
- средний управленческий персонал (middle management, supervisors) руководители структурных подразделений логистической системы, отдельных звеньев логистической системы и т. п.
- персонал нижних звеньев управления фирмы (lower management).
При построении современных логистических систем большое значение имеет определение места логистического менеджмента в общей структуре управления фирмой и определение областей взаимодействия с другими сферами менеджмента. Современная система менеджмента фирмы представляет собой композицию организационной структуры управления с функционально-ориентированными сферами деятельности (финансы, инвестиции, производство, маркетинг и сбыт, инновации, персонал и т. п.), объединенными стратегическими, тактическими и другими целями.
С точки зрения логистики осуществление функций стратегического (тактического, оперативного) и функционального менеджмента должно способствовать реализации логистической миссии фирмы, согласованной с маркетинговой и производственной стратегиями. Система менеджмента фирмы может быть представлена в виде схемы (рис.
3.3).
Особенностью логистического менеджмента является то, что он как по стратегическим, так и по тактическим (оперативным) целям и задачам связан со всеми функциональными областями менеджмента (инвестиционного, инновационного, производственного, финансового, информационного, управления персоналом) в процессах управления закупками материальных ресурсов, производством и сбытом готовой продукции. Зачастую бывает очень трудно разделить сферы действия логистического и других видов менеджмента (особенно производственного, инвестиционного, финансового, информационного).
Поэтому обычно выделяют основную координирующую и интегрирующую функции логистического менеджмента на высшем уровне иерархии управления фирмой.
Вышесказанное относится и к трем важнейшим сферам организации бизнеса: производству, маркетингу и логистике. Особенно активные споры среди специалистов до сих пор ведутся по поводу разграничения функций и взаимодействию маркетинга и логистики. По-видимому, первопричиной этих споров является то, что логистическая концепция бизнеса появилась и начала развиваться сначала именно в сфере распределения, системах сбыта готовой продукции товаропроизводителей, относящихся и к сфере маркетинга.
В западной литературе по логистике для разделения сфер и описания взаимодействия между производством, маркетингом и логистикой используется понятие полезность, или утилита {utility). Считается, что процедуры производства, маркетинга и логистики добавляет определенную полезность к исходным материальным ресурсам, образуя общую полезность готовой продукции для потребителя (рис. 3.4).
Аналогичный подход справедлив и для услуг.
Утилита формы реализуется в процессе производства изделия или сборки готовой продукции в промышленности, когда материальные ресурсы (сырье, материалы, комплектующие изделия и т. п.) преобразуются некоторым образом в конечный продукт, добавляя к исходному сырью стоимость и образуя полезность новой формы продукта. В современном бизнесе некоторые логистические операции также обеспечивают утилиту формы. Например, сортировка, консолидация, разукрупнение и другие элементарные логистические операции изменяют форму готовой продукции (в основном в системах дистрибьюции) путем изменения грузовых размеров и упаковочных характеристик.
Так, разукрупнение паллетов в индивидуальные упаковки, пригодные для продажи покупателям, добавляют утилиту формы к готовой продукции.
Однако для логистики фундаментальными являются утилиты места и времени. Как уже отмечалось, одной из ключевых логистических функций является транспортировка перемещение товаров из мест, где имеются их излишки (запасы), в места, где существует спрос на эти товары.
Материальные потоки и их параметры
Благодаря этому значительно повышаются роль, авторитет и эффективность оптово-торговых посредников на рынках товаров и услуг.
Многоплановое влияние оказывают логистические подходы на функции органов государственного управления в условиях развития рыночных отношений. Во-первых, востребуются их координационные функции. Это связано с тем, что в последний период хозяйственные связи формируются спонтанно, по инициативе отдельных предприятийпоставщиков и потребителей (продавцов и покупателей), а также и с тем, что получили развитие многочисленные посреднические структуры со своими складами. В обоих случаях товарные потоки нуждаются в экономическом регулировании и координации.
В масштабе регионов функции координации товарных потоков призваны выполнять местные органы власти.
Во-вторых, в региональных органах управления получает развитие деятельность, носящая рекомендательный и научно-методический характер (индикативное управление) как одна из форм оказания государственной поддержки логистическим структурам. Органы управления могут сами использовать услуги этих структур для рационализации транспортно-складского процесса в регионе, сокращения складских перевалок, транспортных издержек и получения общей экономии ресурсов в региональном процессе управления материальными потоками. В-третьих, с помощью логистических методов органы управления изыскивают дополнительные источники для улучшения бюджетных возможностей.
Например, благодаря регулированию цен на логистические услуги могут быть сокращены затраты предприятий на оплату этих услуг и созданы условия для повышения доходов государственного бюджета.
В-четвертых, использование логистических подходов органами управления должно способствовать развитию межотраслевых связей предприятий промышленности, транспорта, торговли. Логистическое управление материальными и информационными потоками на федеральном и региональном уровнях может осуществляться в рамках координационных и межведомственных структур.
В-пятых, логистические методы управления получают развитие в области межгосударственных связей. Поэтому они могут учитываться и широко использоваться в системе внешнеэкономических отношений России с другими странами ближнего и дальнего зарубежья, при образовании транснациональных финансово-промышленных групп.
Таким образом, развитие логистических функций государственных структур, использование методов логистического управления оказывает влияние на совершенствование экономической политики государства, повышение эффективности проводимых реформ.
Материальные потоки и их параметры
Объектом исследования логистики как науки и объектом управления логистики как сферы предпринимательства является система материальных, информационных, финансовых и других потоков. Принципиальное отличие логистического подхода от предшествующего ему управления движением материальных ресурсов состоит в том, что теперь объектом управления стал поток множество объектов, воспринимаемое как единое целое.
Главными категориями логистики являются поток и запас, которые друг без друга просто не могут существовать. Очевидно, в долгосрочном периоде все совокупности ресурсов представлены в виде потоков, а запасы могут рассматриваться как частные случаи последних.
Но в краткосрочном периоде в прагматическом плане допустимо и целесообразно рассмотрение потоков и запасов как паритетных логистических категорий.
Потокпредставляетсобой совокупность объектов, воспринимаемую как единое целое, существующую как процесс на некотором вре -менном интервале и измеряемую в абсолютных единицах за определенный период времени. Параметры потока это параметры, характеризующие число объектов, которые имеются в наличии в конкретный момент времени, и измеряемые в абсолютных единицах. Между статическими величинами запасов и динамическими характеристиками потоков существует тесная взаимосвязь:
- поток (77) характеризует процесс изменения запаса (3), т. е.

- запас отражает результат изменения и накопления потока, т. е. **
3 = jndt
t, ¦
Категории потока и запаса широко используются в макроэкономических моделях, правда, без столь глубокой и детализированной проработки, которая необходима в логистике. Потоки и
запасы в логистике являются частным случаем обобщенных экономических категорий, впрочем, так же, как и логистические закономерности частным проявлением общеэкономических законов. В ряде экономических исследований различие между потоком и запасом далеко не очевидно.
Основные параметры, характеризующие поток, следующие: его начальный и конечный пункты, геометрия пути (траектория), длина пути (мера траектории), скорость и время движения, промежуточные пункты, интенсивность. Для описания потоков и работы с ними необходима хотя бы самая простая классификация, которую целесообразно выстраивать по следующим признакам.
1. По отношению к рассматриваемой системе:
а) внутренние потоки циркулируют внутри системы
Р е S,
где р поток;
S рассматриваемая система;
б) внешние потоки поступают в систему извне и/или покидают ее пределы
P,S,p2S.
2. По степени непрерывности:
а) непрерывные потоки в каждый момент времени по траектории потока перемещается определенное количество объектов
P = lt(t)dt\
б) дискретные потоки образуются объектами, перемещаемыми с интервалами
п
Р=ІРІ-
І=1
3. По степени регулярности:
а) детерминированные потоки характеризуются определенностью параметров на каждый момент времени
Р = f(t)\
б) стохастические потоки характеризуются случайным характером параметров, которые в каждый момент времени принимают определенную величину с известной степенью вероятности
Р, = ІР,і = 1.
/=1
где Рр вероятность состояния потока.
4. По степени стабильности:
а) стабильные потоки характеризуются постоянством значений параметров в течение определенного промежутка времени
Р = f(t) = const; f, t t2\
б) нестабильные потоки характеризуются флуктуационным характером изменения потока
Р = f(t) * const.
5. По степени изменчивости:
а) стационарные потоки характерны для установившегося процесса, их интенсивность является величиной постоянной
, п
Я = у = const,
где Я интенсивность потока;
п количество прошедших единиц;
Г временной период;
б) нестационарные потоки характерны для неустановивше-гося процесса, их интенсивность меняется в течение определенного периода времени
Я = f(t) * const.
6. По характеру перемещения элементов потока:
а) равномерные потоки характеризуются постоянной скоростью (V) перемещения объектов, т. е. в одинаковые отрезки времени t объекты проходят одинаковый путь; интервалы начала и завершения движения объектов также равны
S = Vt;
б) неравномерные потоки характеризуются изменением скорости перемещения, возможностью ускорения, замедления, остановки в пути, изменения интервалов отправления и прибытия
S = Vt\ V * const.
7. По степени периодичности:
а) периодические потоки характеризуются постоянством параметров или постоянством характера их изменения через определенный период времени Т
Р = ЦТ)\
б) непериодические потоки характеризуются отсутствием закономерности изменения параметров потока
р = ту, t,*T.
8. По степени соответствия изменения параметров потока заранее заданному ритму:
а) ритмичные потоки;
б) неритмичные потоки.
9. По степени сложности:
а) простые (дифференцированные) потоки состоят из объектов одного вида
ре {р,};
б) сложные (интегрированные) потоки объединяют разнородные объекты
п
Р = Хр,-.
/=1
10. По степени управляемости:
а) управляемые потоки адекватно реагирующие на управляющее воздействие г, со стороны управляющей системы
Р = f({r,));
б) неуправляемые потоки не реагирующие на управляющее воздействие rt
р* W).
Вышеизложенные принципы классификации потоков являются общепринятыми. Такая классификация в основном дает возможность изучить потоки, рассматриваемые в логистике, и применить адекватный им механизм регулирования.
Однако по мере роста числа потоков и их напряженности в сферах производства и обращения может возникнуть потребность подразделения потоков еще по одному признаку.
11. По степени упорядоченности элементов потока:
а) ламинарные потоки в них взаимное перемещение составляющих элементов отсутствует либо носит целенаправленный, управляемый характер; они имеют регулярный характер и способны меняться во времени лишь при изменении внешних условий или управляющих воздействий. Для характеристики потоков с данной точки зрения необходимо ввести следующие понятия:
- вязкость (ц) свойство потока сопротивляться перемещению одной части его элементов относительно другой под воздействием внешней среды:
- внутреннее трение і:) характеристика изменения скорости потока относительно разных слоев его элементов (возникает при перемещении элементов потока относительно друг друга)
Л?
где А V изменение скорости потока при перемещении в направлении, перпендикулярном направлению движения потока на величину слоя элементов потока Аи;
- текучесть пп) характеристика скорости перемещения одинакового слоя данного потока под влиянием внешней среды; это величина, обратная вязкости
1
Ф=
0
б) турбулентные потоки характеризуются хаотическими взаимными перемещениями элементов потока, вызывающими флуктуационные изменения практически всех показателей потока и существенно затрудняющими процесс управления потоком.
Материальный поток это продукция (в виде грузов, деталей, товарно-материальных ценностей), рассматриваемая в процессе приложения кнейразличныхлогистических(транспортировка, складирование и др.) и/или технологических (механообработка, сборка и др.) операций и отнесенная к определенному временному интервалу. Материальный поток не на временном интервале, а в данный момент времени переходит в материальный запас.
Материальный поток внешний материальный поток, протекающий во внешней (по отношению к логистической системе) среде.
Материальный поток внутреннийматериальный потоквнут-ри данной логистической системы.
Материальный поток входной внешний материальный поток, поступающий в данную логистическую систему из внешней среды.
Материальный поток выходнойвнешний материальныйпоток, поступающий из данной логистической системы во внешнюю среду.
Грузовой потокколичество грузов, перевезенных отдельными видами транспорта в определенном направлении от пункта отправления до пункта назначения за определенный период (обычно за год).
Финансовые потоки
В условиях как формирующейся, так и стабильно развивающейся рыночной экономики повышение эффективности движения товарных потоков достигается, главным образом, за счет улучшения их финансового обслуживания, что, в свою очередь, обусловливает необходимость выделения и изучения логистических финансовых потоков, соответствующих перемещению товарно-материальных и товарно-нематериальных ценностей. Следует отметить, что товарно-материальные ценности включают в себя все виды материальных благ, в том числе и такой их специфический вид, как недвижимость, а к товарно-нематериальным ценностям в настоящее время относятся услуги, капитал и нематериальные активы.
В процессе перемещения от одного хозяйствующего субъекта к другому совокупность определенных товарноматериальных или товарно-нематериальных ценностей может рассматриваться в качестве соответствующего товарного потока, движение которого обусловлено выполнением целого ряда логистических операций.
Механизм финансового обслуживания товарных потоков является в настоящее время наименее изученной областью логистики: часть вопросов, касающихся его содержания, вообще не рассматривается в специальной литературе, по другой части вопросов существуют значительно различающиеся точки зрения. Различия наблюдаются уже при определении сущности финансовых потоков. Можно выделить два основных подхода к изучению данной проблемы:
- во-первых, под финансовым потоком понимается любое перемещение финансовых средств в макро- или микроэкономической среде;
- во-вторых, под финансовым потоком понимается движение финансовых средств только в логистических системах или между ними.
Финансовые потоки в том или ином виде существовали всегда при любых способах организации предпринимательской деятельности хозяйствующих субъектов. Однако, как показала практика, наибольшая эффективность их движения достигается при применении логистических принципов управления материальными и финансовыми ресурсами, что и обусловило появление новой экономической категории логистический финансовый поток. Следовательно, логистические финансовые потоки создаются и используются для обеспечения эффективного движения товарных потоков.
При этом их специфика заключается в первую очередь именно в потребности обслуживания процесса перемещения в пространстве и во времени соответствующего потока товарноматериальных или товарно-нематериальных ценностей.
Таким образом, под финансовым потоком в логистике мы будем понимать направленное движение финансовых средств, циркулирующих в логистической системе, а также между логистической системой и внешней средой, необходимых для обеспечения эффективного движения определенного товарного потока. Из этого определения следует, что:
- во-первых, логистический финансовый поток это не просто движение финансовых ресурсов, а их направленное движение;
- во-вторых, направленность движения финансовых ресурсов в логистике обусловливается необходимостью обеспечения перемещения соответствующего товарного потока;
- в-третьих, движение финансовых ресурсов осуществляется либо в логистической системе, либо между нею и внешней средой.
Логистические финансовые потоки неоднородны по своему составу, направлению движения, назначению и ряду других признаков. Потребность в определении наиболее эффективных способов управления логистическими финансовыми потоками обусловливает необходимость проведения их подробной классификации.
Для классификации финансовых потоков в логистике используются следующие основные признаки: отношение к логистической системе; направление движения; назначение; способ переноса авансированной стоимости; форма расчета; вид хозяйственных связей.
По отношению к конкретной логистической системе различают внешние и внутренние финансовые потоки. Внешний финансовый поток протекает во внешней среде, т. е. за границами рассматриваемой логистической системы.
Внутренний финансовый поток существует внутри логистической системы и видоизменяется за счет выполнения с соответствующим товарным потоком целого ряда логистических операций. В свою очередь, внешние логистические финансовые потоки по направлению движения подразделяются на входящие и выходящие финансовые потоки:
- входящий финансовый поток поступает в рассматриваемую логистическую систему из внешней среды;
- выходящий финансовый поток начинает свое движение из рассматриваемой логистической системы и продолжает существовать во внешней среде.
По назначению логистические финансовые потоки можно разделить на следующие группы:
- финансовые потоки, обусловленные процессом закупки товаров;
- инвестиционные финансовые потоки;
- финансовые потоки по воспроизводству рабочей силы;
- финансовые потоки, связанные с формированиемматериальных затрат в процессе производственной деятельности предприятий;
- финансовые потоки, возникающие в процессе продажи товаров.
По способу переноса авансированной стоимости на товары
логистические финансовые потоки подразделяются на потоки финансовых ресурсов, сопутствующие движению основных фондов предприятия (к ним относятся инвестиционные финансовые потоки и частично финансовые потоки, связанные с формированием материальных затрат), а также на потоки финансовых ресурсов, обусловленные движением оборотных средств предприятия (к ним относятся все остальные группы финансовых потоков, выделяемые нами при их классификации по назначению). В зависимости от применяемых форм расчетов все финансовые потоки в логистике можно дифференцировать на две большие группы:
- денежные финансовые потоки, характеризующие движение наличных финансовых средств;
- информационно-финансовые потоки, обусловленные движением безналичных финансовых средств.

Рисунок 2.1. Простейшая схема движения товарного и финансового потоков
В свою очередь, денежные финансовые потоки делятся на потоки наличных финансовых ресурсов по рублевым расчетам и по расчетам валютой, а к информационно-финансовым потокам относятся потоки безналичных финансовых ресурсов по расчетам платежными поручениями, платежными требованиями, инкассовыми поручениями, документарными аккредитивами и расчетными чеками. Наряду с денежными и информационно-финансовыми потоками существуют учетно-финансовые потоки. В отличие от первых двух видов, образующихся при организации финансовых расчетов между предприятием-продавцом и предпри-ятием-покупателем, учетно-финансовые потоки возникают в ходе производства товаров или оказания услуг на стадии увеличения авансированной стоимости. Под увеличением авансированной стоимости понимается процесс формирования материальных затрат в производственной деятельности конкретного предприятия.
Движение финансовых ресурсов в рамках названного процесса и характеризуют логистические учетно-финансовые потоки.
По видам хозяйственных связей различаются горизонтальные и вертикальные финансовые потоки. Первые отражают движение финансовых средств между равноправными субъектами предпринимательской деятельности, вторые между дочерними и материнскими коммерческими организациями.
Следует отметить, что можно и дальше продолжить классификацию финансовых потоков, используя для этой цели такие признаки, как стадия кругооборота капитала, источники получения финансовых средств, сроки их прохождения и т. д. Однако поскольку необходимость классификации финансовых потоков обусловливается потребностью определения наиболее эффективных способов управления ими, то будем считать, что в каждом конкретном случае следует устанавливать свой, особый состав классификационных признаков логистических финансовых потоков.
Основной целью финансового обслуживания товарных потоков в логистике является обеспечение их движения финансовыми ресурсами в необходимых объемах, в нужные сроки, с использованием наиболее эффективных источников финансирования. В самом простом случае каждому товарному потоку соответствует свой единственный финансовый поток.
Например, предприятие-продавец на основании договора купли-продажи поставляет предприятию-покупателю приобретенную им продукцию, перемещение которой и образует товарный поток. Предприятие-покупатель, применяя определенную в договоре форму расчетов, производит оплату поставки этой продукции, перечисляя денежные средства предприятию-продавцу, которые, в свою очередь, образуют финансовый поток.
На рис. 2.1 приводится характерная для данного примера схема движения товарного и финансового потоков.
Из рис. 2.1 видно, что товарный и финансовый потоки имеют диаметрально противоположную направленность, однако прямолинейность последнего возможна лишь в условиях оплаты поставки продукции наличными деньгами.
Необходимо подчеркнуть, что в данном примере финансовый поток является вторичным или зависимым по отношению к товарному потоку, способствуя эффективному прохождению потоком товарно-материальных ценностей всего пути следования от предприятия-продавца к предприятию-покупателю.
При использовании какой-либо формы безналичных расчетов схема движения финансового потока между продавцом и покупателем товаров претерпевает определенные изменения (рис. 2.2).
Анализ рис. 2.2 показывает, что при организации безналичных расчетов поток информации о движении платежных документов имеет одинаковую направленность с товарным потоком и один и тот же источник возникновения, в то время как финансовый поток осуществляется между уполномоченными отделениями банков предприятия-покупателя и предприятия-продавца и имеет обратную направленность по отношению к товарному потоку.
Выбор той ли иной формы безналичных платежей зависит от эффективности их применения в различных условиях и необходимости воздействия на неаккуратных покупателей.
Так, например, при расчетах между продавцами и покупателями, находящимися в разных городах, рекомендуется использовать такие формы безналичных платежей, как инкассо или аккредитив, а при расчетах между продавцами и покупателями, находящимися в одном городе, применяются расчетные чеки или платежные поручения. При этом инкассо платеж в банке покупателя является наиболее естественной формой безналичных иногородних расчетов, а аккредитив платеж в банке продавца применяется как экономическая санкция и выражает недоверие к покупателю.
Общая схема движения товарного, информационного и финансового потоков, представленная на рис. 2.2, приведена с учетом синхронности начала всех потоковых процессов. Однако каждая конкретная форма безналичных расчетов предусматривает свою очередность движения продукции, платежных документов и денег. Кроме того, большое влияние на величину, источник возникновения и время начала финансового потока оказывают (помимо формы безналичных расчетов) предусмотренные в договоре купли-продажи дополнительные условия платежа.
К их числу относятся и условия предоставления различных видов скидок покупателям товаров. Анализ коммерческой деятельности предприятий как в России, так и за рубежом показывает, что число используемых скидок достаточно велико (по отдельным источникам насчитывается до 20 их разновидностей), а их размеры зависят главным образом от специфики выполняемых операций, условий поставки товаров и платежа, характера взаимоотношений продавца и покупателя.
В целом, необходимо отметить, что любая скидка экономически целесообразна только в том случае, если она выгодна всем участникам товарного обмена.
Многообразие форм и направлений развития современного финансового рынка, а также специфика механизма его функционирования в условиях стабилизации рыночных отношений в России обусловливают возможность широкого использования ценных бумаг и производных финансовых инструментов при финансовом обслуживании движения товарных потоков. Необходимо отметить, что эффективное применение инструментов фондового рынка помимо оптимизации финансовых потоков позволяет значительно улучшить показатели хозяйственной деятельности как предприя-тий-продавцов, так и предприятий-покупателей.
В первую очередь, это касается увеличения чистой прибыли хозяйствующих субъектов путем минимизации налоговых платежей. Для их снижения в настоящее время могут быть использованы как возможности отдельных видов государственных ценных бумаг, так и возможности выпуска и обращения векселей различных эмитентов.
Рассмотрим некоторые из существующих схем уменьшения налогооблагаемой базы предприятий за счет применения указанных инструментов фондового рынка.
Как правило, предприятия-покупатели при финансовом обеспечении сделок купли-продажи используют денежные средства, аккумулированные на их расчетных счетах в коммерческих банках. В то же время более эффективным для них может быть применение следующей схемы: предприятие-покупатель направляет имеющиеся у него денежные средства на приобретение ценных бумаг, для которых предусмотрено льготное налогообложение (например, государственных или муниципальных облигаций), а для закупки необходимых товаров берет кредит в коммерческом банке.
В этом случае проценты по кредиту в пределах ставки, установленной законодательством, учитываются в составе затрат на производство и обращение товаров (соответственно уменьшая налогооблагаемую прибыль предприятия), а доход, полученный по приобретенным ценным бумагам, подлежит отдельному учету и льготному налогообложению.
Для эффективного применения рассмотренной схемы в практической деятельности предприятий-покупателей необходимо учитывать большое число дополнительных факторов, к которым можно отнести: стоимость и срок возврата кредита, размер комиссионных коммерческого банка при покупке государственных или муниципальных облигаций, сроки перечисления денежных средств, закономерности функционирования рынка ценных бумаг и т.
Микрологистическая концепция «тощего производства»
Заказы зависят от специфицированных по номенклатуре, объемам требований в материальных ресурсах и времени их доставки на соответствующие рабочие места и склады.
После завершения всех необходимых вычислений в информационно-компьютерном центре фирмы формируется выходной комплекс машинограмм системы MRP I, который в документном виде передается производственным и логистическим менеджерам для принятия решений по организации обеспечения производственных участков и складского хозяйства фирмы необходимыми материальными ресурсами. Типичный набор выходных документов системы MRP I содержит:
- специфицированные по номенклатуре, объему и времени требования на материальные ресурсы, заказываемые у поставщиков;
- изменения, которые необходимо внести в производственное расписание;
- схемы доставки материальных ресурсов, объем поставок и т. п.;
- аннулированные требования на готовую продукцию, материальные ресурсы;
- состояние системы MRP.
Система MRP I была разработана в США в середине-1950-х годов, однако широкое распространение как в США, так и в Европе получила лишь в 1970-е годы, что было связано (как уже отмечалось) с развитием вычислительной техники. Микрологис-тические системы, подобные MRP I, были разработаны примерно в тот же период времени и в СССР и первоначально широко применялись в военно-промышленном комплексе.
Обычная практика использования систем MRP I в бизнесе связана с планированием и контролем процедур заказа и снабжения (закупок) материальных ресурсов, как правило, широкой номенклатуры для промышленных предприятий-изготовителей машиностроительной продукции. Проблемы, возникающие в процессе внедрения системы P I, разработке информационного, программ
но-математического обеспечения расчетов и выбору комплекса вычислительной и оргтехники, т. е. к тем проблемам, которые являются типичными для АСУ производством и технологическими процессами. Целью внедрения MRP I является повышение эффективности и качества планирования потребности в ресурсах, снижение уровня запасов материальных ресурсов и готовой продукции, совершенствование процедур контроля за уровнем запасов и уменьшение затрат, связанных с этими логистическими функциями.
В конце 1980-х годов систему MRP I использовали или предполагали использовать большинство фирм США с годовым объемом продаж готовой продукции свыше 15 млн. долл., в Великобритании каждое третье производственное предприятие.
Однако микрологистические системы, основанные на MRP-подходе, имеют ряд недостатков и ограничений, к основным из которых относятся:
- значительный объем вычислений, подготовки и предварительной обработки большого объема исходной информации, что увеличивает длительность производственного периода и логистического цикла;
- возрастание логистических издержек на обработку заказов и транспортировку при стремлении фирмы уменьшить уровень запасов или перейти на выпуск готовой продукции в малых объемах с высокой периодичностью;
- нечувствительность к кратковременным изменениям спроса, так как они основаны на контроле и пополнении уровня запасов в фиксированных точках прохождения заказа;
- значительное число отказов в системе из-за ее большой размерности и перегруженности.
Эти недостатки накладываются на общий недостаток, присущий всем микро логистическим системам толкающего типа (push systems), к которым относятся и системы MRP I, а именно: недостаточно строгое отслеживание спроса с обязательным наличием страховых запасов.
Базируясь на установленном производственном расписании, системы MRP I реализуют повременно-фазовый подход к установлению величины и регулированию уровня запасов. Так как это, в свою очередь, генерирует объем требуемых материальных ресурсов для производства или сборки заданного объема готовой продукции, то MRP I является типичной системой толкающего типа, укрупненная схема которой приведена на рис.
6.4.
Для микрологистической системы толкающего типа характерны производство деталей, компонентов, полуфабрикатов и сборка из них готовой продукции в соответствии с жестко заданным производственным расписанием. В результате материальные

Рисунок 6.4. MRP I как система толкающего типа'. МР материальные ресурсы; НП незавершенное производство; ГП готовая продукция
ресурсы, объем незавершенного производства как бы выталкиваются из одного звена внутрипроизводственной логистической системы в другое, а затем готовая продукция поступает в распределительную сеть. В такой системе предотвратить сбои в производственном процессе, а также учесть изменение спроса можно только путем создания избыточных производственных и (или) страховых запасов между звеньями логистической системы, которые называются обычно буферными запасами.
Наличие таких запасов замедляет оборачиваемость оборотных средств фирмы, увеличивает себестоимость готовой продукции, но обеспечивает большую устойчивость логистической системы при резких колебаниях спроса и ненадежности поставщиков материальных ресурсов по сравнению с логистическими системами, основанными на концепции точно в срок.
Системы MRP I преимущественно используются, когда спрос на исходные материальные ресурсы сильно зависит от спроса потребителей на конечную продукцию. Система MRP I может работать с широкой номенклатурой материальных ресурсов (многоассортиментными исходными материальными потоками).
Хотя сторонники концепции точно в срок утверждают, и не без основания, что тянущие микрологистические системы, основанные на принципах этой концепции, быстрее и эффективнее реагируют на изменения потребительского спроса, бывают случаи, когда системы MRP I являются более эффективными. Это, в частности, справедливо для фирм, имеющих достаточно длительные производственные циклы, и в условиях неопределенного спроса.
В то же время применение систем MRP I позволяет фирмам достигать тех же целей, что и при использовании ЛТ-технологии, в частности добиваться сокращения длительности полного логистического цикла и устранения излишних запасов, если время принятия решений по управлению производственными операциями и закупкам материальных ресурсов сопоставимо с периодичностью изменения спроса.
Рассмотрим пример системы MRP I. Предположим, что завод осуществляет сборку автомобильных агрегатов по заказу автомобилестроительной фирмы. Время выполнения заказа составляет 8 дней. Для сборки агрегата (А) необходимо изготовить три сборочные единицы (СЕ1, СЕ2, СЕЗ) и заказать на другом заводе комплектующий элемент (КЭ), который используется для изготовления СЕ2.
Исходная схема сборки агрегата, требуемое количество элементов и статус-файл запасов приведены в табл. 6.2.
В статус-файле запасов отражена исходная информация о наличии компонентов для сборки агрегата на складе завода; чистая потребность (цепочка требований) с учетом имеющихся запасов компонентов для сборки одного агрегата и длительность производственного периода (в днях) для изготовления каждой сбороч-

ной единицы, доставки комплектующего элемента на склад завода и сборки агрегата с доставкой его потребителю. Алгоритм программы MRP I заключается в составлении общего производственного расписания на 8 дней, в котором были бы отражены сроки и объем заказов, поставок, изготовления соответствующих компонентов и сборки агрегата, согласно схеме сборки и статус-файлу заказов (табл.
6.2).
В табл. 6.3 отражены все логистические функции, составляющие алгоритм MRP I для рассматриваемого периода в той последовательности выполнения заказов и поставок, процессов изготовления и сборки, которая определена приведенными выше данными.
Так как общая длительность производственного периода составляет 8 дней, то компоненты для сборки (СЕ1, СЕ2, СЕЗ) должны быть изготовлены за 7 дней, с учетом величины наличных запасов и значений индивидуальной длительности производственного периода (у. Нижняя часть табл. 6.3 (строка 6) представляет собой заказ-требование на необходимое количество компонентов для сборки агрегата в определенные дни в соответствии со сроками поставки (длительности производственного периода).
Далее следует строка прихода на склад заказанных объемов компонентов в соответствии с производственным расписанием изготовления СЕ и поставки КЭ. Используя имеющееся на складе количество СЕ в строке 3 аккумулируются все компоненты, необходимые для доставки на линию сборки агрегата.
В строках 12 отражены этапы сборки и доставки агрегата потребителю в соответствии с производственным расписанием.
Отмеченные выше недостатки и некоторые ограничения применения MRP I стимулировали разработки второго поколения этих систем, получивших использование в США и Западной Европе с начала 1980-х годов. Это поколение логистических систем получило название системы MRP II. Системы MRP II представляют собой интегрированные микрологистические системы, в которых объединены финансовое планирование и логистические операции.
В настоящее время системы MRP II рассматриваются как эффективный инструмент планирования для реализации стратегических целей фирмы в логистике, маркетинге, производстве и финансах. Большинство западных специалистов рассматривают системы MRP II как инструментарий, используемый в планировании и управлении организационными ресурсами фирмы с целью достижения минимального уровня запасов в процессе контроля над всеми стадиями производственного процесса. Системы MRP II являются эффективным инструментом внутрифирменного планирования, позволяющим претворять на практике логистическую концепцию интеграции функциональных сфер бизнеса при управлении материальными потоками. Преимуществом систем MRP II перед системами MRP I является более полное удовлетворение потребительского спроса, достигаемое путем сокращения продолжительности производственных циклов, уменьшения запасов, лучшей организации поставок, более быстрой реакции на изменения спроса.
Системы MRP II обеспечивают большую гибкость планирования и способствуют уменьшению логистических издержек по управлению запасами.
Функциональная схема системы MRP II приведена на рис. 6.5.
Как видно из схемы, система MRP I является составной частью системы MRP П. Кроме нее в состав системы MRP II входят: блок прогнозирования и управления спросом, расчет производственного расписания (графика выпуска готовой продукции), расчет плана загрузки производственных мощностей, блок размещения заказов и контроля закупок материальных ресурсов и другие блоки, составляющие программный комплекс. Важное место в системе MRP II оритмы прогнозирования спроса, по
требности в материальных ресурсах, уровня запасов. Дополнительно по сравнению с системой MRP I решается комплекс задач контроля и регулирования уровня запасов материальных ресурсов, объема незавершенного производства и готовой продукции на ЭВМ.
Для решения этих задач производятся подготовка, обработка и корректировка информации о приходе, наличии и движении материальных ресурсов, учет запасов в разрезе каждой позиции номенклатуры и номенклатурных групп, мест складского хранения и т. п. В основные задачи управления запасами входят: выбор стратегии пополнения запасов, расчет критических точек и точек заказа, анализ структуры запасов по методу ABC, сверхнормативных запасов и др.
Современная микропроцессорная техника и программное обеспечение позволили апробировать на практике микрологистичес-кие системы, основанные на схеме MRP II, в режиме реального времени (on line), с ежедневным обновлением баз данных, что значительно повысило эффективность планирования и управления материальными потоками. В конце 1980-х годов в мире продавалось большое количество пакетов прикладных программ MRP II (в США более 200), в базовые конфигурации которых входили блоки планирования поставок материальных ресурсов, расчета производственного расписания, мониторинга производства и уровня запасов, регулирования запасов материальных ресурсов, объема незавершенного производства и готовой продукции, управления закупками и ряд других.
В последние годы во многих странах предприняты попытки создать комбинированные системы MRP II KANBAN для взаимного устранения недостатков, присущих каждой из этих систем в отдельности. Обычно в таких комбинированных системах MRP II используют для планирования и прогнозирования спроса, сбыта и закупок, а систему KANBAN для оперативного управления производством.
Некоторые западные исследователи называют такую интегрированную микрологистическую систему MRP III.

Рисунок 6.5. Функциональная схема системы MRP II
С операционной точки зрения логистическая концепция планирования потребностей/ресурсов может быть использована и в системах дистрибьюции, что явилось основанием для создания внешних микрологистических систем планирования распределения продукции/ресурсов (DRP). Системы DRP это распространение логики построения систем MRP на каналы дистрибьюции готовой продукции. Однако эти системы, хотя и имеют в
основе общую логистическую концепцию планирования потребностей/ресурсов, в то же время существенно различны.
Системы MRP определены производственным расписанием, которое регламентировано и контролируется фирмой-изготови-телем готовой продукции. Функционирование же систем DRP базируется на потребительском спросе, который не контролируется фирмой. Поэтому системы MRP обычно характеризуются большей стабильностью в отличие от систем DRP, работающих в условиях неопределенности спроса. Эта неопределенная внешняя среда накладывает дополнительные требования и ограничения в политике управления запасами готовой продукции в распределительных сетях.
В то же время системы MRP контролируют запасы внутри производственных подразделений. Системы DRP планируют и регулируют уровень запасов на базах и складах фирмы в собственной товаропроводящей сети сбыта или у оптовых торговых посредников.
Фундаментальный инструмент логистического менеджмента в системах DRP представляет собой расписание (график), которое координирует весь процесс поставок и пополнения запасов готовой продукции в распределительной сети (канале). Это расписание формируется для каждой выделенной единицы хранения (stockkeeping unit, SKU) и каждого звена логистической системы, связанного с формированием запасов в распределительном канале.
Графики пополнения и расходования запасов SKU интегрируются в общее требование пополнения запасов готовой продукции на складах фирмы или оптовых посредников.
Механизм работы системы DRP можно проиллюстрировать на следующем условном примере. Исходная информация для генерирования системы DRP представлена в табл.
6.4.
Примечание: страховой запас = 50 единиц; величина партии отправки -300 единиц. Длительность производственного периода (fL) = 1 день.
Предположим, что мы хотим реализовать схему DRP, имея два склада готовой продукции в распределительной сети. Планируемые отправки с более чем одного склада для одного шага процедуры DRP объединяются в одно общее требование к пополнению запаса на складе готовой продукции завода-изготовителя.
Склад готовой продукции завода пополняется из производственных подразделений в зависимости от объема отправок готовой продукции со складов распределительной сети. Процедура пополнения запасов в системе ).
В рассматриваемой схеме требования удовлетворения потребительского спроса со складов 1 и 2 в системе дистрибьюции определяют требования на пополнение запасов готовой продукции на центральном складе завода-изготовителя. Это, в свою очередь, вызывает корректировку производственного расписания для пополнения запасов готовой продукции на центральном складе. Микрологистические системы управления сбытом, основанные на схеме DRP, ютичь определенных
преимуществ в маркетинге и логистике. Маркетинговые организационные преимущества включают в себя:
- улучшение уровня сервиса за счет уменьшения времени доставки готовой продукции и удовлетворения ожиданий потребителей;
- улучшение продвижения новых товаров на рынок;
- способность предвидеть и предупреждать маркетинговые решения о продвижении готовой продукции с низким уровнем запасов;
- улучшенную координацию управления запасами готовой продукции с другими функциями фирмы;
- исключительную способность удовлетворять запросы потребителей за счет сервиса, связанного с координацией управления запасами готовой продукции.
Среди логистических преимуществ систем DRP можно отметить:
- уменьшение логистических издержек, связанных с хранением и управлением запасами готовой продукции за счет координации поставок;
- уменьшение уровня запасов за счет точного определения величины и места поставок;
- сокращение потребности в складских площадях за счет уменьшения запасов;
- уменьшение транспортной составляющей логистических издержек за счет эффективной обратной связи по заказам;
- улучшение координации между логистическими функциями в дистрибьюции и производстве.
В то же время существуют определенные ограничения и недостатки в применении систем DRP. Во-первых, система DRP тре-1 Ballou R. H. Business Logistics Management.
3 ed. N. Y - Prentice-Hall International, Inc., 1993.
Склад 1
Склад 2

Рисунок 6.6. Схема пополнения запасов готовой продукции на центральном складе завода-изготовителя в системе DRP: в строке SKU указаны планируемые отправки
бует точного скоординированного прогноза отправок и пополнения запасов для каждого центра и канала распределения готовой продукции в товаропроводящей сети. В идеальном случае система не должна поддерживать излишние запасы в логистических распределительных каналах, но это определяется только точностью прогнозирования. Во избежание возможных ошибок приходится иметь определенные страховые запасы в распределительных центрах. Принципиально возможны три источника ошибок: ошибки самого метода прогнозирования, неправильное предсказание спроса, сказывающееся на неправильном размещении складов (или размере запасов), ошибки в прогнозе времени изменения спроса.
Во-вторых, планирование запасов в системах DRP требует высокой надежности совершения логистических циклов между распределительными центрами и другими звеньями логистической системы. Неопределенность любого цикла (заказа, транспортировки, производства) немедленно сказывается на эффективности решений, принимаемых в системе DRP.
В-третьих, интегрированное планирование распределения вызывает частые изменения в производственном расписании, что лихорадит производственные подразделения фирмы, приводит к колебаниям в использовании производственных мощностей, неопределенности в затратах на производство, срывам доставки готовой продукции потребителям. Указанные недостатки традиционно устраняются путем увеличения страховых запасов в распределительной сети.
В конце 1980-х годов в США и Западной Европе появилась расширенная версия системы планирования распределения продукции/ресурсов система DRP II, которую называют вторым поколением систем управления распределением продукции в логистических системах. В системах DRP II используются более современные модели и алгоритмы программирования, рассчитан

Рисунок 6.7. Сокращение размера партии и времени производства: а размер партии = 10 изделий, общее время производства = 30 мин.; б размер партии = 2 изделия, общее время производства = 6 мин.
ные на локальные сети персональных компьютеров и телекоммуникационные электронные каналы, работающие в режиме on line. В системах DRP II применяются более эффективные модели прогнозирования спроса, потребности в готовой продукции, обеспечивается управление запасами для среднесрочных и долгосрочных прогнозов спроса на готовую продукцию.
В этих системах комплексно решаются вопросы управления производственной программой, производственными мощностями, персоналом, качеством перевозочного процесса и логистического сервиса.
Микрологистическая концепция тощего производства
В последние годы на многих западных фирмах при организации производства и в оперативном менеджменте получила распространение логистическая концепция тощего производства {lean production, LP). Эта концепция, по существу, является развитием концепции точно в срок и включает в себя такие элементы, как системы KANBAN и планирования потребностей/ресурсов. Сущность внутрипроизводственной логистической концепции тощего производства выражается в творческом соединении следующих основных компонентов:
- высокого качества,
- небольшого размера производственных партий,
- низкого уровня запасов,
- высококвалифицированного персонала,
- гибких производственных технологий.
Концепция тощего производства получила свое наименование, потому что требует гораздо меньше ресурсов, чем массовое производство (меньше запасов, времени на производство единицы продукции), вызывает меньшие потери от брака и т. д. Таким образом, эта концепция соединяет в себе преимущества массового (большие объемы производства низкая себестоимость) и мелкосерийного производства (разнообразие продукции и гибкость). Основные цели концепции тощего производства в плане логистики:
- высокие стандарты качества продукции;
- низкие производственные издержки;
- быстрое реагирование на изменение потребительского спроса;
- малое время переналадки оборудования.
Ключевыми элементами реализации логистических целей в оперативном менеджменте при использовании этой концепции являются:
- уменьшение подготовительно-заключительного времени;
- небольшой размер партий производимой продукции;
- малая длительность производственного периода;
- контроль качества всех процессов;
- общее продуктивное обеспечение (поддержка);
- партнерство с надежными поставщиками;
- эластичные потоковые процессы;
- тянущая информационная система.
Остановимся более подробно на некоторых ключевых элементах. Уменьшение размера партии и длительности производственного периода проиллюстрируем на условном примере (рис.
6.7).
Предположим, что производственный процесс изготовления продукции (сборки) состоит из трех фаз, а размер партии составляет 10 изделий. Тогда из рис.
6.7а видно, что общая длительность производственного периода составляет 30 мин. В случае сокращения партии до двух изделий (рис.
6.76) общее время производства составит 6 мин. При уменьшении размера партии мы сокращаем время в 5 раз.
Уменьшение запасов и времени производства позволяет значительно увеличить гибкость производственного процесса, быстрее реагировать на изменение рыночного спроса. Применение в системе тощего производства элементов систем KANBAN и планирования потребностей/ресурсов позволяет существенно снизить уровень запасов и работать практически с минимальными страховыми запасами без складирования материальных ресурсов, чему способствует сотрудничество с надежными поставщиками.
Большое внимание в концепции тощего производства уделяется общей производственной поддержке с целью обеспечения состояния непрерывной готовности технологического оборудования, практического исключения его отказа, улучшения качества его технического обслуживания и ремонта. Наряду с всеобщим контролем качества, эффективная поддержка позволяет до минимума сократить запасы незавершенного производства (буферные запасы) между производственно-технологическими участками. Большую роль в реализации этих задач играет подготовка персонала среднего и низшего звена производственного и логистического менеджмента, который должен:
Микрологистическая система KANBAN
Многие современные логистические системы, основанные на данном подходе, ориентированы на короткие составляющие логистических циклов, что требует быстрой реакции звеньев логистической системы на изменения спроса и соответственно производственной программы.
Логистическая концепция точно в срок характеризуется следующими основными чертами:
- минимальными (нулевыми) запасами материальных ресурсов, незавершенного производства, готовой продукции;
- короткими производственными (логистическими) циклами;
- небольшими объемами производства готовой продукции и пополнения запасов (поставок);
- взаимоотношениями по закупкам материальных ресурсов с небольшим числом надежных поставщиков и перевозчиков;
- эффективной информационной поддержкой;
- высоким качеством готовой продукции и логистического сервиса.
Внедрение и распространение концепции точно в срок в мире привело к изменению традиционного подхода производственного менеджмента к управлению запасами. В табл.
6.1 сформулированы основные отличия этих подходов для управления производством, снабжением и сбытом.
Внедрение концепции точно в срок, как правило, улучшает качество готовой продукции и услуг, минимизирует уровень запасов и может в принципе изменить фирменный стиль менеджмента за счет интеграции комплексных логистических функций. Работу логистической системы, построенной на принципах концепции точно в срок, можно представить как двухбункерную систему управления запасами.
Один бункер в этой системе используется для удовлетворения спроса в производстве или сбыте соответственно на материальные ресурсы или готовую продукцию, в то время как другой пополняется по мере расходования первого. Производство готовой продукции небольшими парти-
Сравнение концепции точно в срок и традиционного менеджмента запасов
Необходима согласованность действий как рабочего, так и управленческого персонала. Нельзя вносить изменений в логистический процесс, пока нет согласованности действий персонала
Управление осуществляет общий менеджмент. Изменения не зависят от нижних звеньев управленческого персонала
ями за относительно короткие производственные циклы определяет длительность циклов снабжения материальными ресурсами от поставщиков. Теоретически идеальным размером заказа для базовой системы точно в срок является одна единица, однако это, как правило, не реализуется из-за проблем затрат на сбыт и обработку заказов.
Логистические системы, использующие принципы концепции точно в срок, являются тянущими системами (pullsystems), в которых размещение заказов на пополнение запасов материальных ресурсов или готовой продукции происходит, когда количество их в определенных звеньях логистической системы достигает критического уровня. При этом запасы вытягиваются по распределительным каналам от поставщиков материальных ресурсов или логистических посредников в системе дистрибьюции. В концепции точно в срок существенную роль играет спрос, определяющий дальнейшее движение сырья, материалов, компонентов, полуфабрикатов и готовой продукции.
Короткие составляющие логистических циклов в системах, применяющих данный подход, способствуют концентрации основных поставщиков материальных ресурсов вблизи главной фирмы, осуществляющей процесс производства или сборки готовой продукции. Фирма старается выбрать небольшое число поставщиков, отличающихся высокой степенью надежности поставок, так как любой сбой в поставках может нарушить производственное расписание. О том, насколько
важна надежность поставщиков, говорит тот факт, что американские и европейские производители смогли внедрить концепцию точно в срок только через 1015 лет после японцев в основном из-за низкой надежности поставок. В соответствии с этой концепцией поставщики становятся, по существу, партнерами производителей готовой продукции в их бизнесе.
В практической реализации концепции точно в срок ключевую роль играет качество продукции. Японские автомобилестроительные фирмы, первоначально внедряя принципы данной концепции и микрологистическую систему KANBAN в производство, радикально изменили подход к контролю и управлению качеством на всех стадиях производственного процесса и последующего сервиса. В конечном итоге это вылилось в уже упоминавшуюся выше философию всеобщего управления качеством, в которой качество ставится на первое место во всех стратегических и тактических целях фирмы. Концепция точно в срок способствует усилению контроля и поддержанию уровня качества продукции в разрезе всех составляющих логистической структуры.
Микрологистические системы, основанные на данном подходе, связанном с синхронизацией всех процессов и этапов поставки материальных ресурсов, производства и сборки, поставки готовой продукции потребителям, предполагают точность информации и прогнозирования. Этим объясняются, в частности, и короткие составляющие логистических (производственных) циклов.
Для эффективной реализации технологии JIT должны работать с надежными телекоммуникационными системами и информационно-компьютерной поддержкой.
Современные технологии JIT и логистические системы стали более интегрированными и комбинируются из различных вариантов логистических производственных концепций и распределительных систем, таких, как системы, минимизирующие запасы в логистических каналах, логистические системы быстрого переключения, выравнивания уровня запасов, групповые технологии, превентивное гибкое автоматизированное производство, современные логистические системы всеобщего статистического контроля и управления циклами качества продукции и т. п. Поэтому в настоящее время принято относить такие технологии к новой версии концепции точно в срок концепции JIT II.
Основной целью логистической концепции JIT II является максимальная интеграция всех логистических функций фирмы для минимизации уровня запасов в интегрированной логистической системе, обеспечение высокой надежности и уровня качества продукции и сервиса для максимального удовлетворения запросов потребителей. Системы, основанные на идеологии JIT II, используют гибкие производственные технологии выпуска небольших объемов готовой продукции группового ассортимента на базе раннего предсказания покупательского спроса.
Микрологистическая система KANBAN
Как уже отмечалось, одной из первых попыток практического внедрения концепции точно в срок явилась разработанная корпорацией Toyota Motor микрологистическая система KANBAN (что в переводе с японского означает карта). Система KANBAN представляет собой первую реализацию тянущих микрологистичес-ких систем в производстве, на внедрение которой от начала разработки у фирмьр Toyota ушло около 10 лет.
Такой длительный срок был связан с тем, что сама система KANBAN не могла работать без соответствующего логистического окружения концепции точно в срок, рассмотренной в предыдущем разделе. Ключевыми элементами этого окружения явились:
- рациональная организация и сбалансированность производства;
- всеобщий контроль качества на всех стадиях производственного процесса и качества исходных материальных ресурсов у поставщиков;
- партнерство только с надежными поставщиками и перевозчиками;
- повышенная профессиональная ответственность и высокая трудовая дисциплина всего персонала.
Первоначальные попытки американских и европейских конкурентов автоматически перенести схему KANBAN в производство без учета этих и других факторов логистического окружения потерпели неудачу.
Микрологистическая система KANBAN, впервые примененная корпорацией Toyota Motor в 1972 г. на заводе Такахама (г. Нагоя, Япония), представляет собой систему организации непрерывного производственного потока, способного к быстрой перестройке и практически не требующего страховых запасов. Сущность системы KANBAN заключается в том, что все производственные подразделения завода, включая линии конечной сборки, снабжаются материальными ресурсами только в том количестве и к такому сроку, которые необходимы для выполнения заказа, заданного подразделением-потребителем.
Таким образом, в отличие от традиционного подхода к производству структурное подразделение-производитель не имеет общего жесткого графика производства, а оптимизирует свою работу в пределах заказа подразделения фирмы, осуществляющего операции на последующей стадии производственно-технологического цикла.
Средством передачи информации в системе является специальная карточка kanban в пластиковом конверте. Распространены два вида карточек: отбора и производственного заказа.
В карточке отбора указывается количество деталей (компонентов, полуфабрикатов), которое должно быть взято на предшествующем участке обработки (сборки), в то время как в карточке производственного заказа количество деталей, которое должно быть изготовлено (собрано) на предшествующем производственном участке. Эти карточки циркулируют как внутри предприятий фирмы Toyota, так и между корпорацией и сотрудничающими с ней компаниями, а также на предприятиях филиалов.
Таким образом, карточки kanban несут информацию о расходуемых и производимых количествах продукции, что позволяет реализовать концепцию точно в срок. Большинство отечественных авторов, рассматривая схему KANBAN, приводят пример из одной из основополагающих работ Я. Мондена' (рис.
6.1).
Например, при изготовлении продукции А, В, С на сборочной линии (рис. 6.1) применяемые детали а и b изготавливаются на предшествующей технологической стадии (поточной линии). Детали а и b, произведенные на предшествующей стадии, складируют вдоль конвейера, прикрепляя к ним карточки заказа kanban. Рабочий со сборочной линии, изготавливающей продукцию А, на автопогрузчике или с технологической тележкой прибывает с карточкой заказа на место складирования детали а, чтобы взять определенное количество ящиков деталей с прикрепленными к ним карточками отбора.
На месте складирования рабочий загружает погрузчик (технологическую тележку) необходимым количеством деталей а, согласно карточке отбора, снимая при этом с ящиков ранее прикрепленные к ним карточки производственного заказа. Затем рабочий доставляет полученные детали на сбо-

Рисунок 6.1. Движение карточек kanbanк А, В, С продукция; а, bдетали
рочную линию с карточками отбора kanban. В то же время карточки производственного заказа остаются на месте складирования деталей а у поточной линии, показывая количество взятых деталей.
Они формируют заказ на изготовление новых деталей а, количество которых будет строго соответствовать количеству, указанному в карточке производственного заказа kanban.
Так в системе поддерживается минимальный уровень запасов, обеспечивающий непрерывную работу производственно-технологических участков и персонала и регулируемый с помощью расчета средней дневной потребности в каждой детали и определения соответствующего числа карточек kanban. Когда материальные ресурсы израсходованы, карточка заказа kanban отправляется поставщикам, чтобы пополнить резервы. Так как прогнозируемые количества и время снабжения невелики, заказываемые партии имеют небольшие размеры.
Кроме того, запас, сохраняющийся на период поставки, поддерживается на минимальном уровне.
Еще один пример, иллюстрирующий работу микрологистической системы KANBAN, приведен на рис. 6.2. На схеме представлены два обрабатывающих центра (ОЦ): ОЦ1, использующий детали А для изготовления полуфабрикатов В, и ОЦ2, использующий полуфабрикаты В для изготовления продукции С. Перед применением технологии KANBAN необходимо принять решение о типах контейнеров, которые должны быть использованы для каждой позиции Л, В, С и их размерах, т. е. сколько единиц каждой позиции номенклатуры может поместиться на контейнере.
В системе отсутствует складирование на местах, так как используются только контейнеры, перемещаемые от одного ОЦ к другому с помощью технологического транспорта. Каждый полностью заполненный контейнер имеет прикрепленную к нему карточку kanban со следующей информацией:
- код компонента (полуфабриката, незавершенного производства);
- описание;
- продукция (конечная, промежуточная), где эти компоненты используются;
- номер (код рабочего), где производится компонент;
- номер ОЦ (код рабочего), который использует данный компонент;
- количество компонентов для данного контейнера;
- количество контейнеров (карточек kanban) рядом с ОЦ.
Карточки kanban могут быть двух цветов: белого и черного.
Белые карточки находятся на контейнерах на входе (in) для ОЦ1 и ОЦ2 и предназначены для транспортировки. Черные карточки kanban находятся на контейнерах на выходе (out) и означают разрешение на обработку. Информация на карточках, прикрепленных к контейнерам, относится к конкретному контейнеру и фиксирует его объем и соответствующие вышеперечисленные реквизиты.
В процессе управления каждой операцией по логистической технологии KANBAN участвуют только свободные карточки, отделенные от контейнера.

Рисунок 6.2. Система KANBAN: ОЦ1, ОЦ2 обрабатывающие центры; А детали; В полуфабрикаты; С продукция
На схеме 1 (рис. 6.2) черная карточка компонента С является выходом для ОЦ2.
В этом случае она обозначает принятие решения для ОЦ2 (рабочего за этим центром) изготовить столько единиц компонента С, сколько требуется для заполнения пустого контейнера. В процессе этой работы ОЦ2 использует целый контейнер с деталями В, которые хранились на входе ОЦ2, высвобождая белую карточку kanban (схема 2).
Эта карточка дает разрешение на транспортировку другого контейнера с деталями В от ОЦ1 (его выхода) ко входу ОЦ2. Рабочий на погрузчике с освободившимся контейнером и белой карточкой прибывает к ОЦ1, где с контейнера, заполненного деталями В, снимает черную карточку и оставляет ее рядом с пустым контейнером, а сам прикрепляет белую карточку на заполненный контейнер с деталями В и перевозит его к ОЦ2 (схемы 34).
Свободная черная карточка В является заказом для ОЦ1 на производство следующего полного контейнера деталей В. В процессе изготовления освобождается контейнер с деталями А, и белая карточка служит сигналом для поставщика о пополнении запаса деталей А на один контейнер и т. д. (схема 5).
Рассмотренный пример это типичная схема тянущей микрологистической производственной системы, где контейнеры с деталями (составляющие производственный запас) перемещаются только в зависимости от потребления на последующих стадиях производственного цикла.
Объем незавершенного производства в такой системе может быть определен по формуле
N = [С(Ти + тз)( 1 + k)]/0,
где дг общее количество контейнеров (карточек kanban);
С среднедневное потребление;
Тц время потребительского цикла (белая карточка), складывающееся из времени ожидания и времени транспортировки;
Т время снабженческого цикла (черная карточка), равного сумме времени ожидания и рабочего времени изготовления компонентов;
Q емкость контейнера для определенного компонента; к параметр страхового запаса (должен стремиться
к нулю).
Важными элементами микрологистической системы KANBAN являются информационная система, включающая не только карточки, но и производственные, транспортные и снабженческие графики, технологические карты, информационные световые табло и т. д.; система регулирования потребности и профессиональной ротации кадров; система всеобщего (TQM) и выборочного (Дзи-дока) контроля качества продукции; система выравнивания производства и ряд других.
Практическое использование системы KANBAN, а затем ее модифицированных версий позволяет значительно улучшить качество выпускаемой продукции; сократить логистический цикл, существенно повысив тем самым оборачиваемость оборотного капитала фирм; снизить себестоимость производства; практически исключить страховые запасы и значительно уменьшить объем незавершенного производства. Анализ мирового опыта применения микрологистической системы KANBAN многими известными машиностроительными фирмами показывает, что она дает возможность уменьшить производственные запасы на 50%, товарные на 8% при значительном ускорении оборачиваемости оборотных средств и повышении качества готовой продукции.
Логистическая концепция планирования потребностей/ресурсов и основанные на ней системы
Одной из наиболее популярных в мире логистических концепций,. на основе которой разработано и функционирует большое число микрологистических систем, является концепция планирования потребностей/ресурсов {requirements/resourceplanning, RP). Концепцию RP часто противопоставляют логистической концепции точно в срок, имея в виду, что на ней (в отличие от ЛТ-подхо-да) базируются логистические системы толкающего типа.
Базовыми микрологистическими системами, основанными на концепции планирования потребностей/ресурсов, в производстве и снабжении являются системы планирования потребности вматериалах/производственного планирования потребности вресурсах (materials/manufacturingrequirements/resourceplanning,MRP I/MRP II), а в дистрибьюции (распределении) системы планированиярас-пределения продукции/ресурсов {distribution requirements/resource planning, DRP I/DRP II).
Практические приложения, типичные для систем MRP, имеются в организации производственно-технологических процессов вместе с закупками материальных ресурсов. Согласно определению американского исследователя Дж.
Орлиски, одного из главных разработчиков системы MRP I, система планирования потребности в материалах (система MRP) в узком смысле состоит из ряда логически связанных процедур, решающих правил и требований, переводящих производственное расписание в цепочку требований, которые синхронизированы во времени, а также запланированного покрытия этих требований для каждой единицы запаса компонентов, необходимых для выполнения расписания... Система MRP перепланирует последовательность требований и покрытий в результате изменений либо в производственном расписании, либо в структуре запасов, либо в характеристиках продукта.
Системы MRP оперируют материалами, компонентами, полуфабрикатами и их частями, спрос на которые зависит от спроса на специфическую готовую продукцию. Хотя сама логистическая концепция, заложенная в основу системы MRP I, сформирована достаточно давно (с середины 1950-х годов), но только с появлением быстродействующих компьютеров ее удалось реализовать на практике.
В то же время революция в микропроцессорных и информационных технологиях стимулировала бурный рост различных приложений систем MRP в бизнесе.
Основными целями систем MRP являются:
- удовлетворение потребности в материалах, компонентах и продукции для планирования производства и доставки потребителям;
- поддержание низкого уровня запасов материальных ресурсов, незавершенного производства, готовой продукции;
- планирование производственных операций, графиков доставки, закупочных операций.
В процессе реализации этих целей система MRP обеспечивает поток плановых количеств материальных ресурсов и запасов продукции на горизонте планирования. Система MRP сначала определяет, сколько и в какие сроки необходимо произвести конечной продукции.
Затем система определяет время и необходимые количества материальных ресурсов для выполнения производственного расписания. На рис.
6.3 представлена блок-схема системы MRP I. Входом системы MRP I являются заказы потребителей, подкрепленные прогнозами спроса на готовую продукцию фирмы, которые заложены в производственное расписание (графики выпуска готовой продукции). Таким образом, как и для микрологистических систем, основанных на принципах концепции точно в срок, в MRP I ключевым фактором является потребительский спрос.
База данных о материальных ресурсах содержит всю требуемую информацию о номенклатуре и основных параметрах (характеристиках) сырья, материалов, компонентов, полуфабрикатов и т. п., необходимых для производства (сборки) готовой продукции или ее частей. Кроме того, в ней содержатся нормы расхода материальных ресурсов на единицу выпускаемой продукции, а также файлы моментов времени поставки соответствующих материальных ресурсов в производственные подразделения фирмы. В базе данных также идентифицированы связи между отдельными входами производственных подразделений по потребляемым

Рисунок 6.3. Блок-схема системы MRP I
материальным ресурсам и по отношению к конечной продукции. База данных о запасах информирует систему и управленческий персонал о наличии и величине производственных, страховых и других требуемых запасов материальных ресурсов в складском хозяйстве фирмы, а также о близости их к критическому уровню и необходимости их пополнения.
Кроме того, в этой базе содержатся сведения о поставщиках и параметрах поставки материальных ресурсов.
Программный комплекс MRP I основан на систематизированных производственных расписаниях (графиках выпуска конечной продукции) в зависимости от потребительского спроса и комплексной информации, получаемой из баз данных о материальных ресурсах и их запасах. Алгоритмы, заложенные в программные модули системы, первоначально переводят спрос на готовую продукцию в требуемый общий объем исходных материальных ресурсов.
Затем программы вычисляют цепь требований на исходные материальные ресурсы, полуфабрикаты, объем незавершенного производства, основанных на информации о соответствующем уровне запасов, и размещают заказы на объемы входных материальных ресурсов для участков производства (сборки) готовой продукции.
Обнаруженное несоответствие означает отсутствие качества услуги.
В условиях рынка качество услуги предполагает необходимый уровень потребительских свойств и надежности услуги, который сервисные фирмы способны обеспечить по приемлемой цене. Качество услуги определяется как соответствие требованиям клиента, которые должны быть четко сформулированы, с тем чтобы исключить их превратное истолкование. Затем проводится оценка на соответствие этим требованиям.
Обнаруженное несоответствие означает отсутствие качества услуги.
Особую проблему представляет определение качества доставки грузов. Время (сроки) доставки грузов рассматривается как один из наиболее значимых параметров качества обслуживания потребителей.
Качество доставки предполагает также скорость и регулярность поставки грузов, их сохранность при перевозке, а также ликвидацию излишних перегрузочных операций. Первые два параметра во многом определяют реакцию на изменения конъюнктуры рынка и уровень товарных запасов.
В области сбыта товаров производственные и торговые предприятия используют следующие варианты распределения товаров в зависимости от типа используемых каналов распределения:
- производительпотребитель;
- производительоптовый продавецпотребитель;
- производительоптовый продавецмелкооптовый продавец-потребитель и т. п.
Таким образом, каналы распределения могут быть различного типа, от прямой связи производительпотребитель до связи через множество комбинаций различных посредников. Различные варианты распределения характеризуются разным количественным составом и качественной структурой субъектов распределения. Факторами, определяющими выбор фирмой каналов распределения, являются следующие:
- возможность заниматься распределением товара и принимать на себя риск, связанный со сбытом и распределением;
- наличие у персонала необходимых знаний, опыта и овладение методами торговли;
- объем продаж товара;
- географическая удаленность районов размещения товарных запасов и потребления товара;
- эффективность услуг посредников;
- потребительские свойства товара;
- конъюнктура рынка сбыта;
- сравнительная эффективность каналов распределения.
Чем меньше число элементов системы распределения, т. е. число
посредников между производителем и конечным потребителем, тем относительно быстрее происходит реализация товара. Но в то же время производителям приходится нести значительные расходы на складирование и обеспечение продажи товаров.
Поэтому выбор оптимальной формы распределения товаров необходимо проводить на основе анализа эффективности, в частности транспортно-экспедиционного обеспечения распределения товаров.
Рассмотрим пример разработки модели доставки товаров. Элементами системы доставки являются:
- торговая фирма держатель контракта на поставку партии товаров;
- региональный дилер юридическое лицо, заключившее с торговой фирмой контракт на поставку партии товаров;
- экспедитор юридическое лицо, осуществляющее доставку партии товаров;
- перевозчик юридическое лицо, осуществляющее перевозку партии товаров.
Система доставки определяется как набор элементов, образующих единое целое. Для разработки модели данной системы сделаны следующие допущения:
- ответственность за доставку партии товаров лежит на торговой фирме;
- торговая фирма имеет дело с экспедитором, который осуществляет доставку, покупая услуги перевозчиков, транспортных терминалов, страховых и других фирм, участвующих в процессе доставки;
- система доставки включает два элемента торговую фирму (покупателя услуг доставки) и экспедитора (продавца данных услуг);
- единицей анализа является заказ на доставку;
- параметры модели определяются эмпирически с использованием информации заказа на доставку;
- значения таких переменных, как время доставки, потери от последствий доставки, не могут быть определены эмпирически;
- взаимодействие торговой фирмы с перевозчиком происходит опосредованно, через экспедитора.
С позиций системного анализа рассматриваемая система характеризуется входом и выходом. Вход и выход системы описываются соответствующими переменными.
Выходные переменные системы являются функцией входных переменных. Данная система является открытой, поскольку на элементы системы могут оказывать влияние внешние воздействия, предсказать которые в условиях неопределенности рынка не представляется возможным. Поэтому во внимание принимается также внешняя среда системы, которая представляет собой множество внесистемных элементов (рынок, государство, финансовая сфера, сфера потребления и т. п.). Изменение значений переменных, описывающих элементы внешней среды, оказывает влияние на систему.
И наоборот, значения переменных элементов внешней среды изменяются вследствие поведения системы. Здесь имеют место две проблемы. Во-первых, проблема совместимости системы доставки и внешней среды, или так называемая внешняя совместимость. Если результаты деятельности системы не удовлетворяют потребностям внешней среды, то имеет место внешняя несовместимость.
Во-вторых, проблема совместимости между элементами системы (внутренняя совместимость). Понятно, что совместимость элементов системы будет определять и внешнюю совместимость системы.
Оптимальная доставка товаров осуществляется при условии достижения наилучшего соответствия между системой доставки и внешней средой.
Рассмотрим последовательно каждую пару элементов системы доставки.
1. Потребительдилер. Возникновение у потребителя спроса на товар с определенными потребительскими свойствами вызывает появление соответствующего спроса дилера.
Таким образом, входной переменной данной пары элементов системы является потребность в товаре. Выходными переменными являются затраты дилера на заказ партии товаров, поиск поставщика и т. п.
2. Дилерторговая фирма. Входными переменными являются условия поставки партии товаров (потребительские свойства, покупательная способность дилера, график поставки, количество единиц заказываемых товаров, сохранность партии товаров, сроки поставки и т. п.).
В результате взаимодействия на входе рассматриваемой пары элементов системы появляются такие переменные, как интенсивность спроса, обменный курс рубля, уровень инфляции, цен, спроса на товары, конъюнктура рынка сбыта, уровень рыночной конкуренции. В этой связи в модели рассматриваются сложные связи между рынком, производством, финансами, государством и т. п. Выходными переменными являются результаты закупочной и распределительной деятельности торговой фирмы в виде затрат на приобретение товаров от производителей, развертывание оптово-розничной торговой сети, формирование каналов распределения, поиск перевозчиков и т. п.
3. Торговая фирма-экспедитор. Входными переменными являются реквизиты заказа на доставку товара, содержащего информацию о заказчике, единице товара, грузовой единице, партии отправки, обычных и особых условиях доставки.
Выходными переменными выступают затраты экспедитора на поиск перевозчика.
4. Экспедиторперевозчик. Входными переменными являются параметры, описывающие потребность экспедитора в перевозке: требования к перевозке (вид, направление, тариф, сроки, надежность, соответствие подвижного состава и т. п.), форма оплаты за перевозку, покупательная способность экспедитора.
Выходными переменными выступают параметры, описывающие действия перевозчика для удовлетворения потребности экспедитора в перевозке. Доходы перевозчика имеют место в случае предоплаты экспедитором услуг по перевозке. Затратами же являются расходы перевозчика на закупку запасных частей, горюче-смазочных материалов, шин, амортизационные отчисления на износ подвижного состава и т. п.
5. Перевозчикэкспедитор. Входными переменными являются условия перевозки (виды, направления, тарифы, сроки, надежность); подвижной состав (например, тип кузова автомобиля, его грузоподъемность, внутренний объем кузова), специализация в международных перевозках грузов (наличие лицензии).
Выходные переменные есть результаты деятельности экспедитора по перевозке груза: доходы, полученные в результате различного рода скидок с тарифа на перевозку и льгот, а также затраты на покупку услуг по перевозке (тарифы на перевозку), штрафы за простой подвижного состава.
6. Экспедиторторговая фирма. Входными переменными являются доставка, ее стоимость, направления, сроки, надежность.
Выходными переменными являются либо отказ торговой фирмы от покупки услуг по доставке, либо результаты выполненной доставки в виде полученных торговой фирмой доходов (штрафы за повреждение, порчу и кражу товаров) и понесенных затрат. Затраты подразделяются на ожидаемые оплата доставки партии товаров (перевозка, подгруппировка, накопление, хранение, погрузка, разгрузка) и непредвиденные затраты на поиск не поставленных в срок товаров, на поддержание страхового запаса товаров, штрафы, неустойки и т. п. при нарушении контрактных обязательств.
7. Торговая фирмадилер. Входными переменными являются партия товаров и их потребительские свойства.
Выходными переменными выступают затраты дилера на выплату процентов по кредитам, арендную плату, налоги, затраты на рекламу товара, на развертывание торговой сети.
8. Дилерпотребитель. Входной переменной является предложение товара разных видов, размеров, моделей, торговых марок и т. п. Выходными переменными являются покупка либо отказ потребителя от покупки.
С учетом вышесказанного модель системы доставки (SD) можно представить как
SD = {TF, EXP, PER}, (1)
где TF параметры торговой фирмы;
ЕХР параметры экспедитора;
PER параметры перевозчика.
Параметры торговой фирмы могут быть заданы как
TF(х) = {х,,х2,х3,х4,х5.....х„};х = 1-Х. п= 1-Л/, (2)
где лг, информация об отправителе и получателе (наименование, юридический и почтовый адрес, расчетный и корреспондентский счета, наименование банка, банковский идентификационный код (БИК), номера телефонов и факса, ответственные лица, режим работы и т. п.);
х2 информация об единице товара (вид, наименование, стоимость, масса и т. п.);
х3 информация о грузовой единице (вид тары пакет, паллета, контейнер; количество единиц товара в грузовой единице; масса брутто; стоимость с товаром; габариты; тип контейнера и т. п.);
х4 информация о партии отправки (стоимость, количество грузовых единиц в партии, периодичность доставки партий, масса партии товара, отношение стоимости партии отправки к ее массе, отношение массы партии товара к ее объему, наличие сертификатов и т. п.);
х5 обычные условия доставки (места погрузки/ отправления и разгрузки/назначения, время использования подвижного состава, дата готовности к погрузке, время отправки и доставки, форма оплаты и т. п.); jc6 особые условия доставки (температура, бережность обращения, степень опасности, необходимость охраны, страхования груза, вид страхования, необходимость переадресовки отправки в пути, допустимое число ярусов хранения и т. п.) и др.;
x-j покупательная способность фирмы и т. д.
Параметры экспедитора могут быть представлены в виде:
ЕХР(у) = {у1,уг,...,у„};у=1-У,п=1-/?, (3)
где у, информация об экспедиторе (наименование, юридический и почтовый адрес, расчетный и корреспондентский счета, наименование банка, БИК, номера телефонов и факса, ответственные лица, режим работы и т. п.);
у2 информация об условиях доставки (стоимость, виды, направления, сроки, надежность и т. п.) и др.
Параметры перевозчика могут быть формализованы следующим образом:
PER (z) = {zv z2, z3.....гп};/ = 1-Z, п- 1-Л/, (4)
где ?| информация перевозчика (наименование, юридический и почтовый адрес, расчетный и корреспондентский счета, наименование банка, БИК, номера телефонов и факса, ответственные лица, режим работы и т. п.);
Z2 информация об условиях перевозки (тарифы, виды, направления, сроки, надежность и т. п.); г3 информация о подвижном составе (например, тип кузова автомобиля, грузоподъемность, внутренний объем кузова) и т. д.
С учетом (2), (3), (4) модель системы доставки (1) может быть представлена как
SD = {*„, Уп, zn}\ п = 1- N, (5)
где хп параметры торговой фирмы; уп параметры экспедитора; z„ параметры перевозчика.
Проведем анализ целевой функции доставки товара. Целевая функция системы доставки выглядит следующим образом:
E(SD) - max, (6)
т. е. предполагает достижение максимальной эффективности доставки партии товаров. Целевую функцию (6) системы доставки невозможно определить однозначно, так как каждый из элементов системы преследует собственные цели, которые формулируются одинаково извлечение максимальной прибыли от своих видов деятельностей:
?{TF, EXP, PER} - max. (7)
Рассмотрим прибыль отдельных элементов системы. В общем случае
П(/) = dj - (г, + р(); / = 1N, (8)
где d, доходы;
г, ожидаемые затраты;
Рі непредвиденные затраты (потери).
Предположим, что после проведения процедуры поиска перевозчика возможно удовлетворение следующих условий:
- ожидаемая стоимость доставки партии товара равна или не превышает покупательную способность торговой фирмы;
- направление доставки соответствует направлению, по которому экспедиторская фирма осуществляет доставку грузов;
- время доставки груза к месту назначения равно или не превышает требуемого заказчиком времени;
- параметры используемого подвижного состава соответствуют необходимым параметрам.
Тогда доходы экспедитора складываются из оплаты торговой фирмой стоимости доставки партии товара, скидок с тарифа перевозчика и штрафов, выплаченных торговой фирмой за несоблюдение условий договора на ТЭО, например за задержку подвижного состава сверх оговоренного срока и т. п. Перевозчики, специализирующиеся в междугородных перевозках, заинтересованы в поддержании постоянных контактов с экспедитором. В этой связи перевозчики довольно часто прибегают к предоставлению различного рода скидок с тарифа на перевозку и других льгот.
В данном случае возникает опасность того, что, стремясь к повышению прибыли путем получения скидок с тарифа перевозчика, экспедитор рискует ухудшить значения параметров доставки; издержки от несоблюдения условий поставки могут оказаться большими, чем размер полученной скидки. Другое дело, если скидки предоставляются перевозчиком, степень надежности которого достаточно высока.
Затратами экспедитора являются расходы на поиск перевозчика, оплата стоимости перевозки и доставки, выплаты за несоблюдение условий договора и т. п. Затрат экспедитора на поиск и выбор перевозчика можно избежать или свести их к минимуму путем приобретения услуг первого же перевозчика. Но в данном случае возникают проблемы, связанные с необходимостью обеспечения соответствия требуемых параметров заказа.
Отсюда следует, что резервы повышения уровня прибыли заключаются в соблюдении условий доставки, установленных в договоре на ТЭО.
Доходы перевозчика складываются из оплаты экспедитором тарифа на перевозку, а также штрафа за задержку подвижного состава сверх установленного в договоре времени. Затраты перевозчика скидки, предоставляемые экспедитору с тарифа на перевозку, и затраты на подготовку перевозки. Затраты на подготовку перевозки (на закупку топлива, смазочных материалов, шин, запасных частей, техническое обслуживание и ремонт и т. п.) отражаются на величине тарифа на перевозку. Если на рынке транспортных услуг сложились средние цены на перевозки, то эти затраты можно считать неуправляемыми переменными (параметрами) и не учитывать.
Но данные затраты необходимо иметь в виду, так как они являются резервом прибыли экспедитора. Если перевозчики найдут возможность снизить затраты, то это отразится на среднем уровне тарифов на рынке в сторону их снижения.
Это повысит прибыль экспедитора при неизменной стоимости доставки либо позволит экспедитору снизить стоимость доставки при неизменном уровне обслуживания, что повысит степень привлекательности его услуг для потребителей.
С другой стороны, затраты перевозчика определяются параметрами заказа на перевозку. Чем жестче значения этих параметров, тем большие затраты вынужден будет нести перевозчик для их удовлетворения. Таким образом, чем жестче условия доставки, требуемые торговой фирмой, тем выше относительно средних рыночных цен должна быть плата за доставку.
Это предотвратит снижение уровня прогнозируемой прибыли вследствие увеличения затрат перевозчика и соответственно экспедитора.
Аналогично доходы торговой фирмы в процессе доставки товара складываются из штрафов, выплаченных экспедитором за несоблюдение условий договора (за повреждение, порчу, кражу товаров, доставку партии товаров в более поздние сроки, чем установлено в договоре на ТЭО, и т. п.). Размеры штрафов компенсируют издержки торговой фирмы от потери объема продаж, кражи товаров, утраты их потребительских свойств и т. п. в том случае, если в договоре доставки будут учтены все возможные последствия доставки и размеры соответствующих санкций. Но в данном случае экспедитор может отказаться от продажи услуг по доставке еще на этапе заключения договора из-за высокого уровня ответственности за доставку и, следовательно, большого риска. Торговая фирма может повысить привлекательность заказа путем предложения более высокой платы за доставку или путем страхования доставки.
В противном случае размеры штрафов несоизмеримы с размерами потерь торговой фирмы от возможных последствий доставки.
Чем жестче требования по надежности (сохранность потребительских свойств товара, срок доставки, исключение краж и т. п.), гибкости (переадресовка отправки в пути) и т. д., тем выше должны быть затраты торговой фирмы на компенсацию расходов экспедитора на обеспечение этих требований. Затраты торговой фирмы можно разделить на ожидаемые, учитываемые в сумме оплаты за доставку, и непредвиденные как результат непредвиденных обстоятельств. Прогнозирование потерь торговой фирмы от возможных последствий доставки груза проводится с точки зрения надежности.
Определим надежность системы доставки как вероятность того, что груз будет доставлен при заданных выше условиях. Тогда целевая функция системы доставки является функцией надежности доставки (HSD):
E{TF, EXP, PER} = F(HSD) - max. (9)
Параметрами, определяющими надежность доставки, являются время доставки, сохранность партии отправки, а также потребительских свойств товаров. Причинами возможных результатов доставки могут быть также такие форс-мажорные обстоятельства, как неожиданная болезнь водителя (сердечный приступ и т. п.); дорожно-транспортное происшествие по вине другого участника транспортного процесса вследствие сложных дорожных (плохое состояние дорожного покрытия, отсутствие линии разметки и т. п.) и погодных условий (туман, дождь, снег, град); стихийные бедствия (пожар, землетрясение, лавина); ограбление.
Возможными последствиями результатов доставки для торговой фирмы могут быть:
- затраты на поиск непоставленного в срок груза (вследствие задержки в пути);
- затраты на создание страхового запаса дилеров;
- потеря объема продаж (при утрате партии товаров);
- выплата неустойки (штрафа) партнерам за несоблюдение контрактных обязательств;
- упущенная прибыль от непродажи товара;
- отказ дилера в покупке (вследствие утраты товарами потребительских свойств).
Классификация логистических систем
Большинству реально функционирующих на практике логистических систем присущи основные черты сложных (больших) систем, позволяющие применять к их анализу и проектированию системный подход, а именно:
- сложность. Сложность логистической системы характеризуется такими основными признаками, как наличие большого числа элементов (звеньев); сложный характер взаимодействия между отдельными элементами; сложность функций, выполняемых системой; наличие сложно организованного управления; воздействие на систему большого числа стохастических факторов внешней среды;
- иерархичность, т. е. подчиненность элементов более низкого уровня (порядка, ранга) элементам более высокого уровня в плане линейного или функционального логистического управления;
- эмерджентность (целостность), т. е. свойство системы выполнять заданную целевую функцию, реализуемое только логистической системой в целом, а не отдельными ее звеньями или подсистемами;
- структурированность. Предполагает наличие определенной организационной структуры логистической системы, состоящей из взаимосвязанных объектов и субъектов управления, реализующих заданную цель.
Особенностями реальных звеньев, из которых может состоять логистическая система, являются:
- различные формы собственности и организационно-правовые формы;
- различия в характере и целях функционирования;
- различия в производственной мощности, уровне концентрации производства, используемом технологическом оборудовании, потребляемых ресурсах;
- рассредоточенность технических средств и трудовых ресурсов на большой территории;
- экстерриториальность и высокая мобильность средств транспорта;
- зависимость результатов деятельности от большого числа внешних факторов и смежных звеньев и др.
Кроме того, нужно учитывать, что большинство звеньев логистической системы являются синтезом субъектов и объектов логистического управления со своими организационно-функциональными структурами и локальными критериями оптимизации функционирования, которые в общем случае могут не совпадать с глобальной целью логистической системы. Это значительно усложняет формирование управления в логистической системе и приводит к необходимости создания органа высшего логистического менеджмента для координации и интеграции действий звеньев логистической системы.
С позиций кибернетического подхода звено логистической системы можно представить как некоторый элемент, преобразующий входящие в него материальные (финансовые, информационные) потоки (рис. 4.1).
Кортеж X, R, С представляет собой векторы параметров входных материального X = {х,, х2, хд}., информационного R = {г,, г2,
г?) и финансового С {с,, с2, с*} потоков, F- {/j,/2,
представляет собой вектор внешних возмущений (воздействий внешней среды); Z ~ {Z\, Z2, Zs\ вектор параметров звена логистической системы. Выходной кортеж У, R', О это выходные векторы параметров соответственно материального (У), информационного (R') и финансового (С) потоков, размерность которых в общем случае может не совпадать с размерностью входных векторов.
Часть параметров вектора R представляет собой управляющую информацию, поступающую от субъектов управления в логистической системе. В случае если звено логистической системы генерирующего типа, то (см. главу 2, рис. 2.3) имеется только выходной кортеж или отдельные его составляющие, а также век-

Рисунок 4.1. Звено логистической системы (ЗЛС) как преобразователь потоков: X, Я, С векторы параметров входных потоков (материального, информационного, финансового); Z вектор параметров ЗЛС; У, R' С векторы параметров выходных потоков; F вектор внешних возмущений
ЛОГИСТИЧЕСКИЕ СИСТЕМЫ

Рисунок 4.2. Классификация логистических систем
тора F и Z. Если звено логистической системы поглощающего типа, то отсутствует выходной кортеж векторов.
На рис. 4.2 представлена классификация логистических систем.
Согласно предлагаемой классификации, логистические системы делятся на две большие группы: микрологистические и мак-рологистические системы. Микрологистические системыотносятся, как правило, к определенной организации бизнеса, например к фирме-производителю товара (ассортимента товаров), и предназначены для управления и оптимизации материальных и связанных с ними потоков (информационных, финансовых) в процессе производства и (или) снабжения и сбыта.
Соответственно различают внутренние (внутрипроизводственные), внешние и интегрированные микрологистические системы.
Внутрипроизводственныелогистическиесистемы оптимизируют управление материальными потоками в пределах технологического цикла производства продукции. Если задана программа выпуска готовой продукции (производственное расписание), то основными задачами внутрипроизводственной логистической системы являются: эффективное использование материальных ресурсов, уменьшение запасов материальных ресурсов и незавершенного производства, ускорение оборачиваемости оборотного капитала фирмы, уменьшение длительности производственного периода, контроль и управление уровнем запасов материальных ресурсов, незавершенного производства и готовой продукции в складской системе фирмы-производителя, оптимизация работы технологического (промышленного) транспорта.
Организация взаимодействия логистических посредников
Взаимодействие логистики с инфраструктурой фирмы включает в себя взаимоотношения между логистикой и такими функциональными сферами, как общий менеджмент, финансы, планирование, бухгалтерский учет и аудит, управление качеством и др. В стратегическом, тактическом и оперативном внутрифирменном планировании логистическому планированию отводится одна из ведущих ролей.
Планирование охватывает все логистические функции в разрезе той иерархии, которая определена проектируемой логистической системой фирмы.
Взаимодействие логистики и финансового менеджмента проявляется прежде всего в объеме и оборачиваемости оборотного капитала фирмы. Так как большую долю оборотного капитала составляют денежные средства, вложенные в запасы материальных ресурсов и готовой продукции, то эффективность логистических решений по управлению запасами (например, снижение их объема в производстве и дистрибьюции) напрямую связана с ускорением оборачиваемости капитала и высвобождением финансовых средств для инвестирования в производство или сервис.
Другой аспект взаимодействия относится к концепции общих затрат. Так как издержки во внешних логистических каналах внутрифирменных логистических систем сопоставимы, а иногда и превышают себестоимость готовой продукции, то финансовый менеджмент должен акцентировать свои усилия на поиске (совместных с логистическим менеджментом) путей снижения затрат, связанных с закупкой материальных ресурсов и сбытом готовой продукции (например, оптимизация транспортировки, грузопереработки и т. п.).
Близкой к финансовому менеджменту является проблема взаимоотношений логистики с действующей на фирме системой бухгалтерского учета и отчетности. Как уже отмечалось, неприспособленность в прошлом этой системы к выделению составляющих полных логистических издержек тормозила развитие логистики в мире.
Система бухгалтерского учета и счетоводства фирмы, в рамках стандартов учета, принятых в конкретной стране, должна способствовать выделению, анализу и контролю основных составляющих издержек в логистических каналах и цепях для принятия адекватных управленческих решений.
Мы уже затрагивали проблемы управления качеством продукции и сервиса в эволюции логистики. Широкомасштабные заявления большинства фирм о поддержании мировых стандартов и непрерывном улучшении качества продукции и сервиса не могут быть реализованы без применения логистических подходов.
Выдвижение на передний план проблемы управления качеством (в частности, при формулировании миссии фирмы), как правило, предопределяет развитие логистической сферы, повышая ее значимость на фирме.
В заключение отметим, что логистика обладает активным интегрирующим потенциалом, способным связать воедино и улучшить взаимодействие между такими базовыми функциональными сферами фирмы, как снабжение, производство, маркетинг, дистрибьюция, организация продаж. Например, преобразуя маркетинговую информацию, логистический менеджмент воздействует на производство, оптимизируя производственно-технологический цикл и продуктовые характеристики. Рационально управляя запасами материальных ресурсов и готовой продукции в снабжении, производстве и сбыте, логистика способствует уменьшению общих затрат, снижению цены на готовую продукцию и в результате улучшению стратегических позиций фирмы на рынке. Логистический менеджмент может обеспечивать эффективную координацию объемов закупок материальных ресурсов и производства готовой продукции с прогнозируемым (на основе маркетинговых исследований) объемом продаж.
Таким образом, логистический менеджмент поддерживает системнуюустойчивость фир -мы нарынке, сглаживая противоречия между маркетингом, производством, финансами и оптимизируя межфункциональные внутри-фирменныерешения.
Организация взаимодействия логистических посредников
Западные исследователи и практики сходятся на том, что логистические посредники прежде всего становятся эффективным инструментом экономии финансовых и материальных ресурсов в процессе товародвижения. Кроме того, специализация торговых посредников на логистических услугах способствует развитию комплексного характера их деятельности, значительному повышению их общей роли в сфере товарообращения.
Наконец, логистические посредники обеспечивают всесторонний учет транспортного фактора производителями и потребителями товаров, более рациональное использование ими транспортных средств и услуг как в межотраслевых, так и в собственных интересах.
Расширение деятельности логистических посредников в регионах России связано с особенностями транспортной сети, структуры перевозок и т. д. С развитием рыночных отношений укрепляются договорные связи посредников с грузоотправителями, транспортными предприятиями и грузополучателями. Возросли потребности в организации межгосударственных сообщений, в том числе между регионами стран СНГ, которая осуществляется логистическими посредниками во многих странах Западной Европы.
Решающая роль должна принадлежать посредникам в организации товародвижения через различные оптовые базы и склады, предприятия коммерческо-посреднических организаций бывшей системы Госснаба, транспортные базы общего пользования, склады товаропроизводителей и потребителей. Имея собственные складские мощности, предоставляя их в пользование промышленным предприятиям на арендных или кооперационных началах, координируя эксплуатацию собственных производственных и транспортных складов, посреднические предприятия могут быть инициаторами в проведении инвестиционной политики развития складского хозяйства, комбинированного и комплексного использования действующих складских объектов.
На современном этапе хозяйствования оптовые посредники могут органически сочетать закупки и реализацию товаров с обеспечением их складирования и перевозок. Это в равной степени относится к деятельности как коммерческо-посреднических фирм в сфере материально-технического обеспечения, так и посредников на оптовом рынке продовольствия и промышленных товаров. Однако до сих пор функции транспортно-складского обслуживания занимали второстепенное место в деятельности оптовых посредников.
В большинстве случаев они ограничиваются поставками продукции со своих складских предприятий. Не получили развития транспортно-экспедиционные функции посредников, которые выполняются службами транспортных министерств,
практически мало связанными с товаропроводящей сетью. Оптовые посредники не оказывают, как правило, содействия промышленным предприятиям в транспортном обслуживании, в модернизации их складского хозяйства, не заинтересованы в совершенствовании управления материальными потоками и процесса товародвижения.
Коммерческо-посреднические организации и предприятия, в том числе бывшей системы Госснаба, осуществляют в промышленных и транспортных узлах складские и грузовые операции автономно, без увязки с деятельностью транспортных складских предприятий. Многие из имеющихся складских мощностей указанных организаций загружены наполовину и менее.
Использование свободных складских мощностей не согласовывается между субъектами товарного рынка и транспортными предприятиями при создании ими терминалов.
Совершенствование организации товародвижения на основе развития логистической деятельности посредников должно способствовать решению двуединой задачи: повышению эффективности рыночной инфраструктуры, экономии финансовых и материальных ресурсов; усилению роли коммерческо-посреднических организаций и их влияния на процессы товародвижения. Развитие посреднических услуг в сфере товарообращения должно быть взаимосвязано с формированием специализированных организаций нового типа, оказывающих услуги поставщикам и потребителям по обеспечению товародвижения, либо коммерческо-посреднических организаций и предприятий, сочетающих предоставление традиционных и новых логистических услуг. Такого рода логистические услуги могут быть объединены в четыре группы:
- по складированию продукции;
- транспортные и транспортно-экспедиционные;
- консалтинговые;
- информационные.
Большинство указанных услуг посредники оказывают промышленным предприятиям. Часть консалтинговых и информационных услуг они могут оказывать местным органам власти (табл.
3.1). Отечественная практика показала, что в последнее время получили развитие также и другие новые виды логистических услуг, ранее не свойственных снабженческо-сбытовым организациям.
К ним относятся услуги по приемке продукции на ответственное хранение, по оказанию помощи предприятиям, взаимодействующим с транспортом, по сбыту продукции и формированию хозяйственных связей с потребителями продукции. Часть указанных услуг стали учитывать в объеме реализации продукции транзитом, что непосредственно повлияло на рост реализации и улучшение финансовых показателей предприятий-посредников.
О развитии транспортно-экспедиционных и других новых видов логистических услуг свидетельствуют следующие показатели анкетных опросов табл. 3.2.
Как видно из табл. 3.2, во-первых, постепенно увеличивается число предприятий, осуществляющих новые виды логистических услуг, в том числе рассчитывающих на их дальнейшее развитие.
Во-вторых, в 19951996 гг. сократилось число предприятий, не осуществляющих этих услуг (с 16 до 6%), а в 1997 г. таких предприятий не было.
По информации, полученной от предприятий в 1997 г., больше половинві их валового дохода от оказания дополнительный услуг связано с транспортно-экспедиционными операциями и операциями по приемке продукции на ответственное хранение. По даннвш анкетного опроса установлена следующая структура выплат за дополнительные услуги (табл.
3.3).
Следовательно, 51% суммві выплат приходился по анкетированным предприятиям на новые дополнительные услуги логистического характера и 49% на традиционнвіе услуги (производственные и лизинговые).
Новые логистические услуги начинают преобладать в деятельности коммерческо-посреднических предприятий. Эти услуги становятся разнообразнее, органически сочетаются с закупкой и реализацией товаров, но необязательно связаны с ними напрямую и могут заключаться в транспортно-складском и информационном обеспечении товарных потоков.
Благодаря выполнению новых функций логистического характера существенно увеличились возможности для развития коммерческой инициативы оптовых посредников, расширился круг обслуживаемых предприятий, возрос объем деятельности и повысилась рентабельность предприятий-посредников. Логистические услуги не только значительно увеличивают общий спектр оказываемых услуг, обогащают их ассортимент, повышают заинтересованность заказчиков, но и способствуют углублению специализации оптовых посредников и повышению их роли на рынках товаров и услуг.
С развитием логистических функций и материально-технической базы коммерческо-посреднических организаций, расширением спроса на их услуги произойдут организационные преобразования в системе коммерческо-посреднических структур. Очевидно, что ожидаемые изменения во многом будут связаны с повышением экономической заинтересованности в освоении новых функций по организации и обеспечению процессов товародвижения. С учетом потребности предприятий в транспортно-экспедиционных услугах часть коммерческо-посреднических организаций могла бы приступить к выполнению операций по отправке продукции и обеспечению взаимодействия обслуживаемых предприятий с отдельными видами транспорта.
К числу таких операций может быть отнесена прежде всего информация предприятий о наиболее выгодных и надежных вариантах перевозки, о требованиях к отправке, выдвигаемых железнодорожными станциями, портами, автотранспортными организациями по месту отгрузки. Предприятия нуждаются в получении сведений о тарифах, изменениях в правилах их применения и возможностях осуществления доставки с наименьшими затратами.
Необходимы также услуги по оказанию помощи в оформлении товарно-транспортной документации и заключению договоров на перевозку. У другой части коммерческо-посреднических организаций могли бы получить развитие иные логистические функции и услуги.
Они могли бы сочетать оказание традиционных услуг (например, по маркетингу) с новыми услугами логистического характера и выступать в качестве посредников, выполняющих комбинированные функции, осуществляющих комплексное обслуживание заказчиков с учетом как функций по закупке и продаже (торговых, коммерческо-посреднических), так и логистических методов посреднической деятельности по организации товародвижения.
Если вначале коммерческо-посреднические структуры частично расширят свои функции, то в дальнейшем они организационно преобразуются с учетом потребностей клиентуры в посредничес-
кие организации комплексного обслуживания, имеющие специализированные структурные ячейки по оказанию логистических услуг. Развитие комплексного характера деятельности посредников должно способствовать значительному повышению их роли в системе субъектов рыночной инфраструктуры.
Посреднические организации комплексного обслуживания могут функционировать без собственных складов (например, лесозаготовительные организации), но в большинстве случаев имеют в своем составе складские предприятия. Действующие складские предприятия в составе коммерческо-посреднических структур или как самостоятельные посреднические организации уже в настоящее время выполняют многие логистические функции по складской переработке, хранению продукции и значительную часть цикла погрузочно-разгрузочных работ. В дальнейшем они могут быть сориентированы на терминальные технологии и осуществлять свою деятельность в режиме работы транспортных терминалов.
В новом качестве и при соответствующем статусе (с правами юридического лица) они представляли бы собой самостоятельные субъекты логистического обслуживания. Наряду с этим они будут выступать в качестве складских предприятий общего пользования и межотраслевого назначения, которым отводится важнейшая роль в логистической системе, например США.
Органы власти субъектов Российской Федерации призваны стимулировать развитие новых функций оптовых посредников, способствовать их научно-методическому обеспечению. По инициативе региональных органов власти должна осуществляться подготовка методических материалов информационного и рекомендательного характера (индикативное управление), например: информация об особенностях деятельности логистических посредников в различных регионах России, их прогрессивном опыте, зарубежных новациях; рекомендации по методам логистического обслуживания, определению и повышению их эффективности.
Кроме того, региональные органы власти должны быть сами заинтересованы в развитии и использовании для нужд регионов новых направлений деятельности посреднических предприятий.
Например, оптовые посредники могут разрабатывать и участвовать в реализации предложений по рациональной организации транспортно-экономических связей внутри регионов, с другими регионами и зарубежными странами. Они могут оказывать консультации по совершенствованию структуры совокупных запасов продукции в регионе, по организации транспортного обслуживания предприятий региона (см. табл. 3.1).
В свою очередь, региональные органы власти могли бы оказывать поддержку в структуризации новых функций коммерческо-посреднических организаций, в соответствующих структурных преобразованиях этих организаций.
В зависимости от размера спроса на новые услуги представляется возможной последующая эволюция посреднических организаций комплексного обслуживания в нескольких вариантах. Во-
первых, в зависимости от размера спроса на логистические услуги и особенностей специализации посреднических организаций комплексного обслуживания может стать целесообразным выделение из них специализированных логистических посредников. Во-вторых, из новых посреднических организаций комплексного обслуживания могут быть выделены или на их основе образованы транспортно-экспедиционные структуры. В-третьих, организации комплексного обслуживания могут быть переориентированы на терминальные технологии и осуществлять свою деятельность в режиме работы транспортных терминалов.
В-четвертых, при территориальном тяготении к крупным транспортным узлам посреднические организации комплексного обслуживания могут явиться базой для создания транспортно-сбытовых центров (именуемых за рубежом логистическими или распределительными центрами).
Транспортно-экспедиционное обеспечение логистики
Одной из причин низкой конкурентоспособности российских товаров является высокая доля затрат на транспортно-экспедиционное обеспечение распределения товаров, уровень которых в 23 раза превышает аналогичные показатели индустриальных стран Запада. Это объясняется недостатками как транспорта, так и управления запасами, обусловленных общими недостатками командной системы, в особенности отсутствием стимулов для экономии ресурсов.
Это и отсутствие гибкости в деятельности транспортных предприятий, и огромный, неэффективно эксплуатируемый парк подвижного состава транспорта общего пользования и ведомственного транспорта, и неразвитая инфраструктура, и усложненная документация, и задержки в пунктах взаимодействия разных видов транспорта, и недостатки систем банковских операций и страхования грузов.
В последнее время у производственных и торговых фирм возникают серьезные проблемы со сбытом товаров. Одной из причин этого является снижение уровня потребительского спроса. Данная тенденция, в свою очередь, связана со снижением покупательной способности населения, падением обменного курса рубля, усилением инфляционных процессов, а также ужесточением конкуренции на товарных рынках. Данные обстоятельства вынуждают фирмы менять ценовую политику, направленную на получение прибыли.
Фирмы ускоряют оборачиваемость капитала, вложенного в товары, путем их продажи по более низким ценам, уменьшения партий товаров, расширения рынков сбыта (в том числе за счет выхода на рынки, расположенные в других регионах), развертывания дилерской сети.
Транспортно-экспедиционное обеспечениераспределения товаров, как одна из функций логистики, заключается в планировании, организации и осуществлении доставки товаров от мест их производства до мест потребления с использованием оптимальных способов и методов. Транспортно-экспедиционное обслуживание (ТЭО) на автомобильном транспорте рассматривается как система доставки, включающая в себя перевозку товара от изготовителя до потребителя и выполнение связанных с ней погрузочно-разгрузочных работ, хранение (расфасовку, упаковку, складирование), страхование, финансовые услуги, информационные процессы и ведение документации.
Процесс выполнения (помимо чистой перевозки) целого ряда работ, операций и услуг, комплекс которых обеспечивает эффективное распределение товаров, называется доставкой товаров.
Транспортное обслуживание определяется какдеятельностьтранс-портно-экспедиционных предприятий, связанная с процессом перемещения грузов в пространстве и во времени с предоставлением перевозочных, погрузочно-разгрузочных услуг и услуг хранения. Экспедиционное обслуживание является составной частью процесса движения товара от производителя к потребителю и включает выполнение дополнительных работ и операций, без которых не мыслим перевозочный процесс.
При экспедиционном обслуживании предоставляются экспедиционные, коммерческо-правовые и информационно-консультационные услуги. Таким образом, функции транспорта в системе распределения товаров заключаются в выполнении транспортного и экспедиционного обслуживания.
Исследование и анализ проблемы качества транспортно-экспедиционного обслуживания потребителей показали, что в основе существующих концепций обслуживания лежит утверждение, что высокий уровень качества транспортных услуг достигается при условии обеспечения комплексного обслуживания. Иными словами, чем больше услуг будет оказано потребителям, тем выше будет уровень качества обслуживания.
Вместе с тем в условиях рынка обслуживание с более широким ассортиментом предлагаемых услуг, чем это необходимо потребителю, обходится последнему дороже.
Рассмотрим понятие услуги. В международном стандарте ISO под услугой понимается, во-первых, результат деятельности или процесса (услуга как нематериальная продукция), во-вторых, деятельность или процесс (предоставление услуги).
Услуга определяется как деятельность, связанная с обменом стоимостей, направленная на удовлетворение потребностей, которая не сводится к передаче прав собственности на материальный продукт. Известны следующие особенности услуг транспорта:
- услуга не может существовать вне процесса ее оказания, а следовательно, накапливаться;
- продажа услуги это, практически, продажа труда, следовательно, качество услуги это качество труда;
- услуга представляет собой конкретную потребительную стоимость лишь в определенное время на данном направлении, что резко ограничивает возможности ее замещения на рынке;
- спрос на услуги характеризуется значительными колебаниями;
- транспорт не располагает большими возможностями для сглаживания колебаний спроса и особенно пиков спроса;
- предложение услуг отличается малой приспособляемостью к изменениям спроса;
- создание дополнительной провозной способности для полного удовлетворения избыточного спроса обходится весьма дорого.
Достаточно сложной представляется проблема оценки качества услуг. Согласно стандарту ISO, качество услуг определяется как совокупность свойств и характеристик услуги, которые придают ей способность удовлетворять обусловленные или предполагаемые потребности. Таким образом, требования, предъявляемые клиентами к доставке товаров, непосредственно вытекают из их потребностей. Данные потребности достаточно четко формулируются в заключаемых контрактах.
В остальных случаях предполагаемые потребности должны определяться с помощью маркетинговых исследований. Потребности со временем меняются, что обуславливает необходимость периодического проведения маркетинговых исследований.
Потребность в услугах транспорта должна быть удовлетворена своевременно, а иногда и немедленно. Как уже отмечалось, во многих случаях не удовлетворенная в соответствующее время потребность становится ненужной для потребителя
Основные понятия и определения
Дополнительные трудности создавали существовавшие в то время системы бухгалтерского учета, не приспособленные для выделения и контроля составляющих логистических издержек и оценки финансовых результатов логистических операций фирм.
Отличительной чертой 1970-х годов стало усиление конкуренции на фоне нехватки высококачественных сырьевых ресурсов. Предшествующий рост инвестиций в средства производства в большинстве стран сменился относительной стабилизацией. В то же время значительно выросли общие логистические затраты, например в США в 2,7 раза за анализируемое десятилетие.
Основной задачей большинства фирм стало снижение себестоимости продукции и рациональное использование сырья, материалов, полуфабрикатов и комплектующих изделий. Свою роль сыграл в этом и разразившийся мировой энергетический кризис. За период с 1973 по 1980 гг. мировые цены на сырую нефть выросли в 4 раза, что повлекло за собой почти повсеместный в западном мире рост инфляции и спад промышленного производства. Стагфляция в экономике стран Запада в этот период заставила высших менеджеров фирм вплотную заняться поиском путей снижения затрат в производстве и дистрибьюции на основе концепции бизнес-логистики.
Ресурсный фактор (снижение энергоемкости и материалоемкости продукции) стал одним из основных в конкурентной борьбе. Акцент в логистике несколько сместился на производство, чему в немалой степени способствовало появление компьютерных систем контроля и управления производством, внедрение и развитие АСУ технологическими процессами и производственными подразделениями.
К концу 1970-х годов на Западе практически завершилась так называемая тарно-упаковочная революция, которая коренным образом изменила складской процесс, его операционный состав, организацию, техническое и технологическое обеспечение. Большое развитие получило производство транспортно-складского оборудования, новых видов тары и упаковки, современных автоматизированных складских комплексов, активно начала внедряться контейнеризация перевозок грузов.
Значительный экономический эффект дало применение в распределительных логистических системах стандартизации тары и упаковки, прежде всего внедрение стандартных типоразмерных рядов упаковок и паллетов.
Период с 1980-х до середины 1990-х годов характеризуется стремительным развитием современных маркетинговой и интегральной концепций логистики в индустриальных странах Запада. Действительно, за этот период теория и практика логистики на Западе шагнули далеко вперед, намного превзойдя уровень, достигнутый в предыдущие десятилетия.
Определяющей идеей развития логистики в это время была максимальная интеграция логистических функций фирмы и ее логистических партнеров в так называемой полной логистической цепи: закупкипроизводство дистрибьюция-продажи для достижения конечной цели бизнеса с минимальными затратами. В рассматриваемый период произошли существенные изменения в мировой экономике, которые объясняют феномен логистического взлета. Основными из них являются следующие:
1) революция в информационных технологиях и внедрение персональных компьютеров (ПК);
2) глобализация рынка;
3) изменения в государственном регулировании инфраструктуры экономики;
4) повсеместное распространение философии всеобщего управления качеством;
5) рост партнерства и стратегических союзов;
6) структурные изменения в организациях бизнеса.
1980-е и начало 1990-х годов можно назвать эпохой персональных компьютеров. Малогабаритные и относительно дешевые ПК стали неотъемлемой принадлежностью любой организации бизнеса, устанавливались практически на каждом рабочем месте, где необходимо было осуществлять управление или контроль производственных, технологических, распределительных и других процессов, связанных с материальными потоками. Использование ПК, создание на их базе локальных вычислительных и телекоммуникационных сетей, автоматизированных рабочих мест (АРМ) открыло новые горизонты для логистики.
Современное программное обеспечение позволило использовать ПК в интерактивных процедурах интегрированного логистического менеджмента от закупок материалов до распределения и продаж готовой продукции. Новые поколения более мощных и менее дорогих ПК в начале 1990-х годов в сочетании с архитектурой открытых систем еще более стимулировали внедрение информационно-компьютерных инноваций в логистике.
Совершенствование микропроцессорной техники и ее широкое применение во всех сферах экономики индустриальных стран способствовало революции в информационно-компьютерных технологиях. Информация в электронной форме превратилась в важнейший компонент современной рыночной инфраструктуры. Формирование мирового информационного пространства шло в направлении создания и развития баз и банков данных, систем и стандартов электронных сделок и электронных коммуникаций.
Для продвижения принципов логистики важнейшее значение имели создание систем электронных банковских операций (на основе международной межбанковской сети SWIFT и SWIFT II), использование для поддержки информационного взаимодействия между логистическими партнерами стандартов электронного обмена данными (Electronic Data Interchange, EDI) и электронного обмена данными в управлении, торговле и на транспорте (Electronic Data Interchange for Administration, Commerce and Transport, EDIFACT).
Продвижению логистических концепций в бизнесе способствовал быстро развивающийся рынок электронных коммуникаций, а именно: сетей передачи данных, факсимильной связи, электронной почты, телеконференций, расчетных палат, общедоступного программного обеспечения и т. д. Начали широко использоваться логистическими партнерами возможности систем массового информационного обслуживания как коммерческих (CompuServe, America Online), так и некоммерческих (Internet).
Определяющую роль в становлении и утверждении интегральной концепции логистики сыграла возможность постоянного контроля за материальными потоками в реальном масштабе времени в режимах удаленного доступа через информационные системы связи (например, через спутниковые телекоммуникационные системы). Таким образом, революция в информационных технологиях усилила понимание того, что наряду с материальными необходимо управлять сопутствующими информационными потоками. В 1985 г. СЛМ уточнил определение логистики следующим образом: Логистика есть процесс планирования, управления и контроля эффективного (с точки зрения снижения затрат) потока запасов сырья, материалов, незавершенного производства, готовой продукции, услуг и сопутствующей информации от места возникновения этого потока до места его потребления (включая
импорт, экспорт, внутренние и внешние перемещения) для целей полного удовлетворения запросов потребителей1.
В этом определении важны три момента. Во-первых, то, что логистическая деятельность носит интегрированный характер и простирается от места возникновения до места потребления потока материальных ресурсов и готовой продукции.
Во-вторых, подчеркнута важность управления сопутствующей информацией. И наконец, в-третьих, впервые в сферу интересов логистики попали сервисные (нематериальные) потоки.
Это имеет принципиальное значение для развития логистических подходов в индустрии сервисных услуг, так как все предыдущие десятилетия объектом изучения и оптимизации в логистике были только материальные потоки.
Развитие интеграции мировой экономики и глобализация бизнеса способствовали созданию международных логистических систем. Крупные западные фирмы стремились развивать глобальные стратегии, т. е. производить продукцию для мирового рынка и в тех местах, где можно было найти наиболее дешевые сырье, компоненты, трудовые ресурсы. Ликвидация традиционных национальных, торговых, таможенных, транспортных и других барьеров, как это произошло в странах ЕС и между США и Канадой, сделала возможным свободное перемещение товаров, услуг и людей через границы и в то же время усилила значимость международной логистической координации. На международной арене логистическая деятельность стала более комплексной, а такие проблемы, как размещение производства и центров дистрибьюции, выбор видов транспорта, типов сервиса, методов управления запасами, проектирование адекватных коммуникационных и информационных систем, потребовали новых навыков логистического менеджмента.
С начала 1990-х годов стали активно разрабатываться и внедряться международные программы и проекты, в которых логистике отводилась ведущая роль.
Например, в странах ЕС принято несколько программ, направленных на создание межнациональных логистических центров физического распределения товарных потоков. Для реализации принципов логистики в международных перевозках и экономических торговых связях в ЕС создаются межнациональные коммуникационные информационно-компьютерные системы, разработанные в рамках проектов TEDIM, UNCTAD, TACIS и др.
За последние 15 лет произошли существенные изменения в транспортном законодательстве ряда стран, прежде всего США и стран ЕС, в результате чего были созданы соответствующие политические условия для развития транспортного сервиса в логистике. Во многих странах был принят целый спектр законов,
административных и юридических актов, направленных на сокращение государственного сектора на транспорте, снятие транспортных барьеров, координацию работы различных видов транспорта, улучшение транспортного сервиса, снижение цен и тарифов. Подобное дерегулирование транспорта способствовало развитию свободной конкуренции и в конечном итоге послужило важнейшим стимулом развития интегрированной логистики, создания крупных транспортно-логистических систем.
Одной из наиболее важных движущих сил логистических изменений стала широко распространившаяся в западном бизнесе концепция всеобщегоуправления качеством (totalquality management, TQM). Эта концепция, взятая на вооружение подавляющим большинством ведущих компаний мира, произвела настоящий переворот в теории и практике менеджмента.
Согласно одному из определений, концепция всеобщего управления качеством это управленческий подход, ставящий в центр внимания задачу повышения качества и основанный на участии в решении этой задачи всех членов фирмы (организации) на всех стадиях производства и продвижения продукции (услуг), позволяющий достичь долговременного успеха за счет удовлетворения нужд потребителей и благодаря взаимной выгоде как каждого члена фирмы, так и общества в целом.
Концепция всеобщего управления качеством является своего рода философией управления, которая признает, что нужды потребителя и цели бизнеса неразделимы. Этот подход применим в равной мере ко всем элементам логистических систем. По данным многочисленных исследований, наилучших результатов в бизнесе достигают те компании, которые применяют концепцию всеобщего управления качеством.
Важность ее для логистики определяется тем, что с точки зрения стратегического планирования на конкурентных рынках западных стран задачи интегрированной логистики фирмы совпадают с идеологией всеобщего управления качеством. Широковещательные заявления высших менеджеров известных западных фирм об инициативах в области повышения качества продукции и услуг стали важным фактором, стимулировавшим совершенствование логистики.
1980-е годы отмечены бурным ростом союзов и альянсов в бизнесе, которые сменили предшествующую практику недоверия, подозрительности и ожесточенной конкуренции. Благодаря концепции интегрированной логистики партнеры по бизнесу начали искать пути продуктивной координации в планировании и управлении запасами готовой продукции, транспортировке, грузо-переработке, организации продаж. Большинство основных форм кооперации развивалось в направлении совершенствования орга-
низационного и межфункционального планирования, управления на стыке различных логистических функций с целью максимального сокращения логистических издержек и улучшения качества обслуживания потребителей. Многие логистические союзы были созданы традиционными конкурентами в области оказания специализированных услуг на транспорте, в системе оптовой торговли и дистрибьюции.
Развитию делового сотрудничества в логистике способствовали принятые правительствами многих стран юридические акты и поправки к законам, смягчающие антитрестовское законодательство и ориентированные на реструктуризацию организаций бизнеса в целях развития межфирменной, межотраслевой и международной кооперации.
Эволюция логистики за рубежом показывает, что она становится одним из важнейших стратегических инструментов в конкурентной борьбе для многих организаций бизнеса, и те фирмы, которые использовали концепции интегрированной логистики, как правило, упрочили свои позиции на рынке.
Основные понятия и определения
Основным объектом исследования, управления и оптимизации в логистике является материальный поток. Информационные, финансовые, сервисные потоки (так называемые потоки, сопутствующие материальному) рассматриваются в подчиненном плане как генерируемые исследуемым материальным потоком.
Определение логистики обычно дается в широком и узком смысле.
В широком смысле логистика это наука об управлении и оптимизации материальных потоков, потоков услуг и связанных с ними информационныхи финансовыхпотоков в определенноймикро-, мезо -или макроэкономической системе для достижения поставленныхперед ней целей. В узком смысле (с позиций бизнеса) логистика это интегральный инструментменеджмента, способствующий достижению стратегических, тактических или оперативных целей организации бизнеса за счет эффективного (с точки зрения снижения общих затрат иудовлетворения требований конечных потребителей к качеству продуктов и услуг) управления материальными и (или) сервисными потоками, а также сопутствующими им потоками информации и финансовых средств.
В наиболее общей постановке с позиций логистики можно исследовать возникновение, преобразование или поглощение материальных и сопутствующих потоков на определенном экономическом объекте, функционирующем как система, т. е. реализующем поставленные перед ним цели и рассматриваемом в этом смысле как единое целое. Действия, прикладываемые к ма-термальному (сопутствующему) потоку в такой системе, называются логистическими операциями или логистическими функциями.
Очевидно, что формой существования материальных потоков должно быть движение конкретных видов продукции (материальных ресурсов, незавершенного производства, готовой продукции) в процессах закупок, производства и сбыта. Поэтому материальный поток можно определить как находящиеся в состоянии движенияматериальныересурсы, незавершенное производство, готовая продукция, к которым применяютсялогистические операции или функции, связанные с физическим перемещением в пространстве (погрузка, разгрузка, затаривание, перевозка продукции, ее сортировка, консолидация, разукрупнение и т. п.). Под материальными ресурсами (МР) мы будем понимать предметы труда: сырье, основные и вспомогательные материалы, полуфабрикаты, комплектующие изделия, сборочные единицы, топливо, запасные части, предназначенные для ремонта и обслуживания технологического оборудования и других основных фондов, отходы производства. Незавершенное производство (НП) это продукция, не законченная производством в пределах данного предприятия.
Готовая продукция (ГП) это продукция, полностью прошедшая производственный цикл на данном предприятии, полностью укомплектованная, прошедшая технический контроль, сданная на склад или отгруженная потребителю (торговому посреднику).
Приведенные определения в известном смысле условны. Так, сырье, полуфабрикаты могут быть готовой продукцией и, в свою очередь, готовая продукция может быть материальными ресурсами для других товаропроизводителей в зависимости от условий производства, обращения и места продукции в рассматриваемой логистической системе. Особым видом материальных ресурсов является тара и упаковка, играющие важную роль в логистике, особенно в процессах физического распределения товаров. Если продукция не находится в состоянии движения, то она переходит в запас.
Таким образом, материальный поток, рассматриваемый в определенном временном сечении, является запасом материальных ресурсов, незавершенного производства или готовой продукции.
Логистической операцией назовемлюбое действие, не подлежащее дальнейшей декомпозиции врамках поставленной задачи исследования или менеджмента, связанное с возникновением, преобразованием или поглощением материального и сопутствующих ему информационных, финансовых, сервисных потоков. Логистической функцией будем называть обособленную совокупность логистических операций, направленных на реализацию поставленных перед логистической системой и (или) ее звеньями задач.
К логистическим операциям относятся, например, такие действия, совершаемые над материальными ресурсами или готовой
продукцией, как погрузка, разгрузка, затаривание, перевозка, приемка и отпуск со склада, хранение, перегрузка с одного вида транспорта на другой, сортировка, консолидация, разукрупнение, маркировка и т. п. Логистическими операциями, связанными с информационными и финансовыми потоками, сопутствующими материальному потоку, могут быть сбор, хранение, передача информации о материальном потоке, расчеты с поставщиками и покупателями товаров, страхование груза, передача прав собственности на товар и т. п. Объединение логистических операций в функции зависит прежде всего от вида рассматриваемой логистической системы.
Одним из наиболее важных в логистике является понятие логистической системы. Логистическая система (ЛС) это сложная организационно завершенная (структурированная) экономическая система, которая состоит изэлементов-звеньев, взаимосвязанных в едином процессе, управления материальными и сопутствующими им потоками, причем задачи функционирования этих звеньев объединены внутренними целями организации бизнеса и (или) внешними целями.
Любая логистическая система состоит из совокупности элементов-звеньев, между которыми установлены определенные функциональные связи и отношения. Звеном логистической системы (ЗЛС) называется некоторый экономически и (или) функционально обособленный объект, не подлежащий дальнейшей декомпозиции врамках поставленной задачи анализа или построения логистической системы, выполняющий своюлокальную цель, связанную с определеннымилогистическими операциями или функциями.
Звенья логистической системы могут быть трех основных типов: генерирующие, преобразующие и поглощающие материальные и сопутствующие им информационные и финансовые потоки. Часто встречаются смешанные звенья логистической системы, в которых указанные три основные типа звеньев комбинируются в различных сочетаниях. В звеньях логистической системы материальные (информационные, финансовые) потоки могут сходиться, разветвляться, дробиться, изменять свое содержание, параметры, интенсивность и т. п. В качестве звеньев логистической системы могут выступать предприятия-поставщики материальных ресурсов, производственные предприятия и их подразделения, сбытовые, торговые, посреднические организации разного уровня, транспортные и экспедиционные предприятия, биржи, банки и другие финансовые учреждения, предприятия информационнокомпьютерного сервиса и связи и т. д.
Наряду с логистической системой в западной и отечественной экономической литературе повсеместно используется поня-тиелогистической цепи. Назовем логистической цепьюмножество звеньев логистической системы, линейноупорядоченное по материальному (информационному, финансовому) потоку с целью анализа или проектирования определенного наборалогистическихфункций и (или) издержек.
Правомочность такого подхода к определению, на наш взгляд, подтверждается изначальным смыслом, вкладываемым в это понятие на Западе, который заключался в попытках выделить или сгруппировать определенные логистические операции (функции) и соответствующие им затраты в логистической цепи с целью повышения эффективности менеджмента.
Рассмотрим примеры логистических цепей. На рис.
1.2 представлена ориентированная по материальному потоку логистическая цепь, включающая фирмупроизводителя готовой продукции (одного наименования), потребителя (покупателя) и логистического посредника, в качестве которого выступает перевозчик юридическое или физическое лицо, осуществляющее доставку товара покупателю. По существу, приведенная на рис. 1.2 логистическая цепь представляет собой цепь сбыта (прямой дистрибьюции) готовой продукции фирмы-производителя.
С позиций логистического менеджмента продавец, перевозчик и покупатель являются линейно связанными звеньями логистической системы, генерирующими, преобразующими и поглощающими материальный и сопутствующие ему информационные и финансовые потоки.
В рассматриваемой логистической цепи для реализации процедуры поставки (продажи) товара покупателю необходим набор определенных логистических операций и функций: получение и обработка информации о заказе, подготовка нужного количества готовой продукции к перевозке, затаривание, погрузка, перевозка, разгрузка, приемка готовой продукции у покупателя, оформление товарно-транспортных документов, расчеты за перевозку и другие операции, передача прав собственности на товар покупателю (собственно продажа) и т. д. Каждой логистической операции соответствуют определенные издержки производителя. Если одни и те же логистические операции могут выполняться различными звеньями логистической системы (например, операции по-

Рисунок 1.2. Простая логистическая цепь: ЗЛС,, ЗЛС2, ЗЛС3 звенья логистической системы; ГП готовая продукция
грузки, разгрузки, экспедирования в рассматриваемом примере могут осуществлять как производитель, так и перевозчик), то у логистического менеджера возникает задача выбора из нескольких возможных альтернатив, закрепления логистических операций за звеньями логистической системы. При одинаковом уровне качества или времени выполнения указанных операций логистический менеджер фирмыпроизводителя товара решает поставленную задачу путем прямого сравнения цен перевозчика и собственных затрат на эти услуги по критерию минимума общих издержек.
В рассматриваемой схеме может возникнуть еще одна задача логистического менеджмента задача выбора перевозчика. Действительно, если на рынке транспортных услуг функционирует несколько перевозчиков (транспортных фирм), способных осуществить доставку требуемого количества товара покупателю, то логистический менеджер должен решить проблему выбора, сопоставляя тарифы транспортных фирм на собственно перевозку, экспедирование и другие операции, из которых складывается ключевая логистическая функция транспортировка.
Кроме того, логистический менеджер, исходя из цели наиболее полного удовлетворения требований покупателя к качеству товара и сервиса, должен при выборе перевозчика учитывать качество предлагаемых транспортными фирмами услуг: обеспечение требуемого времени доставки, сохранности груза и т. п. Таким образом, проблема выбора перевозчика становится оптимизационной и, как правило, многокритериальной.
Логистические цепи в этой же схеме, ориентированные по информационным и финансовым потокам, связанным с материальным, могут в принципе отличаться от цепи, представленной на рис. 1.2.
Предположим, что заказ покупателя на товар поступает продавцу через торгового (информационного) посредника, а расчеты фирмы-производителя за услуги логистических посредников и оплата товара производятся через банк. Тогда по информационным и финансовым потокам логистическая структура приобретает вид, представленный на схеме (рис. 1.3).
На схеме появились два новых звена: торговый (информационный) посредник (ЗЛС4) и банк (ЗЛС5), а взаимосвязи по финансовым потокам показаны в предположении, что логистические партнеры (ЗЛС, ЗЛС2 ЗЛС3 и ЗЛС4) обслуживаются одним банком.
Построение и исследование логистических цепей по информационным и финансовым потокам имеет большое практическое значение, так как в современном бизнесе отсутствует изо-морфность между материальными и сопутствующими им потоками. Это проявляется в несовпадении (несинхронности) движения материальных ресурсов, готовой продукции и относящихся к ним потоков информации и денежных средств. Например, информация о том, что товар отгружен и находится в пути, прихо-

Рисунок 1.3.
Парадигмы логистики
В связи с этим оформление такой документации целесообразно выполнять непосредственно получателем или отправителем грузов, привлекающим для этого специальных работников декларантов. С точки зрения требований логистики товаропоток должен проходить все пункты своей траектории с одинаковой скоростью и интенсивностью.
В экспортно-импортных поставках одним из таких пунктов является таможенная граница, или таможня.
В пункте таможни возможны замедление или приостановка товарного потока. Для ускорения процесса товародвижения и, вообще, для нейтрализации таможенного риска таможня должна быть включена в логистическую систему в качестве ее институциональной инфраструктуры.
Это означает, что в составе логистических служб (закупокснабжения, реализациисбыта, транспортировки) оптовых покупателей и оптовых продавцов предусматривается представительство таможенной службы или делегирование таможенных функций: таможенные формальности (оформление документов, уплата пошлин и сборов) должны выполняться заранее в начальной или конечной точках товаропотока. Поскольку во внешнеэкономической деятельности товародвижение в значительной мере определяется таможенным регулированием, то правомерно говорить о специфической таможенной логистике как самостоятельной отрасли коммерческой логистики со своими принципами, методами и техническими средствами.
Таким образом, одним из направлений логистической деятельности является определение и отслеживание возможных рисков на всем движении товаропотока. Для той или иной конкретной реализации логистической системы необходимо оценить вероятность каждого риска либо, что то же самое, надежность или вероятность отказа системы, нарушение функционирования составляющих (звеньев, элементов) данного логистического процесса. Знание этих вероятностей необходимо для оценки эффективности управления, с одной стороны, и внешнего страхования с другой.
Вероятность риска определяется статистическими методами по фактическим данным о выполненных логистических процессах.
Риски и страхование в логистической деятельности описываются в общем виде рядом зависимостей.
1. Величина страховых премий (взносов) (с) есть функция от вероятности риска (Р):
с = f(p). (5)
2. Вероятность риска есть функция от множества факторов:
p=f(xvx2.....х},...,хд) или p = f({Xj}). (6)
3. Множество факторов, влияющих на риски, состоит из трех подмножеств:
- внутренние факторы А1, структура, организация и управление логистической системы, состояние технических средств, их моральный и физический износ, уровень развития инфраструктуры и др.;
- внешние факторы Хп природные явления, форс-мажорные обстоятельства, действия партнеров, ситуации на путях перемещения товаропотоков и др.;
- человеческий фактор действия персонала логистической системы, определяемые квалификацией, компетентностью, знаниями и навыками, т. е.
Ц} с х, и xlt W хт. (7)
4. Размер страховых премий (взносов) для имущества /-го вида
(с,):
с, = siPi + d, (8)
где Sj страховая сумма имущества /-го вида;
вероятность риска (отказа) имущества в процессе эксплуатации или вероятность наступления страхового случая;
dt непредвиденные расходы и прибыль страховщика.
5. Соотношение страховой суммы з, и страховой стоимости к(:
Причем предпочтительно, когда
6. Чрезмерное страхование:
При чрезмерном страховании договор страхования признается недействительным в той части страховой суммы, которая превышает страховую стоимость. Возможно частичное страхование, при котором страховщик принимает на себя ущерб пропорционально отношению страховой суммы к страховой стоимости.
7. Величина ущерба м,:
и, = р(. + ті + /; + at, (12)
где Рі цена вновь приобретаемого имущества;
ті затраты на доведение имущества до работоспособного состояния (доставка, монтаж, настройка и регулирование, испытания и др.);
/, косвенный ущерб (упущенный доход, неустойка за невыполнение обязательства, утрата клиентуры и др.); at ущерб, определяемый временем доведения имущества до работоспособного состояния; причем а суточная ставка ущерба, / время.
8. Эффективность страхования для страховщика:
ІС( Sj . (13)
9. Эффективность страхования для страхователя:
u, s, или иій8І+а, (14)
где а накопленный амортизационный фонд для данного имущества.
10. Условие взаимной выгоды страхования для страхователя и страховщика:
U, =s, (15)
Страхование в логистических системах процесс сложный и многовариантный, требующий проведения комплекса расчетов для оптимальных условий страхования. Эти условия должны быть учтены в договоре страхования. Конкуренция на рынке страховых услуг дает возможность достичь взаимной коммерческой выгоды как для страхователя, так и для страховщика.
В любом случае забота о безотказной работе логистической системы, о ее эффективности лежит на непосредственных участниках логистического процесса.
Парадигмы логистики
Эволюция логистической концепции тесно связана с парадигмами в логистике. Исторически сложились четыре основные парадигмы:
- аналитическая,
- технологическая (информационная),
- маркетинговая,
- интегральная.
Вокруг этих фундаментальных парадигм на Западе сконцентрировались определенные научные школы, группы исследователей и логистические сообщества.
Аналитическая парадигма представляет собой первоначальный классический подход к логистике как к теоретической науке, занимающейся проблемами управления материальными потоками в производстве и обращении. Примером концентрации исследований вокруг аналитической парадигмы являются американские университеты, где логистика одна из основополагающих дисциплин. Аналитическая парадигма логистики основана на теоретической базе, использующей при исследованиях методы и модели теории управления запасами, исследования операций, экономической кибернетики, методы математической статистики и др.
Характерной особенностью применения аналитической парадигмы является построение достаточно сложной экономико-математической модели, отражающей специфику решаемой логистической проблемы. При этом проблема должна быть четко определена, а модель реализуема, что достичь достаточно трудно, учитывая сложность, большую размерность и стохастичность логистических объектов (особенно интегрированных логистических систем). Кроме того, реализация подобных моделей требует огромного массива исходной информации и разработки сложных алгоритмов принятия решений в логистическом управлении.
Указанные особенности привели к тому, что область практического применения логистических моделей и задач, основанных на аналитической парадигме, сужена в основном до внутрипроизводственных логистических систем. Для большинства фирм, заинтересованных в интегральном подходе к логистическим исследованиям, классическая, аналитическая парадигма мало приемлема.
Технологическая парадигма появилась в 1960-х годах и тесно связана с бурным развитием информационно-компьютерных технологий. Философия данной парадигмы заключается в том, что, с одной стороны, можно сформулировать общую проблему управления материальным потоком логистического объекта, а с другой построить информационно-компьютерное обеспечение решения проблемы.
Основной акцент этой парадигмы сделан на административных функциях компании: планировании, закупке материальных ресурсов, производстве, дистрибьюции готовой продукции и др. Поддержка совокупного процесса управления материальным потоком осуществляется с использованием информационно-компьютерных систем учета, связи (телекоммуникаций), контроля и принятия решений.
Теоретической основой технологической парадигмы является системный подход, который применяется как для моделирования самих логистических объектов, так и для построения систем информационно-компьютерной поддержки. Основные стратегии логистического управления состоят в том, чтобы автоматизировать тривиальные задачи и использовать информационно-компьютерную поддержку для решения более сложных логистических задач.
При этом оптимизация процесса управления материальным потоком не является целью в рамках данной парадигмы.
Практическим примером использования технологической парадигмы являются широко распространенные системы планирования потребностей/ресурсов, применяемые во внутрифирменном планировании и управлении запасами и закупками материальных ресурсов, а также поставками готовой продукции потребителям. Наряду с этим решаются и отдельные задачи оптимизации, например определение оптимальной партии поставки (заказа) или уровня запасов продукции в элементах логистических систем типа оптимальных производственных технологий.
В то же время логистические системы, построенные на принципах использования технологической парадигмы, не обладают необходимой гибкостью и динамичностью, требуемыми на современном этапе развития рыночной экономики, например для регулирования отношений производителей с поставщиками и конечными потребителями продукции.
С начала 1980-х годов и до настоящего времени в ряде индустриально развитых стран Запада при построении фирменных логистических систем часто применяется маркетинговая парадигма. Модели, использующие эту парадигму, имеют целью описать и объяснить отношения между логистической системой и возможностями фирмы в конкурентной борьбе. Проектируемая логистическая система должна реализовывать стратегическую цель фирмы стратегию конкуренции на рынке сбыта продукции, что требует решения таких маркетинговых задач, как изучение рынка, определение конкурентных позиций фирмы, прогнозирование спроса на продукцию и т. п.
Научной базой данной парадигмы являются в основном экономические и социальные дисциплины: экономика и организация производства, стратегия, операционный менеджмент, управление персоналом и качеством продукции, маркетинг, социальная психология и др. Математическую основу парадигмы составляет теория вероятностей, математическая статистика, методы исследования операций. Необходимо отметить, что модели логистических объектов, использующие эту парадигму, являются в определенной степени абстрактными, имеют большую размерность.
Многие переменные таких моделей носят качественный характер, что затрудняет получение простых аналитических решений.
Примером практического использования маркетинговой парадигмы за рубежом является система LRP (logistics requirements planning system) система контроля входных, внутренних и выходных материальных потоков на уровне фирмы, территориально-производственных объединений и макрологистических структур. Система LRP известна также под названием система управления логистической цепью (supply chain management system). Система LRP обеспечивает: концептуальный маркетинговый подход к управлению запасами в распределительных сетях и внутри производственных подразделений объекта; прогнозирование потребностей в материальных ресурсах, спроса на готовую продукцию и потребности в транспортных средствах; определение оптимального числа звеньев в логистической цепи и т. д.
В практических задачах построения логистических систем указанные три фундаментальные парадигмы, как правило, комбинируются. В то же время в последние годы на Западе укоренилась и активно распространяется новая логистическая парадигма, которую большинство исследователей называют интегральной.
Эта парадигма, по существу, развивает маркетинговую, учитывая при этом новые предпосылки бизнеса на современном этапе, частично уже рассмотренные нами.
Основными предпосылками интегральной парадигмы логистики являются следующие:
- существует новое понимание механизмов рынка и логистики как стратегического элемента в реализации конкурентных возможностей фирмы;
- имеются достаточно широкие перспективы интеграции между логистическими партнерами, развития новых организационных (структурных) отношений;
- технологические возможности, в частности в области гибких автоматизированных производств и информационно-компьютерных технологий, радикально изменились и открыли новые горизонты контроля и управления во всех сферах производства и обращения продукции.
Чтобы быть конкурентоспособной на рынке, фирме необходимы гибкость и динамичность, т. е. быстрая адаптация к изменяющимся условиям рыночной среды и спроса на продукцию. Таким образом, как уже отмечалось, важнейшее значение приобретает фактор времени. При этом должны сокращаться все временные фазы жизненного цикла изделия (логистического цикла): время на научно-исследовательские и опытно-конструкторские разработки, время поставки сырья и материалов, время производства, время обработки заказа, время дистрибьюции готовой продукции и т. д. Для сокращения длительности производственного периода компании часто стремятся к узкой специализации, однако при этом возникает потребность в интеграции с логистическими посредниками в распределительных системах.
Важность фактора времени в современной интегрированной логистике была подчеркнута возникновением специальных терминов менеджмент длительности производственного периода (time-based management), или логистика длительности производственного периода (time-based logistics).
Усложнение рыночных отношений и усиление конкуренции в настоящее время приводят к трансформации логистических систем, выражающейся в следующих основных моментах:
- возрастает скорость материальных потоков. Увеличиваются интенсивность и сложность материальных и информационных потоков. Усложняются финансовые взаимоотношения между логистическими посредниками;
- сокращается число звеньев (агентов) логистической цепи. Уменьшается число взаимосвязей в рамках организационно-экономических отношений в логистических системах, но сложность их возрастает;
- уменьшается надежность логистической цепи, так как практически исчезают материальные запасы в производстве и распределительных сетях..
Следствием этих тенденций является увеличение потенциальной неустойчивости логистических систем. Для повышения их устойчивости и надежности при достижении стратегических целей бизнеса необходима дальнейшая интеграция как в самой логистической цепи, так и с динамической внешней средой. Использование для решения этой задачи традиционных парадигм,
как правило, не приводит к положительному результату. Аналитическая парадигма не способна формализовать адекватным способом сложные динамические системы. Попытки приспособить технологическую парадигму к изменившимся условиям приводят лишь к распространению старой идеологии планирования потребностей/ресурсов или оптимальных производственных технологий на новые организационно-экономические структуры бизнеса, что не дает положительного эффекта и порождает неадекватные информационные системы.
Применение маркетинговой парадигмы хотя и позволяет получить отдельные оптимальные решения, но генерирует новые проблемы, не обеспечивая конструктивного интегрального подхода.
Сущность новой, интегральной парадигмы заключается в рассмотрении логистики как некоего инструмента менеджмента, интеграции различных функций, связанных материальным потоком, для достижения целей бизнеса. Проиллюстрируем смысл интегральной парадигмы на схеме (рис.
5.1). Рис.
5.1а отражает традиционный логистический подход, основанный на специфических функциях бизнеса: закупке, производстве, продаже и соответствующем теоретическом аппарате (инжиниринге, микроэкономике, организации производства, операционном менеджменте, физическом распределении). В этом смысле с концептуальных позиций логистика имеет известный потенциал интеграции в рамках материального потока, однако она рассматривается в основном

Рисунок 5.1. Интегральная парадигма логистики: а традиционный логистический подход; б интегральный логистический подход как координирующая гиперфункция, преследующая цель компенсации осуществляемой не в полном объеме интеграции с партнерами по бизнесу.
Новые перспективы логистики, основанные на интегральной парадигме, проиллюстрированы на рис. 5.16.
Эта модель представляет материальный поток в качестве интегратора, причем интегрирующая функция может распространяться на несколько фирм, организаций, логистических посредников, обобщенных функций, компьютерных информационных систем и финансовых институтов. Единственным необходимым условием является наличие взаимодействия указанных объектов (элементов интегрированной логистической системы) либо с управляемым материальным потоком непосредственно, либо опосредованно через информационные или финансовые потоки.
Таким образом, логистическая система, согласно новой, интегральной парадигме, рассматривается как единое целое, как интегрированная система, реализующая цели бизнеса во всех своих звеньях от поставщика до конечного потребителя (покупателя).
Интегральная парадигма отражает новое понимание бизнеса, где отдельные фирмы, организации, системы рассматриваются как некоторые центры логистической активности, прямо или косвенно связанные в едином интегральном процессе управления материальным потоком для наиболее полного удовлетворения запросов покупателей в соответствии с целями бизнеса. Основой подобного интегрального подхода являются: концепция всеобщего управления качеством, японские системы контроля качества продукции, интегрированные системы дистрибьюции товаров, концепции точно в срок, тощего производства и др.
На интегральной парадигме базировалось, например, создание такой логистической системы, как ISCIS (Integrated Supply Chain Information System) интегрированной информационной системы, обслуживающей логистический канал. Система ISCIS реализует интегральную координацию логистических систем и их звеньев на микро- и макроуровнях как по материальным, так и по информационным потокам с помощью режима on line обработки сообщений в телекоммуникационных сетях.
Информационное обеспечение системы унифицировано международным стандартом ISO 9735 - EDIFACT.
Интегральная парадигма успешно используется и при синтезе макрологистических структур. Например, создание мировой сети центров торговли (trade points) в рамках Международной программы ООН по повышению эффективности мировой торговли (программа UNCTAD 19952005 гг.) во многом базируется на интегральной логистической концепции.
Таким образом, в фирменных логистических системах материальный поток рассматривается как интегрирующий фактор, объединяющий весь жизненный цикл изделия: от идеи к конструкции, затем производству, распределению, продаже, послепродажному сервису, после чего цикл возобновляется в соответствии с меняющимися запросами покупателей.
В соответствии с новой, интегральной парадигмой определение логистики звучит следующим образом: Логистика представляет собой общую точку зрения: стратегическую, тактическую, операционную на компанию и ее партнеров по бизнесу с материальным потоком в качестве интегратора. Раскроем более подробно смысл некоторых частей данного определения.
Общая точка зрения означает, что логистическая деятельность направлена прежде всего на достижение синергии организационных единиц, систем, использующих различные концепции организации производства и управления качеством и т. п. Значение слов стратегическая, тактическая, операционная заключается в том, что отправной точкой является цель, а не существующие функции системы. Компания и ее партнеры по бизнесу означает, что логистические посредники помогают фирмепроизводителю товара достичь цели ее бизнеса, реализуя при этом и свои цели, например получение прибыли.
Кроме того, это означает, что фирма-производитель не может не учитывать интересов своих партнеров дилеров, торговых посредников, компаний-дистрибьюторов, банков и т. п. Значение выражения материальный поток в качестве интегратора заключается в том, что с материальным потоком нужно обращаться как с единым целым, а не как с рядом независимых процессов.
Резюмируя вышеизложенное, можно сказать, что логистика это некая метадисциплина,объектом исследования и оптимизации которой является материальный поток. Новая, интегральная парадигма представляет собой ситуационную и комбинационную перспективу при организации бизнеса как на внутрифирменном (микроуровне), так и на различных макроуровнях, например региональном, международном и т. д. Важнейшее значение при этом имеет согласование локальных критериев оптимизации функционирования элементов (центров активности) логистической структуры, таких, например, как максимизация прибыли или минимизация логистических издержек, с глобальной бизнес-целью структуры, интегрируемой единым материальным потоком.
Методология и научная база логистики
Рассматривая парадигмы логистики, мы частично касались некоторых методологических и научных аспектов, используемых в теоретических и практических логистических исследованиях и разработках. Современная теория логистики и логистического менеджмента в концептуальном плане базируется на методологии:
- системного анализа,
- кибернетического подхода,
- исследования операций,
- экономико-математического моделирования.
Для решения конкретных проблем, возникающих при анализе и проектировании логистических систем и методов управления на разных экономических уровнях, более детально используются методы программно-целевого планирования, функционально-стоимостного анализа, макро- и микроэкономики, прогнозирования, моделирования и т. п.
Научную базу логистики составляет широкий спектр дисциплин:
- математики (теория вероятностей, математическая статистика, теория случайных процессов, математическая теория оптимизации, функциональный анализ, теория матриц, факторный анализ и др.);
- исследования операций (математические методы оптимизации (линейное, нелинейное и динамическое программирование, теория игр, теория статистических решений), теории массового обслуживания, управления запасами, методы имитационного моделирования, сетевого планирования и др.);
- технической кибернетики (теории больших систем, прогнозирования, общая теория управления, теории автоматического регулирования, графов, идентификации, информации, связи, расписаний, оптимального управления и др.);
- экономической кибернетики и экономики (теория оптимального планирования, методы экономического прогнозирования, маркетинг, менеджмент, стратегическое и оперативное планирование, производственный (операционный) менеджмент, ценообразование, всеобщее управление качеством, управление персоналом, дистрибьюция, организация продаж, предпринимательство, финансы, бухгалтерский учет, управление проектами, управление инвестициями, социальная психология, экономика и организация транспорта, складского хозяйства, торговли и др.).
Уже это простое перечисление показывает, какой огромный научный потенциал, накопленный человечеством за предыдущие десятилетия, используется в современных логистических исследованиях и разработках. В ретроспективном периоде при анализе и проектировании логистических систем, методов и приемов логистического менеджмента были разработаны и апробированы многие методологические принципы, основными из которых в настоящее время являются:
- системный подход, который проявляется в рассмотрении всех элементов логистической системы как взаимосвязанных и взаимодействующих для достижения единой цели управления. Отличительной особенностью системного подхода является оптимизация функционирования не отдельных элементов, а всей логистической системы в целом;
- принцип общих затрат, т. е. учет всей совокупности издержек управления материальными и связанными с ними информационными и финансовыми потоками в логистической цепи. Как правило, критерий минимума общих логистических затрат является одним из основных при оптимизации логистических систем;
- принцип глобальной оптимизации. При оптимизации структуры или управления в проектируемой логистической системе необходимо согласование локальных целей функционирования элементов (звеньев) системы для достижения глобального оптимума;
- принцип логистической координации и интеграции. В процессе логистического менеджмента необходимо достижение согласованного, интегрального участия всех звеньев логистической системы (цепи) в управлении материальными (информационными, финансовыми) потоками при реализации целевой функции;
- принцип моделирования и информационно-компьютерной поддержки. При анализе, проектировании и оптимизации объектов и процессов в логистических системах и цепях широко используются различные модели: математические, экономико-математические, графические, физические, имитационные (на ЭВМ) и др.
Потоки услуг
Рассматриваемая подсистема играет важную роль в отражении изменений и требований как внешней, так и внутренней среды фирмы. Логистический менеджер может использовать эту подсистему для сканирования микро- и макросреды фирмы четырьмя способами:
1) косвенным рассмотрением на основе общего анализа получаемой информации, когда нет определенной заданной цели;
2) прямым рассмотрением, когда информация о внешней и внутренней среде фирмы активно анализируется с заранее сформулированной целью;
3) неформальным исследованием относительно ограниченных и неструктурированных данных;
4) формальным исследованием с использованием заранее составленного плана, процедур и методов обработки и анализа получаемой информации.
Для оптимизации результатов оценивания влияния внешней и внутренней среды фирмы на поведение логистической системы логистический менеджер должен использовать ключевые информационные источники подсистемы в процессе мониторинга. Здесь необходимо учитывать два аспекта. Во-первых, использование информации персоналом фирмы для оценки эффективности своих логистических решений. Например, бухгалтерская информация или информация о ценах на готовую продукцию конкурентов может дать исчерпывающий ответ об эффективности менеджмента; информация о размерах грузовых отправок может быть использована транспортными подразделениями фирмы и т. д. Во-вторых, логистические партнеры фирмы, такие, как поставщики материальных ресурсов, торговые посредники, перевозчики и потребители готовой продукции также могут использовать информацию подсистемы для улучшения координации и снижения собственных затрат.
Важное место в рассматриваемой подсистеме принадлежит прогнозированию, и в частности, таких его аспектов, как сбор исходной информации, оценка точности, достоверности, использование наиболее эффективных методов прогнозирования.
Третьим компонентом логистической информационной системы является подсистема поддержкилогистическихрешений, которая представляет собой интерактивную компьютерную информационную систему, включающую базы данных и аналитические модели, реализующие, как правило, оптимизационные задачи, возникающие в процессе логистического менеджмента. Подсистема формирует, обновляет и поддерживает различно структурированные централизованные и распределенные базы данных для четырех основных типов файлов:
- базисных файлов, содержащих внешнюю и внутреннюю информацию, необходимую для принятия логистических решений;
- критических факторов, определяющих главные действия, цели и ограничения при принятии решений;
- политики/параметров, содержащих основные логистические операционные процедуры для ключевых областей;
- файлов решений, хранящих информацию о предыдущих (периодических) решениях для различных логистических функций.
В данной подсистеме используется большое число экономикоматематических моделей и методов (в частности, прогнозирования) для поддержки решений, принимаемых логистическим менеджментом. Все эти модели и методы можно разделить на три основных класса: оптимизационные, эвристические и имитационные.
Оптимизационные модели принятия решений основаны на методах операционного исчисления: программирования (линейного, нелинейного, динамического, стохастического, целочисленного), математической статистики (корреляционно-регрессионный анализ, теория случайных процессов, теория идентификации, теория статистических моделей принятия решений и т. п.), вариационного исчисления, оптимального управления, теории массового обслуживания, графов, расписаний и т. д. Само перечисление оптимизационных задач, решаемых с помощью информационно-компьютерной поддержки, заняло бы достаточно много места. В частности, для различных логистических функций можно указать следующие задачи:
- оптимальная диспетчеризация в производстве, транспортировке, грузопереработке;
- оптимальное размещение объектов в производстве, распределении, складировании;
- построение оптимальных логистических цепей, каналов, сетей;
- построение оптимальной организационной структуры логистической системы;
- оптимальная маршрутизация;
- определение оптимальной длительности составляющих логистических циклов;
- оптимизация процедур сбора, обработки и выполнения заказов;
- оптимизация параметров систем управления запасами;
- оптимальный выбор перевозчика, экспедитора, поставщика и т. д.
В рассматриваемой подсистеме широко применяются интерактивные (диалоговые) процедуры информационной поддержки принятия решений логистическим менеджментом фирм.
Четвертый элемент организационной структуры логистической информационной системы подсистему генерирования выходных форм и отчетов можно представить как выходной интерфейс с остальными компонентами в виде блок-схемы (рис. 2.10).
В основу построения логистической информационной системы заложены шесть основных принципов.
1) Полнота и пригодность информации для пользователя. Логистический менеджер должен располагать необходимой и полной (достаточной) информацией для принятия решений, причем в необходимом ему виде. Например, информация о запасах или заказах потребителей часто нуждается в предварительной обработке и обычно размещается не там, где логистический менеджер принимает решения.
Поэтому логистическая информационная система должна представлять информацию в том месте, того вида и полноты, которая требуется при выполнении соответствующих логистических функций и операций.
2) Точность. Точность исходной информации имеет принципиальное значение для принятия правильных решений.
Например, информация об уровне запасов в распределительной сети в современных логистических системах допускает не более 1 % ошибок или неопределенности для принятия эффективных решений в физическом распределении, создании запасов и удовлетворении запросов потребителей. Большое значение имеет точность и достоверность исходных данных для прогнозирования спроса, планирования потребностей в материальных ресурсах и т. п.
3) Своевременность. Логистическая информация должна поступать в систему менеджмента вовремя, как этого требуют многие логистические технологии, особенно основанные на концепции точно в срок. Своевременность информации важна практически для всех комплексных логистических функций. Кроме того, многие задачи в транспортировке, операционном менеджменте, управлении заказами и запасами решаются в режиме реального времени (on line).
Этого же требуют и многочисленные задачи логистического мониторинга. Требование своевременности поступления и обработки информации реализуется современными логистическими технологиями сканирования, спутниковой навигации, штрихового кодирования, внедрения стандартов EDI/EDIFACT.
4) Ориентированность. Информация в логистической информационной системе должна быть ориентирована на выявление дополнительных возможностей улучшения качества продукции, сервиса, снижения логистических издержек. Способы получения, передачи, отображения и предварительной обработки информации должны способствовать выявлению узких мест, резервов экономии ресурсов и т. п.
5) Гибкость. Информация, циркулирующая в логистической информационной системе, должна быть приспособлена для конкретных пользователей и иметь наиболее удобный для них вид.
Это касается как персонала фирмы, так и логистических посредников и конечных потребителей. Бумажный и электронный документооборот, промежуточные и выходные формы, отчеты, справки

Рисунок 2.10. Компоненты подсистемы генерирования выходной информации в общей структуре логистической
Информация от Внутрифирменная Внешняя информация (публичная Данные обратной связи по
Входная потребителей информация и от логистических посредников) результатам менеджмента информация и другие документы должны быть максимально приспособлены к требованиям всех участников логистического процесса и адаптированы к возможному диалоговому режиму для многих пользователей.
6) Подходящий формат данных. Формат данных и сообщений, применяемый в компьютерных и телекоммуникационных сетях логистической информационной системы, должен максимально эффективно использовать производительность технических средств (объем памяти, быстродействие, пропускную способность и т. д.). Виды и формы документов, расположение реквизитов на бумажных документах, размерность данных и другие параметры должны облегчать машинную обработку информации.
Кроме того, необходима информационная совместимость компьютерных и телекоммуникационных систем логистических посредников и других пользователей по форматам данных в логистической информационной системе.
Потоки услуг
Из года в год важность логистических услуг непрерывно возрастает, что объясняется многими причинами. Среди этих причин социальные программы, принимаемые правительствами различных стран; развитие индустрии услуг и концентрация в ней все большего числа компаний и занятого трудоспособного населения; нацеленность деятельности многих фирм на конечного потребителя; развитие концепции всеобщего управления качеством в индустрии услуг.
Большое число звеньев логистической системы и логистических посредников являются, по существу, предприятиями сервиса, в которых услуги неразрывно связаны с продуктом, распределяемым, продвигаемым на рынок и продаваемым на разных участках логистической цепи. К таким звеньям относятся различные транспортные компании, оптовые и розничные торговцы, компании-дистрибьюторы и т. п. При этом стоимость услуг может значительно' превосходить прямые затраты на производство продукции.
Как отмечалось в главе 1, в последние годы прерогативой логистики является и управление сервисными потоками, так как большинство компаний производят не только готовую продукцию, но и оказывают сопутствующие услуги. Кроме того, логистический подход оказался эффективным и для предприятий, оказывающих только услуги (транспортных, экспедиторских, грузоперерабатывающих и др.).
Например, менеджмент в цепи поставок (supply chain management, SCM) оказался чрезвычайно продуктивным для организаций сервиса в задачах определения сетевых мощностей по услугам.
На Западе широко используется понятие логистика сервисного отклика (service response logistics, SRL), которое определяется как процесс координации логистических операций, необходимых для оказания услуг наиболее эффективным способом с точки зрения затрат и удовлетворения запросов потребителей. SRL-подход является зачастую основным стратегическим элементом менеджмента многих зарубежных фирм, оказывающих услуги. Критическими элементами этого подхода являются прием заказов на услуги и мониторинг оказания услуг.
Как и материальные потоки, потоки услуг распространяются в определенной среде доставки (для готовой продукции в распределительной сети), в которой существуют свои звенья логистической системы, логистические каналы, цепи и т. д. Эта сеть должна быть построена таким образом, чтобы с максимальной эффективностью удовлетворять требования клиентов к уровню обслуживания. Примерами подобных сетей являются сети станций технического обслуживания и пунктов автосервиса автомобилестроительных фирм, сети предпродажного и послепродажного сервиса большинства фирм, производящих промышленные электробытовые товары и т. п.
В табл. 2.3 проведено сопоставление некоторых логистических действий в обычной логистической цепи управления материальными потоками (SC-действия) и в логистической сервисной системе (SR-действия).
Сопоставление SC-действий и SR-действий позволяет логистическим менеджерам фирмы, производящей услуги, использовать те же принципы и методические подходы при управлении потоками услуг, что и для материальных потоков. Однако необходимо учитывать, что процедуры заказов и мониторинга услуг обычно носят более комплексный характер, чем аналогичные процедуры материального логистического менеджмента.
Несмотря на важность сервиса, до сих пор отсутствуют эффективные способы оценки качества услуг, что объясняется рядом их особенностей в сравнении с продуктовыми характеристиками. Такими особенностями являются:
1. Неосязаемость услуг. Проявляется в сложности специфици-кации услуг сервисной фирмой, а также в затруднительности их оценки со стороны покупателя.
2. Покупатель зачастую принимает прямое участие в процессе оказания услуг.
3. Услуги потребляются в больших размерах в то же время, когда они оказываются, т. е. услуги не могут складироваться и транспортироваться.
4. Покупатель никогда не становится собственником, покупая услуги.
5. Оказание услуг это деятельность (процесс), и поэтому услуги не могут быть протестированы прежде, чем покупатель их оплатит.
6. Оказание услуг часто состоит из системы более мелких (субсервисных) действий, причем покупатель оценивает все эти действия. Качество и привлекательность услуг зависят от способности покупателя дать общую, итоговую оценку действий по оказанию услуги.
Указанные характеристики и особенности услуг играют важную роль в логистическом процессе. Очень важно учитывать тот факт, что качество услуг в логистике проявляется в момент, когда поставщик услуг и покупатель встречаются лицом к лицу.
При этом могут возникнуть две ситуации: если нет особых проблем при доведении услуг до потребителя, то поставщик может действительно убедить покупателя в высоком качестве услуг; если возникают проблемы, то ситуацию, как правило, исправить нельзя, каким бы на самом деле высоким качеством ни обладал сервис.
Оценка качества услуг при анализе и проектировании логистических систем должна основываться на критериях, используемых покупателями услуг для этих целей. Когда покупатель оценивает качество услуг, он сравнивает некоторые фактические значения параметров оценки качества с ожидаемыми им величинами этих параметров, и если эти ожидания совпадают, то качество услуг признается им удовлетворительным.
Схема построения ожиданий покупателя при оценке качества услуг приведена на рис. 2.11.
Для каждого параметра оценки качества услуг имеются две величины (условные) ожидаемая покупателем и фактическая. Разница между этими двумя величинами называется расхождением (рассогласованием) и оценивает степень удовлетворения покупателя качеством услуги.
В западной экономической литературе это расхождение часто называют термином разрыв (gap).
Качество услуг в логистике будет определяться степенью расхождений между ожидаемыми и фактическими параметрами, хотя, конечно, оценка расхождений будет субъективна. Наиболее важными компонентами (параметрами) оценки качества услуг, согласно схеме (рис. 2.11), являются следующие:
- осязаемость та физическая среда, в которой оказываются услуги (интерьер сервисной фирмы, оргтехника, оборудование, внешний вид персонала и т. п.);
- надежность последовательность исполнения точно в срок (например, в физическом распределении доставка товара в указанное время и место, а также надежность информационных и финансовых процедур, сопровождающих физическое распределение);
- ответственность желание персонала сервисной фирмы помочь покупателю, гарантии выполнения услуг;
- законченность обладание необходимыми знаниями и навыками, компетентность персонала;
- доступность легкость установления контактов с сервисной фирмой, удобное для покупателя время оказания сервисных услуг;
- безопасность отсутствие риска и недоверия со стороны покупателя (например, обеспечение сохранности груза при физическом распределении);
- вежливость корректность, любезность персонала;
- коммуникабельность способность персонала разговаривать на языке, понятном покупателю;

Рисунок 2.11. Схема построения ожиданий покупателя при оценке качества услуг
- взаимопонимание с покупателем искренний интерес к покупателю, способность персонала войти в роль покупателя и знание его потребностей.
Потребительские ожидания при оценке качества услуг строятся на основе следующих ключевых факторов (рис. 2.11):
- речевых коммуникаций (слухов), т. е. той информации об услугах, которую покупатели узнают от других покупателей;
- личных потребностей. Данный фактор относится к личности покупателя, его запросам, представлению о качестве услуг и связан с его характером, политическими, религиозными, общественными и другими взглядами;
- прошлого опыта, т. е. такого рода услуги уже оказывались в прошлом;
- внешних сообщений (коммуникаций) информации, получаемой от поставщиков услуг по радио, телевидению, из прессы (реклама в средствах массовой информации).
Для рационализации логистического управления в каналах продвижения и продаж товаров необходимо научиться, во-первых, оценивать параметры качества услуг; во-вторых, построить управление таким образом, чтобы свести к минимуму расхождения между ожидаемым и фактическим уровнями качества услуг. Для этого используются различные методы оценок, такие, например, как анкетные опросы покупателей, экспертные оценки, статистические методы и т. п. Сложность заключается в том, что большинство параметров качества услуг нельзя измерить количественно, т. е. получить формализованную оценку.
Логистические операции и функции
Среди логистических функций на уровне организации бизнеса будем выделять базисные, ключевые и поддерживающие. К базисным логистическим функциям относятся: снабжение, производство и сбыт. Действительно, указанные три логистические функции осуществляются практически любым товаропроизводителем.
Выделение базисных логистических функций важно для понимания логистической концепции бизнеса, его маркетинговой и интегральной парадигм (см. раздел 5.1).
В качестве ключевыхлогистических функций выделяют следующие:
- поддержание стандартов обслуживания потребителей;
- управление закупками;
- транспортировка;
- управление запасами;
- управление процедурами заказов;
- управление производственными процедурами;
- ценообразование;
- физическое распределение.
Поддержание стандартов обслуживания потребителя, обеспечение заданного уровня качества продукции, дистрибьюции товаров и послепродажного сервиса является первоочередной задачей логистического менеджмента любой западной фирмы. Широко распространившаяся за рубежом идеология всеобщего управления качеством, обязательная сертификация товаров и услуг с помощью серии стандартов ISO-9000 Международной организации по стандартизации (International Standard Organization) требуют от фирм непрерывных усилий, в том числе и использование логистических подходов, по обеспечению более высокого уровня качества товаров и сервиса по сравнению с конкурентами.
Логистические решения играют определяющую роль в операциях по доставке товара требуемого качества в указанное время и место и по доведению услуг до потребителя.
Большое внимание в логистическом менеджменте уделяется процедурам закупок материальных ресурсов для обеспечения производственных целей. Организация и управление закупками на фирме включает в себя комплекс таких задач, как выбор поставщиков материальных ресурсов, планирование потребности в ресурсах, определение рациональных сроков и объемов их поставок, организация договорной работы, выбор форм поставок и типов транспорта для доставки материальных ресурсов производственным подразделениям фирмы и т. п. Важность процедур закупок объясняется еще и тем, что факторы времени и размещения поставщиков, качество материальных ресурсов оказывают большое влияние на величину логистических издержек.
Одной из ключевых комплексных логистических функций является транспортировка. Это объясняется прежде всего тем, что без транспортировки практически не существует материального потока.
При этом сам процесс транспортировки рассматривается в более широком плане, чем собственно перевозка грузов, как совокупность процессов перевозки, погрузки-разгрузки, экспедирования и других сопутствующих логистических операций. Важность транспортировки объясняется не в последнюю очередь тем, что затраты на нее достигают в некоторых отраслях экономики 2/3 суммарных логистических издержек. Управление транспортировкой обычно предполагает решение таких задач, как выбор перевозчика и экспедитора, выбор вида транспорта, определение рациональных маршрутов, подбор транспортного средства под определенный вид груза и т. п.
Управление запасами материальных ресурсов и готовой продукции представляет собой процесс создания, контроля и регулирования уровня запасов в снабжении, производстве и сбыте продукции. Если при транспортировке продукции решающее значение имеет фактор места, то при управлении запасами фактор времени.
Обычно всегда имеется определенная потребность в запасах материальных ресурсов и готовой продукции, играющих роль буфера между поставщиками материальных ресурсов и производством, с одной стороны, и между производством и потребителями готовой продукции с другой. Снижая риски возникновения дефицита материальных ресурсов в процессе производства продукции или неудовлетворенного спроса на готовую продукцию у потребителей, запасы в то же время играют негативную роль в экономике, замораживая финансовые ресурсы организаций бизнеса в больших объемах товарно-материальных ценностей.
Поэтому важнейшей задачей логистического менеджмента является оптимизация уровня запасов в логистических цепях и системах при обеспечении требуемого уровня обслуживания потребителей. Высокие затраты на создание и поддержание уровня запасов, составляющие от 20 до 60% общих логистических издержек, еще более подчеркивают значение этой ключевой логистической функции.
Функция управления процедурами заказов определяет порядок получения и обработки заказов, моменты времени получения готовой продукции или оказания услуг потребителю, а также инициирует работу фирменной распределительной сети или логистических посредников по доставке и продаже готовой продукции потребителям. Хотя затраты на эту ключевую логистическую функцию не столь велики, как на транспортировку или управление запасами, однако значение ее в современном бизнесе весьма велико, так как напрямую определяет качество обслуживания потребителей.
Управление производственными процедурами, или операционный менеджмент, как принято называть его на Западе, представляет собой ключевую логистическую функцию в производстве продукции. С позиций логистики важность операционного менеджмента заключается в наиболее эффективном (с точки зрения снижения затрат и повышения качества продукции) управлении потоками материальных ресурсов и незавершенного производства в технологических процессах выпуска готовой продукции. При этом большое значение имеют логистические задачи объемно-календарного планирования, минимизации уровня запасов материальных ресурсов и незавершенного производства, прогнозирования потребности в материальных ресурсах, сокращения длительности производственного цикла
Прочие логистические концепции
- знать выходные спецификации и требования подведомственных производственно-логистических процессов и процедур;
- быть способным измерять результаты работы и контролировать логистические операции;
- быть хорошо подготовленным и снабженным необходимыми инструкциями;
- хорошо понимать конечную цель управления.
Как и в концепции точно в срок, в системе тощего производства одну из ключевых ролей играют взаимоотношения с надежными поставщиками. Партнерство с надежными поставщиками материальных ресурсов выражается в следующих основных моментах:
- поставщик это партнер, а не конкурент;
- продавец и покупатель материальных ресурсов координируют свои действия для успеха на рынке;
- продавец должен сертифицировать свою продукцию в соответствии с мировыми стандартами качества; покупатель не должен проверять качество исходных материальных ресурсов;
- продавец должен стремиться уменьшить цены на свою продукцию при стабильных длительных взаимоотношениях с покупателем;
- продавец должен кооперироваться с покупателем при внесении изменений в характеристики материальных ресурсов или разработке новых продуктов;
- продавец должен интегрировать свои логистические операции с логистической стратегией покупателя материальных ресурсов.
Конечной целью такого партнерства является установление длительных связей с ограниченным числом надежных поставщиков по каждому виду материальных ресурсов. В концепции тощего производства поставщики рассматриваются как часть собственной организации производственной, маркетинговой и логистической деятельности, обеспечивающей достижение миссии компании.
Такой подход к поставщикам, практически не требующий входного контроля материальных ресурсов, делает их настоящими партнерами по бизнесу и способствует интегрированию снабжения в логистическую стратегию фирмы. Поставщики материальных ресурсов должны удовлетворять следующие основные ожидания фирмы-производителя готовой продукции:
- доставка материальных ресурсов должна осуществляться в соответствии с технологией
- материальные ресурсы должны отвечать всем требованиям стандартов качества; входной контроль материальных ресурсов должен быть исключен;
- цены на материальные ресурсы должны быть как можно ниже из расчета длительных хозяйственных связей по поставкам, но цены не должны превалировать над качеством материальных ресурсов и доставки их потребителю;
- продавцы материальных ресурсов должны предварительно согласовать возникающие перед ними проблемы и трудности с потребителем;
- продавцы должны сопровождать поставки материальных ресурсов документацией (сертификатами), подтверждающей контроль качества их изготовления, или документацией по организации такого контроля у фирмы-производителя;
- продавцы должны помогать покупателю в проведении экспертиз или адаптации технологий к новым модификациям материальных ресурсов;
- материальные ресурсы должны сопровождаться соответствующими входными и выходными спецификациями.
Большое значение для реализации концепции тощего производства во внутрипроизводственной логистической системе имеет всеобщий контроль качества на всех уровнях производственного цикла. Как правило, большинство западных фирм использует при контроле качества своей продукции концепцию всеобщего управления качеством и серию стандартов ISO-9000. В процессах изготовления продукции и управления потоками материальных ресурсов в системе тощего производства обычно выделяют пять составляющих, которые мы обозначим соответствующими символами:
т-| трансформация (материальные ресурсы превращаются в готовую продукцию);
инспекции (контроль на каждом этапе производственного цикла);
ф транспортировка (материальных ресурсов, запасов незавершенного производства и готовой продукции); д складирование (материальных ресурсов, запасов незавершенного производства и готовой продукции);
О задержки (в производственном цикле).
Логистическое управление этими компонентами должно быть направлено на реализацию целей систем тощего производства. В этом плане необходимыми элементами являются трансформация и транспортировка; инспекции качества нужно проводить как можно реже ( в соответствии с концепцией всеобщего управления качеством), а элементы складирование и задержки вообще исключить.
Иными словами, необходимо убрать бесполезные операции, что является девизом концепции тощего производства.
Рассмотрим на условном примере, как можно трансформировать производственный процесс из обычного (часто встречающегося на практике) в процесс, соответствующий LP-потоку (рис. 6.8). В левой части схемы представлен типовой производственный цикл изготовления продукции с так называемым широким потоковым процессом.
На схеме обозначены соответствующие этому циклу операции.
Как видно из сравнения схем, устранение бесполезных операций, таких, как складирование и ожидания в производственном цикле, приводит к существенному сокращению непроизводительных логистических издержек и длительности производственного периода.
Еще одним элементом систем тощего производства является принцип тянущих систем, частично рассмотренный нами выше. Применительно к данной концепции этот принцип означает: отсутствие складов, только минимальные запасы на полках, все запасы на рабочих местах, т. е. следует использовать только те компоненты, которые необходимы для удовлетворения заказа потребителя.
В подобных системах уменьшение запасов на сборке, вызванное рыночным спросом, продуцирует автоматическую диспетчеризацию заказов для производственных участков. Это, в свою очередь, активизирует цепь заказов обратной связи от внутренних поставщиков, и в конечном итоге заказ доходит до внешнего поставщика.
Схема, иллюстрирующая метод тянущей системы, приведена на рис. 6.9.
Рассмотренные примеры основных микрологистических концепций и систем, конечно, не исчерпывают всего их многообразия. В западной экономической литературе исследованию подобных систем посвящено большое число работ по логистическому и операционному менеджменту.
Следующий раздел посвящен описанию некоторых из наиболее распространенных логистических концепций и систем.
Прочие логистические концепции
В зарубежной практике среди прочих микрологистических концепций за последнее десятилетие большое распространение получили различные варианты концепции реагирования на спрос {demand-driven techniques, DDT). Эта концепция в основном разрабатывалась как модификация концепции планирования потребностей/ресурсов в плане улучшения реакции на изменение потребительского спроса.
Наиболее известными являются четыре варианта концепции: точки заказа (перезаказа), быстрого реагирования, непрерывного пополнения запасов и автоматического пополнения запасов.
Концепция точки заказа {перезаказа) {re-orderpoint, ROP) использует одну из старейших методик контроля и управления запасами, основанную на точке заказа {перезаказа) и статистических параметрах расхода продукции. Эта концепция применяется для определения и оптимизации уровня страховых запасов в целях элиминирования колебаний спроса. Эффективность метода ROP в значительной степени зависит от точности прогнозирова-
Заказ
потребителя
Рисунок 6.9. Принцип работы тянущей системы: МР материальные ресурсы; ГП готовая продукция
ния спроса, вследствие чего он долгое время не пользовался популярностью у логистических менеджеров. Так как прогнозы потребительского спроса на готовую продукцию не отличались особой точностью, практического применения метод ROP в логистике не находил. Возрождение метода связано с революцией в информационных технологиях, когда появилась возможность получать и обрабатывать информацию о спросе из каждой точки продаж с помощью современных телекоммуникационных и информационно-компьютерных систем.
Этому же способствовали новые гибкие производственные технологии, значительно уменьшившие длительность производственно-логистических циклов. Сфера использования концепции ROP это в основном регулирование уровня страховых запасов, причем в тех или иных вариантах определения точек заказа используются другие методы реагирования на спрос.
Микрологистические концепции быстрого реагирования, непрерывного пополнения запасов и автоматического пополнения запасов базируются на методологии реактивного отклика на предполагаемый спрос путем концентрации или быстрого пополнения запасов в точках рынка, близких к прогнозируемому расширению спроса. Эти концепции имеют определенное сходство, так как в основном нацелены на максимальное сокращение времени реакции логистической системы на изменение спроса и даже на превентивные решения по управлению запасами готовой продукции, предвосхищающие динамику спроса.
Концепция быстрого реагирования (quick response, QR) представляет собой логистическую координацию между розничными торговцами и оптовиками с целью улучшения продвижения готовой продукции в их распределительных сетях в ответ на предполагаемые изменения спроса. Реализация этих концепций осуществляется путем мониторинга продаж в розничной торговле и передачи оптовикам информации об объеме продаж по специфицированной номенклатуре и ассортименту и от оптовиков производителям готовой продукции.
Информационная поддержка обеспечивает разделение процесса быстрого реагирования между розничными торговцами, оптовиками и производителями. Например, розничные торговцы могут потребовать от фирмы-производителя сократить длительность производственного периода с 15 до 13 дней, а цикл пополнения запасов от поставщиков с шести до трех дней.
Совершенствование информационных технологий способствует уменьшению неопределенности в сроках доставки готовой продукции, производстве и пополнении запасов, открывая возможности максимально гибкого взаимодействия партнеров в интегрированных логистических сетях. Применение концепции быстрого реагирования позволяет уменьшить запасы готовой продукции до требуемого уровня, но не ниже величины, способной быстро удовлетворить потребительский спрос, и в то же время значительно повысить оборачиваемость запасов.
Логистическая стратегия непрерывного пополнения запасов (continuous replenishment, CR) является модификацией концепции быстрого реагирования и предназначена для устранения необходимости в заказах на пополнение запасов готовой продукции. Целью данной стратегии является установление эффективного логистического плана, направленного на непрерывное пополнение запасов готовой продукции у розничных торговцев. Путем ежедневной обработки информации об объеме продаж у розничных торговцев и отправок готовой продукции от оптовиков поставщик (фирма-производитель) рассчитывает необходимую суммарную потребность в количестве и ассортименте товаров.
Затем достигается соглашение между поставщиком, оптовиками и розничными торговцами на пополнение их запасов готовой продукции путем подписания обязательства по закупкам. Поставщик на основе обработки информации о продажах и прогнозе спроса непрерывно (или с высокой периодичностью) пополняет запасы у розничных торговцев непосредственно или через оптовых посредников.
В некоторых случаях для сокращения времени пополнения применяется сквозной фрахт или прямая доставка готовой продукции розничным торговцам, минуя оптовиков. Согласно концепции непрерывного пополнения запасов, для эффективной работы необходимо выполнение двух основных условий: во-первых, должна быть обеспечена достоверная информация от розничных торговцев и надежная доставка готовой продукции; во-вторых, размеры грузовых отправок должны максимально соответствовать грузовместимости транспортных средств.
Дальнейшим развитием стратегий быстрого реагирования и непрерывного пополнения запасов явилась логистическая концепция автоматического пополнения запасов (automatic replenishment, AR). Данная концепция обеспечивает поставщиков (производителей готовой продукции) необходимым набором правил для принятия решений по товарным характеристикам и категориям.
Товарная категория представляет собой комбинацию размеров, цвета и сопутствующих товаров, обычно представленных вместе в определенной торговой точке розничной сети. Путем применения стратегии автоматического пополнения запасов поставщик может удовлетворить потребности розничных торговцев в товарной категории за счет устранения необходимости отслеживания единичных продаж и уровня запасов для товаров быстрой реализации. Реакция на товарную категорию позволяет поставщикам увеличивать гибкость и эффективность пополнения запасов.
Управление запасами у розничных торговцев повышает их ответственность за надежность поставок и поддержание уровня запасов в соответствии со спросом. С позиций розничных торговцев
результатом внедрения логистической стратегии автоматического пополнения запасов является файл пополнения страховых запасов, сконструированный таким образом, чтобы максимизировать объем продаж для товарной категории. Эта стратегия позволяет также уменьшить затраты розничных торговцев, связанные с разделением запасов и обеспечением надежности их пополнения.
Хотя логистические стратегии быстрого реагирования, непрерывного пополнения запасов и автоматического пополнения запасов направлены в большей степени на удовлетворение запросов розничных торговцев, они обеспечивают также определенную выгоду от интегрированных взаимоотношений для производителей и оптовиков. Существуют две основные причины подобного альянса.
Первая связана с тем, что информационные потоки, отражающие требования покупателей, процедуры заказов и графики доставки готовой продукции, обеспечивают поставщиков (производителей и оптовых торговых посредников) лучшим видением проблемы управления запасами в дистрибьюции. Производители и Оптовики могут лучше планировать поставки, когда они знают объем продаж и уровень запасов готовой продукции у розничных торговцев, в распределительных центрах и на производстве.
Это лучшее видение помогает поставщикам быстрее реагировать на изменение спроса, решать вопросы об организации сбора заказов, размещении складов и производственных подразделений. Информированность в интегрированных распределительных каналах помогает поставщикам устанавливать приоритеты в производстве и распределении между отдельными товарами и группами потребителей.
Вторая причина развития интегрированных логистических систем связана с тем, что учет факторов времени и информации способствует лучшей координации деятельности партнеров (звеньев логистической системы) в распределительной сети. Альянс между звеньями логистической системы, основанный на обмене информацией и уменьшении рисков, способствует улучшению их операционной эффективности, установлению длительных партнерских взаимовыгодных отношений.
ЛИТЕРАТУРА
1. Новиков О. А., Уваров С. А. Коммерческая логистика: Учебное пособие. СПб.: СПбУЭиФ, 1995.
2. Гаджинский А. М. Основы логистики: Учебное пособие. М.: Маркетинг, 1995.
3. Залманова М. Е. Логистика: Учебное пособие. Саратов: СГТУ, 1995.
4. Неруш Ю. М. Коммерческая логистика: Учебник для вузов. М.: ЮНИТИ, 1997.
5. Плоткин Б. К. Основы теории и практики логистики: Методические указания. СПб.: СПбГУЭФ, 1996.
6. Промышленная логистика: логистикоориентированное управление организационно-экономической устойчивостью промышленных предприятий в рыночной среде / Колл, авторов: И. Н. Омельченко, А. А. Колобов, А. Ю. Ермаков, А. В. Киреев/Под ред. А. А. Колобова,М.: МГТУ, 1997.
7. Родников А. Н. Логистика: Терминологический словарь. М.: Экономика, 1995.
8. Сергеев В. И. Менеджмент в бизнес-логистике. М.: ФИЛИНЪ, 1997.
9. Транспортная логистика: Учебное пособие/Под ред. Л. Б. Миро-тина.
М.: МГАДИ, 1996.
Продуктовые характеристики и логистический цикл товара
Реализация логистического менеджмента в настоящее время практически невозможна без соответствующей информационно-компьютерной поддержки;
- принцип разработки необходимого комплекса подсистем, обеспечивающих процесс логистического менеджмента: технической, экономической, организационной, правовой, кадровой, экологической подсистем и др.;
- принцип всеобщего управления качеством обеспечение надежности функционирования и высокого качества работы каждого элемента логистической системы для обеспечения общего качества товаров и услуг, поставляемых конечным потребителям;
- принцип гуманизации всех функций и технологических решений в логистических системах, что означает соответствие экологическим требованиям по охране окружающей среды, эргономическим, социальным, этическим требованиям работы персонала и т. п.;
- принцип устойчивости и адаптивности. Логистическая система должна устойчиво работать при допустимых отклонениях параметров и факторов внешней среды (например, при колебаниях рыночного спроса на конечную продукцию, изменениях условий поставки или закупки материальных ресурсов, транспортных тарифов и т. п.).
При значительных колебаниях стохастических факторов внешней среды логистическая система должна приспосабливаться к новым условиям, меняя программу функционирования, параметры и критерии оптимизации.
Для использования методологии и результатов теоретических исследований в практике логистического менеджмента, координации работы ученых и специалистов в этой области на Западе создано и успешно функционирует множество логистических сообществ, организаций, ассоциаций, институтов. Помимо уже упоминавшихся выше, в США имеются Американское общество проблем управления производством и запасами, Американский совет по проблемам менеджмента, Американское общество транспортировки и логистики, Международное общество материального менеджмента и ряд других. В Европе наиболее известными логистическими организациями являются: Британское общество производства и управления запасами, Институт логистики и управления дистрибьюцией (Великобритания), Центр логистики (Испания), Французская ассоциация логистики в производстве, ассоциации логистики в Италии, Германии, Швейцарии и ряде других стран.
Перечисленные логистические сообщества входят в Европейскую логистическую ассоциацию (ЕЛА), штаб-квартира которой находится в Брюсселе.
За рубежом выпускается большое количество журналов и других периодических изданий по вопросам логистики. К числу наиболее известных относятся: Inbound Logistics, Distribution, International Journal of Logistics Management, Journal of Purchasing and Material Management, Journal of Business Logistics, Modern Material Handling, Proceedings of the Annual Conference of the Council of Logistics Management, Production and Inventory Management, Transportation Journal (США), Asia Pasific International Journal of Physical Distribution and Logistics Management, Containerisation International, International Journal of Physical Distribution and Logistics Management, Freight Management, Journal of Transport Economics and Policy, Logistics Information Management, Logistics, Storage Handling Distribution (Великобритания), Logistics and Transportation Review, Canadien Transportation and Distribution Management (Канада), Fordern und Heben, Fordermitte Jornal, Logistik Spectrum, Transport und Lager (Германия), Logistiques Magazine (Франция), Logistica (Италия), Тага, Transport, Forder und Lagertechnik (Швейцария) и др.
Продуктовые характеристики и логистический цикл товара
Уточним понятие продукции (товара) и ее характеристики, имеющие принципиальное значение для логистики. Вводя понятие материального потока, мы выделяли материальные ресурсы, незавершенное производство и готовую продукцию в зависимости от места продукции в логистическом канале (сети) фирмы-производителя.
В то же время, если рассматривать продукцию как рыночную категорию, то материальные ресурсы и готовая продукция являются товаром.
Любая микрологистическая концепция связана с маркетинговой стратегией фирмы, которая, в свою очередь, зависит от вида производимого товара. Вместе с тем для обеспечения производства фирма должна закупать средства производства, которые традиционно принято разделять на средства труда (основные фонды) и предметы труда.
Если средства труда являются объектом инвестиционного менеджмента фирмы, то предметы труда (материальные ресурсы) выступают объектом логистического менеджмента фирмы (управления закупками), но товаром поставщика.
На рис. 5.2 представлена классификация продукции в концепции логистики.
Как видно из приведенной схемы, материальные потоки, являющиеся объектами управления внутрифирменного логистического менеджмента, чрезвычайно многообразны. Для решения логистических задач большое значение имеют виды и характеристики материальных ресурсов и готовой продукции.
Основные проблемы, связанные с видами и характеристиками готовой продукции, возникают у логистического менеджмента при формировании распределительных сетей, организации продаж и послепродажного сервиса. Стратегические решения в дистрибьюции для логистики, как и для маркетинга, будут зависеть от таких аспектов, как характер производства (массовое, крупносерийное, мелкосерийное или единичное), срок использования готовой продукции у потребителей (продукция длительного и кратковременного пользования) и т. д.
С точки зрения традиционной классификации готовой продукции, выпускаемой фирмой-производителем, ее можно разделить на две большие группы: средства производства и предметы потребления. Средства производства, в свою очередь, делятся на средства труда и предметы труда, используемые промышленными потребителями.
Маркетинговые и логистические подходы к построению каналов дистрибьюции для этих категорий готовой продукции различны, как и для предметов потребления.
Особое внимание логистический менеджмент должен уделять производимым фирмой товарам широкого потребления, которые

Рисунок 5.2. Классификация продукции в концепции логистики: МР материальные ресурсы; НП производство; ГП готовая продукция
можно разделить на товары повседневного, предварительного, особого и пассивного спроса.
Товары повседневного спроса потребители обычно покупают часто, без особых раздумий и, как правило, не тратя много времени на сравнение их между собой. Примерами таких товаров являются продукты питания, табак, средства гигиены и т. п., обычно широко представленные во многих торговых точках.
Затраты на дистрибьюцию таких товаров достаточно велики и могут составлять до 1/3 общих логистических издержек фирмы.
Эти товары можно дополнительно подразделить на основные товары постоянного спроса, товары импульсной покупки и для экстренных случаев. Основные товары постоянного спроса население покупает обычно регулярно или с достаточно высокой периодичностью, что связано с привычками людей, часто стимулируемыми рекламой. Товары импульсной покупки приобретаются, как правило, без предварительного планирования и поиска, зачастую случайно.
Примерами такого рода может служить покупка сопутствующих хозяйственных мелочей в продовольственном супермаркете. Товары для экстренных случаев покупаются, если возникает особая необходимость, вызванная, например, погодными условиями (зонтики и резиновые сапоги во время участившихся дождей).
Для вышеперечисленных товаров логистический менеджмент обычно создает сложные, разветвленные распределительные сети с большим числом розничных торговых точек, чтобы поддерживать высокий уровень обслуживания покупателей.
Товары предварительного выбора (магазинные товары) отличаются тем, что покупатель готов их искать и выбирать, сравнивая конкурентные взаимозаменяемые товары между собой по внешнему виду, дизайну, цене, качеству и т. п. Примерами таких товаров могут быть автомобили, мебель, одежда, бытовая, аудио-и видеотехника и т. д. Для этих товаров число торговых точек значительно меньше, чем для товаров повседневного спроса, распределительные каналы также более простые, что приводит к уменьшению логистических издержек.
К товарам особого спроса относится продукция с уникальными характеристиками или товары престижной торговой марки, ради приобретения которых покупатель готов затратить дополнительные усилия, время и деньги. Примерами таких товаров являются престижные марки автомобилей, электробытовой техники, одежды, обуви и т. п.
Товары пассивного спроса отличаются тем, что покупатель или ничего о них не знает, или знает, но не торопится покупать. Обычно это новинки, недостаточно апробированные на практике, не сопровождающиеся широкомасштабной рекламой.
Эти товары, как правило, требуют значительных маркетинговых усилий по организации продаж (например, использование торговыми агентами приемов личных продаж).
Организация дистрибьюции и продаж продукции промышленного потребления (для предприятий, организаций и физических лиц, производящих другие товары и услуги) принципиально отличается от товаров широкого потребления. В данном случае обычно фирма ищет покупателей и так строит логистические каналы в дистрибьюции этих товаров, чтобы они отвечали политике закупок (снабжения) потребителей.
Таким образом, рассмотренная нами классификация продукции играет важную роль для принятия определенных логистических решений и формирования логистической системы. Помимо различных видов материальных ресурсов, готовой продукции, образующих фирменные материальные потоки, большое значение в логистике имеют продуктовые характеристики {атрибуты), относящиеся к определенной товарной единице.
Отдельные продуктовые характеристики (ассортимент, упаковка) были рассмотрены выше при анализе взаимодействия логистического менеджмента и маркетинга. Обычно логистика ограничена в своих возможностях повлиять на продуктовые характеристики, если они уже сформированы маркетингом и операционным менеджментом.
Поэтому принципиальным вопросом является дизайн продукта с учетом дополнительных логистических требований.
Среди основных продуктовых характеристик, влияющих на логистические издержки и процесс принятия логистических решений в производстве и сбыте, необходимо указать на цену, торговый ассортимент и номенклатуру, габаритные размеры упаковки, вес, подверженность повреждению. Часто логистические издержки анализируют по параметру плотности, определяемой отношением веса готовой продукции в торговой упаковке к объему упаковки. В основном плотность товара влияет на транспортные затраты и издержки на хранение готовой продукции в складской сети. Товары, имеющие высокую плотность, требуют, как правило, меньших затрат на транспортировку и хранение, так как обеспечивают более рациональное использование грузоподъемности (грузовместимости) транспортных средств и возможностей складских площадей (рис.
5.3а). Тарифы за услуги по транспортировке и гру-зопереработке обратно пропорциональны плотности готовой продукции, поэтому многие фирмы повышают компактность (плотность) готовой продукции в период транспортировки и хранения (например, мебельные фабрики доставляют мебель в магазины в разобранном виде).
Еще одной продуктовой характеристикой, влияющей на логистические издержки, является отношение цена/вес (цена/ масса). Продукция с низким уровнем отношения цены к весу, такая, например, как сырьевые полуфабрикаты, будет иметь сравнительно небольшие затраты на хранение, но высокие транспортные расходы в процентах от цены продаж. Это объясняется тем, что главным фактором, влияющим на издержки хранения, является цена товара.
В то же время транспортные издержки зависят в основном от веса перевозимого груза и будут тем больше, чем меньше отношение цены к весу (рис. 5.36). Поэтому для фирм, выпускающих продукцию с высоким значением этого показателя (дорогая видео- и аудиотехника, ювелирные изделия, музыкальные инструменты и т. п.), логистический менеджмент заключается в минимизации запасов готовой продукции в распределительной сети, а для фирм, продукция которых имеет низкое соотношение цена/вес, он сводится к работе по льготным транспортным тарифам.
Большое значение для логистического менеджмента имеет свойство взаимозаменяемости продуктов. Фирмы тратят огромные средства на рекламу товаров-заменителей, характеризуемых даже незначительными изменениями параметров базовой модели, чтобы сформировать у потенциальных покупателей ощущение неповторимости своего товара.
В большинстве случаев логистический менеджер не может повлиять на свойство взаимозаменяемости. Однако он может обеспечить такой сервис и уровень доступности товара в дистрибьюции, что покупатель не будет думать о выборе товара-заменителя.
Влияние фактора замещения может быть представлено в виде возможной потери объема продаж фирмой-производителем или дистрибьютором. Более высокий уровень замещения обычно означает для покупателя возможность более широкого выбора среди товаров-заменителей и большую вероятность потери фирмой части объема продаж. Логистические решения зависят от улучшения транспортного сервиса или среднего уровня поддерживаемых запасов (рис. 5.3в и г).
Графики на рис. 5.3в показывают, что улучшение транспортного сервиса может вызвать уменьшение потерь объема продаж товара-заменителя. Для заданного уровня запасов фирма может увеличить скорость или надежность доставки, что делает продукт более доступным для потребителя.
Конечно, в этом случае необходимо сопоставить достигаемую выгоду от уменьшения потерь в продажах с ростом транспортных издержек. Графики на рис.
5.3г показывают, как меняются потери объема продаж в зависимости от среднего уровня запасов в дистрибьюции при постоянных транспортных расходах. В обоих случаях логистический менеджер должен выбирать наилучшие решения с точки зрения максимизации прибыли фирмы.
Еще одна продуктовая характеристика, влияющая на логистические издержки, связана с рисками в процессе физического распределения. Эти риски проявляются в таких свойствах продукта, как подверженность порче (для продовольственных товаров), повреждению в процессе транспортировки и грузоперера-

Средний уровень запасов

Рисунок 5.3. Влияние продуктовых характеристик на логистические издержки: а зависимость логистических издержек от отношения вес/ объем; б зависимость логистических издержек от отношения цена/вес; в зависимость логистических издержек от улучшения транспортного сервиса; г зависимость логистических издержек от среднего уровня запасов; д зависимость логистических издержек от продуктовых рисков

Логистические издержки, Логистические издержки, Логистические издержки,
% от цены продукции % от объема продаж % от объема продаж
Отношение вес/объем

цена/вес

ботки, взрыво- и пожароопасность и т. п. Риски требуют дополнительных затрат для обеспечения сохранности груза при транспортировке, грузопереработке, хранении. Например, скоропортящиеся грузы должны перевозиться и храниться в специальных рефрижераторах. С возрастанием уровня риска увеличиваются и логистические издержки на транспортировку, хранение и поддержание запасов (рис.
5.3д).
Как видно из рис. 5.36, виг, общие логистические издержки имеют минимум, что позволяет логистическому менеджменту ставить и решать задачи оптимизации соответствующих продуктовых характеристик по критерию минимума логистических затрат.
Логистический и маркетинговый менеджмент в существенной степени зависят от так называемого жизненного цикла товара, в котором выделяют определенные характерные этапы, зависящие от объема его продаж на рынке и прибыли фирмы. Типичная форма жизненного цикла товара показана на рис. 5.4.
На рисунке выделено пять этапов жизненного цикла товара. Этап разработки нового товара обычно занимает достаточно продолжительное время и связан с затратами и инвестициями фирмы на научно-исследовательские, конструкторские и другие разработки.
Этап внедрения (выведения) товара на рынок это период медленного роста объема продаж из-за его новизны для потребителей и достаточно больших затрат на рекламу и продвижение товара. Поэтому на данном этапе прибыли, как правило, нет.
Логистические решения в сбыте на этом этапе обычно связаны с селективным распределением и поддержкой осторожной маркетинговой политики продаж.
Этап роста, если товар принят покупателями, характеризуется быстрым ростом объема продаж и соответственно прибыли фирмы. На этом этапе возникают достаточно серьезные трудности для логистического менеджмента, связанные с достоверным

Рисунок 5.4. Жизненный цикл товара
прогнозом спроса. Отсутствие или запаздывание информации о продажах может привести к неправильным решениям в дистрибьюции в плане формирования распределительных каналов, размещения запасов и управления их объемом, транспортировки и т. п. Необходимы тщательный логистический контроль за сбытом и быстрая реакция логистического менеджмента на расширение рынка, так как период роста обычно кратковременный.
На этапе зрелости объем продаж и прибыль достигают своего максимума, но темпы их роста замедляются. Это связано с тем, что товар на рынке приобрел признание большинства потенциальных покупателей. В конце этого этапа обычно заметно падение объема продаж и прибыли, что объясняется влиянием товаров-заменителей конкурентов и большими затратами фирмы на поддержание спроса и защиту от конкурентов. Решения логистического менеджмента в дистрибьюции направлены на интенсивное распределение.
Важным является тщательный контроль за логистическими издержками.
Этап упадка характерен резким падением объема продаж и уменьшением прибыли. Это обычно связано с насыщением рынка, технологическими инновациями и усилением воздействия на рынок конкурентов.
Для поддержания спроса логистический менеджмент должен корректировать в сторону уменьшения число торговых точек, уменьшать запасы товара, осуществлять их передислокацию на оптовые склады.
Основные маркетинговые, производственные и логистические решения в зависимости от этапов жизненного цикла товара приведены в табл. 5.1.
Жизненный цикл товара стратегически определяет структуру так называемого логистического цикла. Логистический цикл это интегрированная по времени совокупность циклов, связанных с комплексными логистическими функциями.
Логистический цикл может быть отнесен к базисным функциям (снабжению, производству, сбыту) или ключевым и поддерживающим комплексным функциям. Если логистический цикл рассматривается от момента заказа потребителем товара до момента его получения (покупки), то он называется полным логистическим циклом.
Обычно в структуре логистического цикла выделяют следующие основные составляющие-циклы (для интегрированного логистического подхода):
- цикл заказа;
- цикл создания (поддержания) запасов;
- цикл обработки заказов потребителей;
- цикл организации закупок и размещения заказов;
- цикл доставки (материальных ресурсов, готовой продукции, услуг);
- операционный (производственный) цикл;
Основные решения маркетингового, операционного и логистического менеджмента, связанные с жизненным циклом
товара
- цикл сбора заказов потребителей и подготовки документации;
- цикл анализа и подготовки отчетов.
Жизненный цикл товара оказывает большое влияние на логистический цикл и стимулирует принятие логистическим менеджментом правильных решений. Это можно графически проиллюстрировать (рис. 5.5). На рисунке показаны кривая жизненного цикла конкретного товара и график, характеризующий изменение уровня запасов товара в распределительной сети (в денежном выражении).
Из рисунка видно, что если управление запасами не скоординировано с жизненным циклом товара, то на этапе упадка может сложиться ситуация, когда денежные средства, иммобилизованные в запасах товара (инерционное создание запаса), могут быть потеряны.
Рисунок 5.5. Влияние жизненного цикла товара на логистический цикл
Логистическая концепция точно в срок
Наиболее широко распространенной в мире логистической концепцией является концепция точно в срок (Just-in-time, JIT). Появление этой концепции относят к концу 1950-х годов, когда японская компания Toyota Motor, а затем и другие автомобилестроительные фирмы Японии начали активно внедрять микрологистическую систему KANBAN. Название данной концепции несколько позже дали американцы, попытавшиеся также использовать указанный подход в автомобилестроении.
Первоначальным лозунгом концепции точно в срок было потенциальное исключение запасов материалов, компонентов и полуфабрикатов в производственном процессе сборки автомобилей и их основных агрегатов. Исходной постановкой было то, что если производственное расписание задано (абстрагируясь пока от спроса или заказов), то можно так организовать движение материальных потоков, что все материалы, компоненты и полуфабрикаты будут поступать в необходимом количестве, в нужное место (на сборочной линии конвейере) и точно к назначенному сроку для производства или сборки готовой продукции.
При такой постановке страховые запасы, иммобилизующие денежные средства фирмы, оказывались не нужны.
С логистических позиций концепция точно в срок основана на довольно простой бинарной логике управления запасами без какого-либо ограничения к требованию минимума запасов, в которой потоки материальных ресурсов тщательно синхронизированы с потребностью в них, задаваемой производственным расписанием выпуска готовой продукции. Подобная синхронизация есть не что иное, как координация двух базисных логистических функций: снабжения и производственного менеджмента. В дальнейшем эта концепция была успешно применена и в дистрибьюции, системах сбыта готовой продукции, а в настоящее время и в макрологистических системах.
Учитывая широкую экспансию данного подхода в различные сферы современного бизнеса, можно дать следующее его определение.
Концепция точно в срок это современная концепция пост -роения логистической системы в производстве (операционном менеджменте), снабжении и дистрибьюции, основанная на синхронизации процессов доставкиматериальныхресурсов и готовой продукции в необходимых количествах к тому времени, когда звенья логистической системы в них нуждаются, с целью минимизации затрат, связанных с созданием запасов.
Концепция точно в срок тесно связана с логистическим циклом и его составляющими, которые мы рассмотрели в главе 5. В идеальном случае материальные ресурсы или готовая продукция должны быть доставлены в определенную точку логистической цепи (канала) именно в тот момент, когда в них есть потребность (не раньше, не позже), что исключает излишние запасы как в производстве, так и в дистрибьюции.
Расчеты за транспортировку товаров

Рисунок 1.4. Логистическая сеть и формирование издержек: ЗЛС„ ЗЛС2,..., ЗЛС14 звенья логистической системы; МР,, МР2, МР3 материальные ресурсы; ГП,, ГП2готовая продукция
высшего логистического менеджмента, реализующего целевую функцию системы.
Рассмотренный выше пример является типичным примером работы сбытового аппарата фирмы-производителя товара. Однако нашей задачей было показать, что даже в простейшем случае возникают достаточно сложные логистические сети, множество логистических цепей и операций, затраты по которым должен учитывать логистический менеджер.
Кроме того, на этом примере мы видим, что имеется набор альтернатив, вызывающий необходимость оптимизации процесса принятия логистических решений.
Приведем пример более сложной логистической сети, ориентированной по материальному потоку, абстрагируясь от информационных и финансовых потоков (рис. 1.4). Предположим, что эта логистическая сеть построена для конкретной логистической системы.
Она включает в себя 14 звеньев, взаимодействующих между собой по материальным потокам и генерирующих определенные логистические операции. Каждой логистической операции сопутствуют издержки, которые несет фирма-производитель.
В рассматриваемой сети можно выделить несколько логистических цепей, однако с позиций интегрированной логистики важными являются так называемые полные логистические цепи, представляющие собой линейно упорядоченное множество звеньев логистической системы от поставщика материальных ресурсов (МР) до конечного потребителя готовой продукции (ГП). Если в нашем примере предположить, что при изготовлении ГП j используется только МР, , то последовательность (ЗЛС, - ЗЛС4 -4 злс6 - злс7 - ЗЛС8 - ЗЛСП - ЗЛС13) представляет собой полную логистическую цепь.
Очевидно, что в реальных организациях бизнеса полные логистические цепи встречаются достаточно редко, учитывая большое число логистических посредников, многоассортиментность материальных ресурсов, используемых при производстве современных товаров, и разветвленные распределительные сети. Поэтому концепцию общих издержек обычно связывают с понятием логистического канала (трубопровода).
Логистическим каналом будем считать упорядоченное множество звеньев логистической системы, включающее в себя все логистические цепи или ихуча-стки, проводящие материальные потоки от поставщиков материальных ресурсов, необходимых для изготовления конкретного вида продукции (ассортимента продукции), до ее конечныхпотребителей. Понятие логистического канала можно распространить на внешние, внутрипроизводственные и макрологистические системы в пределах их границ (см. раздел 5.1).
Если для примера (рис. 1.4) предположить, что МР, и МР2 применяются для изготовления ГП2, то логистический канал интегрированной микрологистической системы для продукции (ГП2) будет включать в себя множество {ЗЛС2, ЗЛС5, ЗЛС6, ЗЛС7, ЗЛС9, ЗЛС10, ЗЛС|2, ЗЛСІ4}.
В том случае, если, например, МР2 и МР3 используются также (наряду с МР,) для производства ГП,, то полная логистическая цепь ГП, преобразуется в логистический канал, куда дополнительно включаются звенья в системе снабжения: ЗЛС2, ЗЛС3, ЗЛС5.
Каждой логистической операции соответствуют определенные издержки, которые несут конкретные звенья логистической системы. Если звенья логистической системы не входят в структуру фирмы-производителя товара, то для нее издержки партнеров выступают как плата за их посреднические услуги, т. е. как цены (тарифы) за перевозку, погрузку-разгрузку, складирование, хранение, экспедирование и т. п. В основу классификации издержек может быть положен принцип классификации логистических функций (см. главу 3, рис. 3.1).
Выделение тех или иных издержек или группы издержек зависит от вида логистической системы, задач управления и оптимизации в конкретных логистических цепях и каналах. При этом принципиально важным является понятие об-щихлогистических издержек.
В нашем примере интегрированной микрологистической системы (рис. 1.4) укрупненно можно выделить соответствующие издержки на комплексные логистические функции на участках сети снабжения (затраты на грузопереработку, транспортировку и закупки МР1 , МР2 и МР3), производства (затраты на производство ГП1 и ГП траты на управление заказами, запасами,
грузопереработку, складирование, транспортировку ГП1 и ГП2). Эти издержки необходимо дополнить затратами на информационно-компьютерную поддержку и финансовые операции при реализации базисных логистических функций.
Сумма всех издержек с учетом затрат на логистическое администрирование образует общие логистические издержки в рассматриваемой логистической системе.
Часто для решения задач оптимизации структуры или управления в логистической системе в составе общих логистических издержек учитываются потери прибыли от замораживания (иммобилизации) материальных ресурсов, незавершенного производства и готовой продукции в запасах, а также ущерб от недостаточного уровня развития систем снабжения, производства, дистрибьюции готовой продукции потребителям и логистического сервиса. Этот ущерб обычно оценивается как возможное уменьшение объема продаж, сокращение доли рынка, потеря прибыли и т. п.
Резюмируя вышеизложенное, укрупненная классификация логистических издержек имеет вид (рис. 1.5). Анализ структуры логистических издержек индустриально развитых стран Запада

Рисунок 1.5. Классификация логистических издержек
показывает, что наибольшую долю в них занимают затраты на управление запасами (20-40%), транспортные расходы (15-35%), расходы на административно-управленческие функции (9-14%)'. За последнее десятилетие заметен рост логистических издержек многих стран на такие комплексные логистические функции, как транспортировка, обработка заказов, информационно-компьютерная поддержка, администрирование.
За рубежом анализ логистических издержек обычно проводится в процентном отношении к ВНП (для страны в целом) или объему продаж готовой продукции фирмы (отрасли).
Роль логистики в развитии российских реформ
Остановимся кратко на проблеме развития логистики в России. Востребование научных подходов и практических методов логистики совпало с началом перехода России к рыночным отношениям.
Как показывает зарубежный опыт и рассмотренная нами выше эволюция логистической концепции на Западе, потребность в конкретном теоретическом аппарате и практическом инструментарии логистического менеджмента зависела от ряда условий, определяющих уровень развития производительных сил, технологий, политической обстановки, зрелости рыночных отношений в тот или иной исторический период. Возможность и темпы развития логистических подходов в отечественном бизнесе также нельзя рассматривать в отрыве от современной социально-экономической, политической обстановки в России и прогноза хода экономических реформ.
Не вдаваясь в детальный экономический анализ, попробуем в общих чертах сформулировать те принципиальные трудности, которые имеются на пути развития логистической концепции в России. Во-первых, тяжелая общеэкономическая ситуация и социальная напряженность во всех слоях общества не способствуют продвижению в отечественном бизнесе логистических идей, принципиально новых для большинства российских предпринимателей, менеджеров, инженерно-технических работников.
Стагфляция, высокий уровень монополизма в важнейших отраслях, финансовый кризис и неплатежи, стремительное падение объемов производства и уровня жизни населения, продолжающиеся негативная реструктуризация экономики и свертывание 'инвестиций вот далеко не полная характеристика социально-экономической обстановки в России, негативно отражающейся на развитии логистики.
Во-вторых, длительное время в отечественной экономике недооценивалась роль сферы обращения (снабжения и сбыта продукции), которая на Западе занимает ключевую (фундаментальную) позицию в логистике. Исторически в России развитие сферы обращения намного отставало от производственной сферы, особенно в организации сбыта товаров и услуг.
Сфера обращения характеризовалась замедленным продвижением товаров от производителей к потребителям, высоким уровнем неудовлетворенного спроса, низкой надежностью и недостаточным уровнем качества обслуживания потребителей, Сфера обращения всегда финансировалась по остаточному принципу; у руководящего управленческого персонала сложился стойкий психологический стереотип недооценки роли сферы обращения в экономике.
В-третьих, Россия в настоящее время значительно отстает даже от среднемирового уровня в развитии инфраструктуры экономики (прежде всего в сфере обращения продукции). Здесь можно указать на следующие основные негативные моменты:
- нерациональное развитие товаропроводящих структур (отсутствие продуманной стратегии развития систем дистрибьюции товаров в промышленности и торговле, недостаточное число крупных и средних оптовых организованных товарных рынков);
- низкий уровень развития современных систем электронных коммуникаций, электронных сетей, систем связи и телекоммуникаций;
- отсталая транспортная инфраструктура, прежде всего автомобильных дорог; недостаточное количество и низкий технический уровень грузовых терминалов;
- отсутствие практически на всех видах транспорта современных транспортных средств, отвечающих мировым стандартам; высокая степень физического и морального износа подвижного состава транспорта;
- низкий уровень развития производственно-технической базы складского хозяйства; недостаток современного технологического оборудования по грузопереработке продукции; слабый уровень механизации и автоматизации складских работ;
- слабое развитие промышленности по производству современной тары и упаковки и т. п.
Указанные факторы и негативные моменты в значительной степени тормозят внедрение логистической концепции в российскую экономику, а преодоление их невозможно в короткий срок. Вместе с тем к началу 1990-х годов, т. е. начальному этапу перехода к рыночным отношениям, в России имелись определенные предпосылки для развития логистических идей в различных отраслях экономики.
Эти предпосылки можно разделить на две большие группы: научно-теоретические и производственно-технические (технологические).
Научно-теоретические предпосылки связаны с вузовской подготовкой специалистов по широкому кругу дисциплин, прямо или косвенно имеющих отношение к логистике, а также с большим количеством научных трудов и методических разработок, затрагивающих в той или иной степени проблемы логистики. Широко известны за рубежом работы отечественных ученых в области системного анализа, технической и экономической кибернетики, исследования операций, теории управления запасами, теории массового обслуживания, теории связи и других наук, составляющих теоретическую базу современной логистики. Большой научный и практический вклад внесли ведущие отечественные ученые и специалисты в развитие материально-технического снабжения и сбыта, оперативного управления производством, оптимального планирования потребности в материальных ресурсах, организации эффективного функционирования транспорта в сфере обращения продукции, организации складского хозяйства и т. д.
Несмотря на то что сам термин логистика появился в российской экономической литературе совсем недавно, отдельные теоретические положения логистики изучались в экономических вузах в комплексе таких дисциплин, как экономика и организация материально-технического снабжения и сбыта, организация складского и тарного хозяйства, управление запасами, нормирование материальных ресурсов, оперативно-календарное планирование производства, организация и управление грузовыми перевозками, организация оптовой торговли и др.
До перехода к рынку в изучении указанных дисциплин, практических приложениях и научно-исследовательских разработках преобладали территориальный, отраслевой и ведомственный подходы. Участники, по существу, единого логистического процесса в сферах производства и обращения продукции всегда рассматривались изолированно с точки зрения обеспечения своих локальных интересов и целей функционирования в централизованной плановой экономике.
В то же время в течение длительного периода в экономике СССР, а затем и Российской Федерации складывалась производственно-техническая база в различных отраслях производства и сфере обращения, назначением которой было управлять материальными потоками, что мы сейчас относим к прерогативе логистики. В отраслях промышленного производства это относится к внутрипроизводственным системам организации работы технологического (промышленного) транспорта и складского хозяйства, гибким автоматизированным производствам и робототизи-рованным комплексам, системам автоматизации проектирования (САПР).
Известны примеры эффективного использования в промышленности отечественных микрологистических систем типа РИТМ, КСОТО, САПР, систем оптимального оперативно-производственного планирования, контроля и управления запасами материальных ресурсов, подобных зарубежным системам планирования потребностей/ресурсов, KANBAN и др.
Производственно-техническую базу сферы обращения и инфраструктуры отечественной экономики, связанную с управлением - многоассортиментными материальными потоками, составили различные технологические объекты государственных централизованных, отраслевых, территориальных и ведомственных систем снабжения и сбыта продукции, т. е. бывших структур Госснаба, Госстроя, Госагропрома и Госкомнефтепродукта СССР. Несмотря на упразднение в 1993 г. всех форм государственного обеспечения и централизованного распределения материальных ресурсов, на территории Российской Федерации остались и функционируют уже в рыночных структурах объекты мощной складской системы и товаропроводящих сетей, крупные автоматизированные транспортно-складские комплексы, транспортные узлы и грузовые терминалы, контейнерные пункты, предприятия различных видов транспорта и связи, вычислительные и информационно-диспетчерские центры, объекты оптовой и розничной торговли и т. п. Создаются элементы рыночных посреднических структур оптовой торговли продукцией производственно-технического назначения типа Федеральной контрактной корпорации АО Росконтракт.
Таким образом, рассмотренные объективные предпосылки составляют исходный фундамент распространения логистической концепции в сферах производства и обращения продукции в экономике России. Требуется, конечно, развитие и совершенствование производственной, технической и технологической базы логистики в разных отраслях экономики, создание логистических товаропроводящих структур, микро- и ¦ макрологистических систем различного уровня. России нет необходимости повторять долгий
исторический путь, который прошла логистика в зарубежных странах. Используя накопленный ими опыт и отечественный научно-практический потенциал, необходимо ускоренными темпами внедрять современные логистические подходы и системы в рыночно-ориентированных структурах отечественного бизнеса.
Как уже отмечалось выше, многие отечественные разработки непосредственно включали элементы логистической науки и были посвящены формам, методам управления и хозяйственным процессам товародвижения. Это относится к совершенствованию структуры совокупных запасов продукции, формированию оптимальных партий поставки продукции, управлению складским хозяйством, рационализации грузопотоков, комплексному управлению товарными потоками и др. Но эти разработки были недостаточно связаны между собой, не имели объединяющей основы, не осуществлялись в рамках целостной науки об управлении материальными потоками.
Не акцентировалось внимание на оптимизации общих логистических издержек в процессе товародвижения. Поэтому накопленный научно-практический потенциал требует переосмысления с позиций логистического подхода.
Как хозяйственному процессу, системе управления и науке, т. е. всем аспектам логистики, свойственны три характерных признака. Во-первых, логистика рассматривает различные этапы, стадии и операции управления материальными потоками как единое целое. Во-вторых, затраты по этим стадиям и этапам она оценивает как взаимосвязанные, требующие скоординированного, комплексного подхода. В-третьих, комплексный подход в логистике осуществляется с целью ритмичного, своевременного обеспечения потребителей товарами и услугами необходимого качества с наименьшими затратами как у потребителей, так и у других субъектов товарного рынка, взаимодействующих с ними.
Роль логистики в экономике России определяется системным взаимодействием пяти основных факторов: экономического, организационно-экономического, информационного, технического и специфического (для российских условий), связанного с регулированием хозяйственных процессов. Остановимся на каждом из перечисленных факторов.
Экономический фактор. В настоящее время на передний план выдвигается поиск возможностей сокращения производственных затрат и издержек обращения как для увеличения прибыли фирмы, так и для наиболее полного удовлетворения интересов потребителя, оказания ему комплекса услуг.
Таким образом, если в условиях развития рыночных отношений принцип расчетвыгода-потребитель находится в центре внимания, то потенциал логистики обеспечивает воплощение этого принципа.
Организационно-экономический фактор. Наряду с происходящими в российской экономике процессами дробления хозяйственных структур, автономизации новых структурных образований, децентрализации управления получают развитие процессы кооперации и интеграции хозяйственной деятельности.
В переходной экономике, предполагающей наличие различных форм собственности, все большее значение приобретают интеграционные формы управления и тенденция к координации, которые в особенности характерны для логистических процессов взаимодействия предприятий-изготовителей, потребителей, посредников, складского хозяйства и транспорта.
Информационный фактор. Особенно актуально развитие информационных связей, которые являются причиной и следствием развития рыночных отношений, взаимообусловливают друг друга.
Информатика наиболее тесным образом связывает рынок и логистику, поскольку составляющей логистических процессов являются информационные потоки.
Технический фактор проявляется в том, что логистика как система управления, ее субъекты и объекты управления развиваются на основе современных технических достижений в транспортно-складском хозяйстве и в сфере управления (при автоматизации и компьютеризации управления), обеспечивающих решающий успех на рынках товаров и услуг. В свою очередь, коммерческая инициатива и развитие рыночных отношений стимулируют внедрение новой техники в процессы управления материальными потоками, которые в условиях технической модернизации требуют эффективного управления на логистической основе.
Специфический фактор. Большую актуальность логистика приобретает из-за необходимости в государственной поддержке процессов товародвижения.
Использование различных методов государственного управления для регулирования этих процессов адекватно логистическим подходам. Они применимы и эффективно используются не только на микроуровне предприятий и органи-зацийучастников процесса товародвижения, но и на региональном и федеральном уровне.
Если интересы, потребности и результаты рыночных отношений определяют возрастающую актуальность логистических подходов, то, в свою очередь, развитие логистического управления оказывает существенное влияние на совершенствование системы этих отношений и экономической политики государства. Рассмотрим влияние логистики на развитие рыночных отношений.
Требования логистики к мониторингу и оценке материальных потоков, их организации и регулированию с момента изготовления продукции до ее производственного потребления способствуют развитию связей между поставщиками и потребителями продукции. Организуя и анализируя материальный поток на всем его протяжении, предприятия заинтересованы в улучшении показателей производственной системы, учитывают их не только на входе или выходе внутрифирменного потока, но и соответственно у партнера. Стремясь улучшить собственные показатели, фирмы вместе с тем заботятся об обеспечении интересов партнера и условий для развития договорных отношений по поставкам продукции. Кроме того, следуя логистическим подходам и развивая горизонтальные хозяйственные связи, предприятия конкурируют друг с другом в процессе обслуживания заказчиков, в повышении качества поставки продукции с наименьшими затратами.
Методы логистики выступают надежным инструментом повышения конкурентоспособности фирм на товарных рынках.
Важнейшим условием логистики является поиск резервов снижения затрат на закупку, складирование, погрузку, разгрузку и отправку продукции. Сокращение затрат на транспортно-складские операции во многом определяет выигрыш в конкурентной борьбе и лидерство в отрасли. Существенное значение приобретает при этом выбор оптимального варианта расходов на логистические операции. Первостепенная роль в логистике принадлежит оптимизационным решениям, например по нормированию партий поставки товаров, сокращению складских перевалок продукции, формированию хозяйственных связей.
Принятие и реализация этих решений влияют на использование резервов экономии материальных и финансовых ресурсов, расширение региональных рынков товаров и услуг.
Многообразие логистических операций и функций (по складированию, перевозке, экспедированию, консалтингу и т. д.) позволяет значительно расширить возможности посреднических организаций по обслуживанию предприятийпоставщиков и потребителей продукции. Они преобразуются в посреднические организации комплексного обслуживания, которые, помимо посреднических операций по закупке и реализации товаров, оказывают новые логистические услуги.
Риски и страхование в логистических системах
- формирование информационных систем обеспечения процессов товародвижения и функционирования товаропроводящей сети;
- обоснование и разработка межведомственных положений и инструкций по эффективному применению экономических нормативов для регулирования процессов товародвижения;
- подготовка совместно с транспортными структурами предложений по введению дифференцированных транспортных тарифов для стимулирования рационализации перевозок;
- разработка предложений по инвестиционной политике в области развития транспорта и товаропроводящей сети;
- разработка рекомендаций по схемам рационализации внутри- и межрегиональных перевозок;
- обоснование целесообразности использования эффективных вариантов товародвижения через складские объекты для устранения нерациональных перевозок и повторных перевалок продукции;
- координация деятельности субъектов товарных рынков по организации и осуществлению товародвижения;
- разработка мероприятий по обеспечению координации деятельности складских предприятий логистических структур, транспортных терминалов и производственных складов;
- подготовка предложений и методических рекомендаций по развитию структур по организации и координации процессов товародвижения (логистических структур), а также новых форм посреднических организаций, специализирующихся на логистическом обслуживании производства;
- анализ и подготовка предложений по организационной структуре в системе оптово-посреднических предприятий, их селективная финансовая поддержка и участие в ценообразовании на оказываемые ими услуги.
Организация государственного управления товародвижением должна быть построена на программной основе. Федеральные программы должны предусматривать цели управления процессами товародвижения, систему экономических, правовых и организационных мер по государственной поддержке их проведения, методы контроля за выполнением этих программ.
Разработка таких программ позволит реализовать различные методы государственного воздействия на процессы товародвижения и функционирование инфраструктуры товарных рынков: государственного прогнозирования, косвенного управления, научно-методического обеспечения развития и координации процессов товародвижения, прямого управления.
Риск, надежность и страхование в логистических системах
Логистическая система в любой практической реализации от процесса перемещения грузов до процессов товародвижения в рыночном пространстве включает множество разнородных элементов, функционирование которых находится под влиянием различных факторов и сопряжено с определенным риском. Одним из принципов логистики является надежность, причем на микро- и макрологистическом уровнях.
Это означает, что риск функционирования логистической системы должен быть сведен к минимуму или вообще нейтрализован.
Риск основное понятие страхования. Под риском понимается вероятность наступления страхового случая, а также возможный размер ущерба от него.
Риск и страховой случай аналогичны понятиям теории надежности, где надежность есть вероятность наступления отказа или вероятность безотказной работы системы. В общем виде страхование представляет собой систему обеспечения интересов физических или юридическихлиц, подвер -женным тем или иным рискам. Такая система реализуется как комплекс мероприятий, направленных на поддержание надежности на требуемом уровне, что должно свести вероятность отказов или наступления страхового случая к минимуму.
Для определения рациональных способов и методов страхования целесообразно под логистической системой понимать процесс движения материальных ресурсов, осуществляемый в сферах обращения и производства. Исходя из этого логистическая система состоит из двух подсистем:
- коммерческой, т. е. процесса движения товаров и финансовых средств в сфере обращения;
- производственной, т. е. процесса физического перемещения или изменения предметов труда (непосредственно в производстве до получения готового продукта) и работы всякого рода оборудования (транспортных средств, перегрузочных машин и т. п.).
Коммерческая подсистема включает следующие операции (элементы): закупка, реализация (сбыт), транспортировка, хранение (складирование), производственные и информационные услуги, связанные с подготовкой к производственному потреблению или реализации и др. Указанные операции адекватны комплексу составляющих процесса товародвижения на интегрированном рынке.
Производственная подсистема включает основные и вспомогательные технологические операции изготовления и перемещения продукции.
Многозвенность логистической системы предопределяет возможность отказов или сбоев; в более широком понимании это определенный риск. С многозвенностью также связана высокая неопределенность логистической системы, измеряемая начальной энтропией
п . '
Нн = -E(P/logp( +c?(logq(), (1)
/=1
где я количество звеньев (операций) логистической системы или логистической цепи; р, вероятность безотказности или надежность выполняемой операции;
qі вероятность отказа или риска данной операции
(р + q = 1).
Из приведенного выражения следует высокий уровень потенциального риска для всей логистической системы. Этот риск существенно снижается прежде всего за счет управления материальным (товарным) потоком, т. е. целенаправленного воздействия на операции логистической системы для поддержания энтропии на минимально низком уровне (рис.
4.5).
Компетентное управление, осуществляемое высококвалифицированным персоналом, позволяет довести надежность логистических операций до величины, близкой к единице. Отсюда следует, что для управления данным логистическим процессом необходим определенный объем информации, отвечающий условию
1 - tiH~ H!w, при э 0, (2)
где И[:.. h\ энтропия соответственно начальная и конечная.
Данное обстоятельство определяет особо важную роль информации как фактора предотвращения или сведения риска к минимуму. Для участников логистического процесса, в частности поставщиков (продавцов), потребителей (покупателей), грузоотправителей и грузополучателей, оптовых посредников, перевозчиков и др., прежде всего необходима информация о конъюнктуре рынка в целом и о тех его сегментах, где осуществляется данный логистический процесс.
Кроме того, необходима текущая и прогнозная информация о конкретных ситуациях по траектории следования данного материального потока.

Рисунок 4.5. Схема взаимосвязи управления и страхования в логистических системах
Риск логистической системы как составной части предпринимательства включает следующие элементы:
- коммерческий риск, выражающийся в срыве поставок или недопоставке продукции, нарушениях сроков поставки, невыполнении финансовых обязательств, потере части дохода (прибыли) вследствие нерациональности закупок, транспортировки, хранения и т. п.;
- риск утраты имущества из-за неблагоприятных природных условий, включая стихийные бедствия;
- риск, обусловленный хищениями и кражей товарно-материальных ценностей, включая угон транспортных средств;
- экологический риск, выражающийся в ущербе окружающей среде, например при транспортировке или хранении продукции;
- риск возникновения гражданской ответственности за ущерб, наносимый юридическим и физическим лицам в процессе логистической деятельности;
- технический риск, связанный с эксплуатацией технических средств логистической системы.
Таким образом, риски и связанный с ними материальный ущерб в значительной мере могут быть сведены к минимуму деятельностью персонала, непосредственно занятого в логистическом процессе, что не исключает, а наоборот, предполагает дополнительное прямое страхование логистических рисков специализированными страховыми компаниями. В последнем случае взаимоотношения между участниками логистического процесса и страховыми компаниями регулируются договором страхования.
Договор страхования предусматривает две стороны: страхователь участник логистического процесса, например владельцы товаров (грузов) или транспортных средств, и страховщик юридическое лицо, принимающее на себя те или иные риски. Согласно договору страхования, страхователь уплачивает так называемые страховые премии страховщику, а последний возмещает ущерб в случае наступления страхового события.
Следует иметь в виду, что никакое страховое возмещение не в состоянии полностью возместить ущерб, обусловленный тем или иным риском, ибо кроме прямого неизбежен и косвенный ущерб. Страховое возмещение недостаточно для полной ликвидации ущерба.
А поэтому задача состоит в недопущении наступления страхового случая решение этой задачи возлагается на персонал, занятый в данной логистической системе, поскольку логистическая система функционирует как система человек машина.
Таким образом, в системе страхования, целью которого является обеспечение высокой надежности функционирования логистической системы, центральное место занимает управление.
В данном аспекте выявляются две группы факторов, определяющих эффективность управления:
1) разнообразие и целенаправленность управляющих воздействий на потоки материальных и финансовых ресурсов на процесс товародвижения;
2) комплекс логистической инфраструктуры, т. е. система обслуживания и обеспечения процесса товародвижения.
Для реализации указанных групп факторов следует ориентироваться на цель функционирования логистической системы, которая является многозначной:
- достижение глобальной и локальной сбалансированности спроса и предложения;
- обеспечение конкурентоспособности и сбыта произведенной продукции;
- осуществление надежного материально-технического снабжения как непосредственное питание производства материальными ресурсами;
- обеспечение заданных параметров перемещения материальных ресурсов по траекториям товаропотоков с минимальными затратами;
- возмещение товаропроизводителями и другими участниками логистического процесса произведенных ими затрат.
Для достижения перечисленных целей в той или иной конкретной ситуации могут быть введены в действие следующие управляющие воздействия:
- ускорение продвижения материальных ресурсов от поставщиков к потребителям (от товароотправителей к товарополучателям);
- замена одних материальных ресурсов другими;
- изменение траектории движения материальных потоков;
- использование резервов оптово-торговых фирм страхование поставок за счет товарных запасов;
- управление совокупным запасом на основе оперативного маневрирования материальными ресурсами;
- дробление материального потока изменение частоты поставок;
- регламентация использования материальных ресурсов, в том числе нормирование их расхода или потребления;
- оперативные закупки материальных ресурсов;
- эшелонирование материальных запасов;
- консигнация товаров и грузов;
- профилактика и резервирование технических средств логистического процесса;
- сервисное сопровождение логистического процесса;
- предварительная комплектация товаров (грузов) согласно требованиям покупателей;
Подготовка материалов к производственному потреблению
- поставки по системе точно в срок;
- диспетчеризация движения материальных, в том числе транспортных, потоков.
Приведенным перечнем не исчерпывается арсенал управляющих воздействий. Расширение этого арсенала объективно повышает надежность логистических операций и логистического процесса в целом. Страхование надежности функционирования ло- л гистической системы достигается также и за счет ее обеспечивающих подсистем, т. е. за счет ее инфраструктуры.
Под логистической инфраструктурой понимается совокупность видов деятельности, с помощью которых осуществляется и обслуживается процесс движения материальных и финансовых потоков или процесс товародвижения.
Логистическая инфраструктура, как и любая другая инфраструктура, подразделяется на три вида: техническую (производственную), институциональную и социальную. Техническая инфраструктура предусматривает наличие и функционирование транспорта, дорог, зданий и сооружений, складов, терминалов и др. Институциональная инфраструктура это деятельность банков, таможни, органов сертификации и др., непосредственно связанная с обслуживанием процесса товародвижения.
Социальная инфраструктура охватывает персонал, занятый в процессе движения материальных потоков. В современных условиях инфраструктура играет определяющую роль в экономике в целом и в логистике в частности.
Наличие развитой инфраструктуры необходимое условие эффективного функционирования логистической системы, а поэтому при формировании системы страхования следует обратить внимание на состояние логистической инфраструктуры, параметры которой должны соответствовать требованиям конкурентоспособности.
Логистическая система дает огромное множество и разнообразие форм практической реализации. Одной из таких форм является система, состоящая из следующих блоков (подсистем): закупки, транспортировка, хранение, материально-техническое снабжение, внутрипроизводственное движение материальных ресурсов. Для каждой из этих подсистем имеет место определенный риск, и соответственно ему выбираются способы страхования (табл.
4.1).
Таким образом, страхование конкретных рисков осуществляется с помощью:
1) системы управления непосредственно процессом товародвижения (логистической системой);
2) системы страхования специализированными страховыми компаниями. Последние, будучи самостоятельными субъектами страхового ранга, являются частью институциональной логистической инфраструктуры.
В логистической деятельности материальные составляющие, именуемые в практике страхования как имущество, выступают в форме средств производства, среди которых важное место занимают основные фонды.
В зависимости от места и роли в логистических процессах основные фонды подразделяются на следующие группы:
- здания,
- сооружения,
- передаточные устройства,
- машины и оборудование,
- измерительные и регулирующие приборы,
- транспортные средства,
- инструмент и инвентарь.
Представленный перечень имущества в полной мере используется в страховании логистических систем. Особое место в этом перечне занимают транспортные средства: страхование транспортных средств является самостоятельной отраслью страховой деятельности. Здания и сооружения, будучи статичными системами, подвержены минимальному риску, за исключением зданий высокой пожароопасности.
Для остальных объектов, которые являются динамическими системами, риск обусловлен степенью надежности их функционирования. Для транспортных средств надежность их эксплуатации, а следовательно, и риск обусловлены не только внутренними факторами (например, износом), но и внешними (например, природными явлениями, ситуациями на путях передвижения, взаимодействием с другими транспортными средствами и иными объектами).
В данном аспекте заслуживает внимания система страхования морских перевозок, в частности морских судов.
Главное внимание при страховании морских судов уделяется профилактическим мероприятиям еще на стадиях проектирования и строительства. Поэтому морские суда подвергаются освидетельствованию и классификации с точки зрения установленных требований безопасности мореплавания. Наиболее известны классификационные общества: Регистр судоходства Ллойда (Великобритания), Бюро Веритас (Франция), Норске регистр (Норвегия), Регистре Итальяно (Италия), Российский морской регистр (Россия).
Такие общества имеют штат инспекторов, которые осуществляют надзор не только за строительством судов, но и за их эксплуатацией.
В рассматриваемом случае компании не столько возмещают ущерб, сколько принимают меры по доведению до минимума возможного риска и недопущения наступления страхового случая. Предотвращение ущерба достигается за счет следующих основных профилактических мероприятий:
1) разработка требований к надежности и качеству технических средств логистических систем, обязательных при проектировании и изготовлении этих средств;
2) надзор и инспекция за эксплуатацией;
3) профилактика в рамках технического обслуживания;
4) аттестация персонала, занятого в логистическом процессе;
5) комплексное развитие логистической инфраструктуры.
В такой системе страхования риск сведен к минимуму, а его возможность обусловлена форс-мажорными обстоятельствами.
Стратегия и тактика профилактики технических средств должны формироваться на основе методов теории надежности с использованием следующих характеристик надежности:
- надежность вероятность безотказной работы (/?);
- наработка на отказ среднее время между двумя соседними отказами (7^,);
- интенсивность отказов величина, обратная наработке на отказ (А.);
- среднее время восстановления (7"в);
- интенсивность восстановления (р).
Для большинства технических средств надежность подчинена экспоненциальному закону
R = e~xt, (3)
где / время работы машины или оборудования.
Зная допустимый уровень надежности, можно определить интервал проведения профилактических мероприятий
Приведенный методический подход составляет основу регламента проведения профилактических работ для всех технических средств логистической системы. Строгое соблюдение регламента проведения профилактики обеспечивает уровень надежности, весьма близкий к единице.
Как уже отмечалось, технические средства эксплуатируются как системы человекмашина. Последнее означает, что надежность в значительной мере зависит от действий персонала.
Иными словами, надежность систем человекмашина определяется еще и квалификацией, знаниями и навыками персонала, его работоспособностью, физическим и психическим здоровьем. Человек своими действиями может существенно уменьшить риск или, наоборот, стать причиной отказа системы и нанесения ущерба.
Отсюда следует необходимость учета человеческого фактора при страховании логистических систем.
Специфика функционирования логистических систем требует от системы страхования усиления профилактического начала. Следует иметь в виду, что получив возмещение ущерба вследствие наступления страхового случая, страхователь вынужден затратить немало времени на реализацию денежных сумм, т. е. на восстановление или покупку утраченного имущества, доведения его до работоспособного состояния, поскольку этот период вне ответственности страховщика.
Особо важную роль страхование играет во внешнеэкономической деятельности. В международной логистике, т. е. при внешнеэкономических товаропотоках, базисными условиями поставки определяются время и пункт перехода ответственности за риск ущерба или убытков в торговой сделке, а в некоторых условиях точно указывается, какая из сторон данной внешнеторговой сделки отвечает за заключение договора страхования.
Однако практика страхового возмещения во внешнеторговых товаропотоках не однозначна при распределении ущерба между участниками международного логистического процесса. Более того, в большинстве условий поставки не оговаривается ответственность за страхование.
Объективно из всех участников международного логистического процесса максимально рискует покупатель, и этот риск значительно возрастает при закупках ценных или дорогостоящих товаров. В таких случаях для покупателя абсолютно необходимо заключать договор страхования товаров. В международной коммерческой практике предусматривается страхование ответственности или страхование товара (груза) (рис. 4.6).
Транспортные предприятия, как правило, предлагают страхование ответственности при перевозках. Это означает, что в тех страховых случаях, когда ущерб причинен по вине самого транспортного предприятия перевозчика, страховая компания перевозчика возмещает убытки от повреждения, случайной гибели, порчи или уничтожения товаров. Но при этом максимальный предел возмещения соотнесен с определенными базовыми нормами исчисления компенсации на единицу массы груза, например в долларах на 1 кг груза.
В большинстве случаев такая система компенсации ущерба не соответствует реальной стоимости товара.
Для покупателя целесообразным является страхование товара {груза). В этом случае объектом страхования является груз, а договор страхования со страховщиком заключается по инициативе самого владельца груза.
Страхование грузов можно организовать следующим образом: а) по каждой отдельной перевозке; б) для каждой партии поставки; в) на годовой период по годовому договору страхования. При страховании грузов предусматриваются условия от всех рисков или от аварии, кроме того, возможно страхование особых или дополнительных рисков. Условие от всех рисков предусматривает покрытие тех убытков, которые могут быть понесены во время перевозки груза.
На условиях от аварии покрываются только те убытки, которые были понесены в результате причинения грузу ущерба вследствие уничтожения или повреждения средств транспорта при дорожных (в том числе морских или воздушных) происшествиях.
В международных перевозках возможны случаи, когда на грузоперевозчика возлагается обязанность возместить убытки, возникшие во время перевозки. Ответственность грузоперевозчика ограничивается определенной суммой в соответствующей валюте.
При калькулировании сумм возмещения ущерба в качестве расчетной единицы используются так называемые специальные права заимствования (СДР; Special Drawing Rights, SDR). Специальные права заимствования представляют собой официально утвержденные Международным валютным фондом платежные и резервные средства, выполняющие ряд функций мировых денег, Стоимость СДР колеблется в зависимости от согласованной корзины валют.
По прибытии груза к грузополучателю сам груз и грузовые документы следует проверить и в соответствии с действующими инструкциями произвести осмотр транспортных средств, контейнеров, грузовых мест выявить возможные повреждения, недостачу или гибель груза. Грузополучатель должен в минимальные сроки предъявить претензии грузоперевозчику или грузоотпра-
вителю. Письменная претензия о порче, недостаче или скрытом ущербе должна предъявляться перевозчику в следующие сроки:
- при морской транспортировке в течение 3 дней с момента передачи груза;
- при воздушной транспортировке в течение 14 дней с момента передачи груза;
- при железнодорожной транспортировке в течение 7 дней с момента приемки груза;
- при автомобильной транспортировке в течение 7 дней с момента передачи груза.
При непредъявлении грузоперевозчику письменной претензии в установленные сроки право иска теряется и транспортная фирма-перевозчик не несет ответственности за причиненный ущерб.
В международном товародвижении возникает риск, связанный с выполнением таможенных формальностей. Такой риск сводится к минимуму при квалифицированном и своевременном оформлении таможенной документации.
Взаимодействие логистического менеджмента с маркетингом
Логистика расширяет физические границы маркетинга, добавляя к готовой продукции утилиту места и соответственно увеличивая стоимость товара.
Доступность товара или услуги для покупателя важна не сама по себе, а именно в тот момент, когда он в них нуждается. Таким образом, логистический менеджмент, выполняя сбытовую функцию поставки готовой продукции (услуги) покупателю за требуемое время, реализует утилиту времени.
Логистические решения с позиций утилиты времени в основном осуществляются за счет поддержания рационального уровня запасов в распределительных сетях и стратегического размещения товаров и услуг. В определенных случаях утилиту времени может создавать транспортировка путем быстрого перемещения готовой продукции в точку спроса.
Например, замена складирования товаров воздушной транспортировкой к месту потребления добавляет утилиту времени к товару.
Роль логистики в бизнесе зависит от того, существует ли утилита владения, реализуемая маркетингом. Эта утилита создается путем совершения определенных маркетинговых стратегических и тактических действий, связанных с рекламой и продвижением товара или услуги. Продвижение товара (promotion) можно опреде -лить, как попытку фирмы установить прямой или непрямой контакт с покупателями, чтобы создать или увеличить их потребность в обладании товаром.
Создание логистических утилит времени и места возможно лишь в том случае, если имеется спрос на товары или услуги (утилита владения).
Основная задача логистического менеджмента в современных условиях бизнеса способствовать выполнению стратегических целей фирмы и созданию конкурентных преимуществ. Ключевыми факторами конкурентного преимущества в мировой экономике в настоящее время являются:
- лидерство в уровне качества товаров и услуг;
- лидерство в уровне затрат;
- дифференциация продукции;
- стратегический фокус.
Если первые два фактора были проанализированы ранее (раздел 1.2), то дифференциация продукции означает позиционирование фирмы на рынке сбыта продукции (услуг), где она стремится занять ведущие позиции, завоевать потенциальных покупателей. Стратегический фокус означает стремление фирмы достичь конкурентного преимущества в одном или нескольких сегментах рынка за счет концентрации усилий (фокусировании) на определенных стратегических направлениях.
Указанные ключевые факторы могут быть использованы любой фирмой-конкурентом. Поэтому для успешного выживания организация бизнеса должна постоянно внедрять новые подходы и инновационные идеи на стратегических направлениях своей деятельности.
Такие возможности предоставляет им логистика. Например, эффективный логистический менеджмент может уменьшить общие издержки, давая фирме постоянное лидерство в уровне затрат на определенном сегменте рынка, где это имеет решающее значение. Одновременный акцент на минимизации цены и высоком уровне качества продукции и услуг (или поддержании
мировых стандартов качества) может позиционировать фирму как ведущую на конкретном рынке.
Необходимо отметить, что функции логистики (в особенности интегрированной) становятся в современных условиях все более значимыми для реализации стратегического фокуса. Так, М. Портер1, формулируя задачу обеспечения конкурентных преимуществ, вводит понятие так называемой цепи полной стоимости как инструмента разделения бизнеса на ключевые и поддерживающие функции ФИРМЫ, выделения соответствующих затрат и установления потенциальных источников дифференциации продукции. При этом он утверждает, что фирма достигает конкурентных преимуществ только в том случае, если совершает эти действия лучше конкурентов или с меньшими затратами.
В цепи (пирамиде) полной стоимости, как видно из схемы (рис. 3.5), ключевую роль играет логистика как внутренняя (в производстве), так и внешняя (в снабжении и сбыте).
К ключевым функциям относятся также производство, маркетинг и организация продаж, сервис.
В состав поддерживающих функций входят инфраструктура фирмы, закупки материальных ресурсов, управление персоналом, инвестиционный и инновационный менеджмент. При этом М. Портер определяет прибыль как разницу между конечной ценой продукции (услуги) и коллективными затратами (фирмы и ее логистических партнеров). Очевидно, что стремление логистических посредников фирмы (например, в системах дистрибьюции, организации продаж, предпродажного и послепродажного сервиса) получить как можно большую прибыль может существенно увеличить общую стоимость и цену готовой продукции для конечного потребителя.
Поэтому необходим логистический мониторинг затрат в цепи полной стоимости и первоочередное внимание к тем логистическим функциям, которые не поддерживаются самой фирмой, для контроля ситуации на рынке и выполнения стратегических задач.
Взаимодействие логистического менеджмента с маркетингом
Логистику на фирме часто воспринимают как одну из сторон маркетинга. Выше отмечалось, что связи между ними настолько развиты и переплетены и иногда бывает трудно разделить сферы интересов этих двух ключевых функций любого бизнеса.
Логистическая стратегия, подобно рекламе и продуктовой стратегии, является интегральным элементом стратегии маркетинга. При этом эффективность маркетинга на фирме можно представить в виде композиции трех основных составляющих: эффективности логистической цепи или канала (в системе дистрибьюции), потребительской и торговой франшиз (привилегий) (рис.
3.6).
Маркетинг и логистический менеджмент взаимодействуют между собой в основном в системе сбыта (дистрибьюции) фирмы, причем логистика, обеспечивая процедуры физического распределения готовой продукции, играет важную роль в организации продаж. В некоторых случаях физическое распределение может быть ключевым элементом и критическим фактором реализации маркетинговой стратегии и тактики продаж.
Для анализа взаимодействия логистики и маркетинга в западной экономической литературе часто используют традиционное понятие маркетингового микса, или четырех Р: priceproduct-promotion р1асе(цена продукт продвижениеместо). Тогда взаимосвязи логистики и маркетинга можно представить в виде схемы взаимодействия маркетингового и логистического миксов с целью удовлетворения запросов потребителей (рис.
3.7).

Рисунок 3.6. Логистическая составляющая в эффективности маркетинга Четыре Р „Семь
Рисунок 3.7. Взаимодействие маркетингового и логистического миксов
Наглядное представление ключевых составляющих маркетинга и логистики, даваемое рассматриваемой схемой, позволяет проследить прямое взаимодействие между такими характеристиками, как продукт, место и цена (затраты). Рассмотрим их более подробно.
Логистический менеджмент по отношению к фактору цена обычно оказывает прямое влияние на достижение фирмой корпоративных или финансовых стратегических целей, задаваемых маркетингом. Ценовые решения требуют тщательного анализа факторов, относящихся к конкурентным товарам, социальноэкономическим и демографическим характеристикам потребителей на конкретном сегменте рынка и макроэкономическим индикаторам.
Учитывая, что затраты в дистрибьюции, особенно транспортные расходы, достигают размеров, сопоставимых, а в некоторых отраслях и превышающих себестоимость готовой продукции, логистические решения по транспортировке оказывают существенное влияние на возможность реализации маркетинговой ценовой политики. Рациональный выбор вида транспорта, перевозчика, экспедитора, оптимальная маршрутизация и другие решения, принимаемые в процессе логистического менеджмента, могут значительно сократить логистические издержки в системе дистрибьюции товаропроизводителя, расширив возможности маркетингового ценового маневра. То же самое можно сказать и о других комплексных логистических функциях в сбыте: складировании, грузопе-реработке, управлении запасами, подробный анализ влияния которых на цены товаров и услуг будет рассмотрен в главе 6. Кроме того, необходимо учитывать интегральное влияние на цену готовой продукции физического распределения в смысле замены одной комплексной логистической функции на другую (например, складирования на транспортировку), объединения нескольких элементарных операций в одном звене логистической системы для снижения затрат и т. п.
В ряде случаев логистический менеджер может быть заинтересован в разных схемах ценообразования, если они отвечают требованиям управления запасами, изменения места складирования и времени доставки, диктуемых потребительским спросом и обеспечением соответствующего уровня качества сервиса. Усилия логистического менеджмента могут быть направлены на увеличение объема продаж в определенном секторе рынка, если там не достигнута маркетинговая схема цены.
Такая ситуация часто складывается под воздействием сезонных колебаний спроса, которые вызывают необходимость принятия дополнительных логистических решений по управлению запасами (например, создание специальных сезонных запасов).
Другой важной характеристикой сферы взаимного пересечения интересов маркетинга и логистики являются продуктовые характеристики и прежде всего ассортимент продукции, определяемый маркетинговой стратегией фирмы. Ассортиментные характеристики готовой продукции непосредственно влияют на структуру логистических цепей и каналов в системе дистрибьюции, уровень запасов, виды транспортных средств и способы транспортировки и т. д. Появление новых ассортиментных позиций даже одного товара, но в другой (по габаритным размерам) упаковке может полностью изменить структуру логистического канала или способ транспортировки и поэтому должно быть обязательно согласовано с логистическим менеджментом.
Изменение ассортимента и связанное с ним изменение физических характеристик готовой продукции существенно влияет на операции грузопереработки, требует согласования типоразмерных рядов упаковок, паллетов и контейнеров, может вызвать необходимость применения нового технологического оборудования для сортировки, комплектации, консолидации грузов и т. п. Это, в свою очередь, может привести к возрастанию логистических издержек, необходимости дополнительных инвестиций в систему дистрибьюции и, в конечном итоге, к повышению цены товара, нивелирующему ожидаемую прибыль от улучшения ассортимента.
Нельзя не остановиться в этом плане на вопросе об упаковке товара. Стремление дизайнеров фирмы к оригинальной упаковке, часто продиктованное требованиями маркетинга, может вызвать незапланированное повышение логистических издержек. Логистический менеджер на Западе иногда определяет упаковку продукта как молчащий продавец, так как на уровне розничного торговца упаковка может быть решающим фактором, влияющим на объем продаж.
С позиций маркетинга важен внешний вид упаковки, ее привлекательность, наличие полной информации о товаре, т. е. те параметры, которые могут выделить его среди аналогичных взаимозаменяемых товаров конкурентов. Для логистического менеджера упаковка важна прежде всего с точки зрения ее габаритных размеров и способности защищать товар от возможных повреждений в процессах транспортировки и грузопереработки.
В частности, потребительская (торговая) упаковка должна быть пригодна для помещения ее в промышленную или внешнюю транспортную упаковку, желательно с полным использованием объема. Например, в промышленной упаковке должно помещаться целое число торговых упаковок, в паллете целое число промышленных упаковок, в контейнере транспортного средства целое число паллетов и т. д. Таким образом, должна быть достигнута гармонизация так называемых учетно-договорных единиц упаковок и грузовместимости транспортных средств. Отсутствие такой гармонизации неизбежно влечет за собой повышение логистических издержек.
Поэтому габаритные размеры упаковок и их защитные характеристики должны задаваться логистическим менеджером для промышленного дизайнера.
Продвижение товара на рынок является одной из ключевых функций маркетинга, которой уделяется много внимания на любой фирме. Важность продвижения подтверждается теми огромными суммами, которые затрачиваются во всем мире на рекламу, демонстрацию готовой продукции, организацию распределения и продаж.
Обычно специалисты по маркетингу подразделяют стратегии продвижения готовой продукции на две базовых категории: тянущие и толкающие. Эти категории связаны с конкуренцией в логистических каналах распределения готовой продукции. Перед производителями часто встает дилемма: создавать свои (фирменные) распределительные сети или привлекать для сбыта готовой продукции логистических посредников (оптовых и розничных торговцев)?
Первый подход требует, как правило, больших инвестиций, но позволяет полнее контролировать рынок и объем продаж. Во втором случае затраты существенно меньше, но теряется полностью или частично контроль над рынком сбыта.
При этом распределительные каналы оптовых посредников являются объектом постоянной конкуренции между производителями готовой продукции.
Маркетинговая стратегия вытягивания (pull strategy) товара через канал распределения обычно связана с широкомасштабной рекламной кампанией в средствах массовой информации, которую осуществляет фирма-производитель. Реклама стимулирует спрос покупателей, которые запрашивают рекламируемый товар у розничных торговцев; те, в свою очередь, обращаются к оптовикам, а последние к производителю. Таким образом, получается некоторый замкнутый контур вытягивания товара у фирмы-производителя на основе спроса, стимулируемого рекламой.
Независимо от принадлежности канала распределения стратегия вытягивания, как правило, не требует создания и поддержания больших запасов готовой продукции в распределительной сети.
Основой стратегии проталкивания {push strategy) является кооперация производителя готовой продукции с оптовыми и розничными торговыми посредниками, когда товар выталкивается из производства в распределительные каналы посредников почти независимо от стимулирования спроса. Издержки на рекламу несут посредники самостоятельно или вместе с производителем готовой продукции. Часто производитель вынужден стимулировать продвижение на рынок и продажу товаров, устанавливая специальные скидки или создавая дополнительные запасы у розничных торговцев.
Упор в этом подходе делается на регулирование запасов готовой продукции в распределительных каналах оптовых и розничных торговых партнеров.
С позиций логистики рассмотренные подходы принципиально различны, так как акцентируют внимание на разных логистических функциях: транспортировке, с одной стороны, складировании и управлении запасами с другой. Чаще логистический менеджер отдает предпочтение стратегии проталкивания с ее большей направленностью на насыщение логистического канала и подготовку продаж. Стратегия вытягивания, преследующая цели немедленного удовлетворения спроса, ставит перед логистическим менеджментом гораздо больше проблем.
Поэтому необходима постоянная координация стратегических логистических и маркетинговых планов в дистрибьюции.
Взаимодействие логистики и маркетинга по параметру место обычно представляет собой проблему выбора точек сбыта основного объема готовой продукции. С позиций маркетинга это трансформируется в задачу выбора: или продавать оптовикам, или напрямую розничным торговцам. При этом решения о выборе места всегда предшествуют решениям о выборе структуры каналов дистрибьюции.
С точки зрения логистического менеджера, такие решения могут существенно повлиять на эффективность логистической системы. Например, фирмы, имеющие контакты по сбыту только с оптовиками, как правило, испытывают меньше логистических проблем, так как оптовики более предсказуемы, имеют тенденцию закупать готовую продукцию большими партиями, размещают свои заказы и управляют запасами готовой продукции в складских системах более стабильно и эффективно, чем розничные торговцы.
Существенным фактором является в этом случае гораздо меньший уровень затрат фирмы-производителя на транспортировку продукции.
Взаимодействие логистики с прочими сферами бизнеса
Рассмотрим взаимодействие логистического менеджмента с ключевыми и поддерживающими функциями на уровне внутрифирменной организации бизнеса (рис. 3.5). Наряду с маркетингом определяющую роль играет взаимодействие логистики с производственными процедурами, или, как принято называть на Западе, операционным менеджментом. Это взаимодействие должно анализироваться с двух сторон.
Во-первых, с позиций внутрипроизводственной логистики, т. е. управления запасами материальных ресурсов, незавершенного производства и готовой продукции в технологическом процессе производства, организации процедур заказов на материальные ресурсы в структурных подразделениях фирмы, управления технологическим транспортом, складским хозяйством и т. д. Во-вторых, с позиций внешней логистики, т. е. управления ключевыми логистическими функциями в снабжении материальными ресурсами и сбыте готовой продукции.
Для внутрипроизводственной логистики классическое взаимодействие с операционным менеджментом представляется длительностью производственного периода (lead-time). Сокращение длительности производственного периода (производственно-технологического цикла) является одной из основных задач внутрипроизводственной логистики для тех фирм, которые используют современные логистические концепции точно в срок, быстрого реагирования, тощего производства и т. п. С другой стороны, если в распределительных сетях фирмы созданы достаточно большие запасы готовой продукции, то нет необходимости форсировать уменьшение длительности производственного периода.
Таким образом проявляется связь внутрипроизводственной и внешней логистики. Современные рыночные тенденции привели к усилению значения фактора времени (см. раздел 1.2) как в производстве, так и в сбыте.
Однако в производстве возможность маневра значительно уже, чем в дистрибьюции, из-за того, что большинство фирм используют одинаковые современные технологии выпуска готовой продукции (гибкое автоматизированное и роботизированное производство). Поэтому для уменьшения длительности производственного периода многие фирмы стремятся усовершенствовать существующие внутрипроизводственные микро-логистические системы, внедряя новые модификации систем планирования потребностей/ресурсов, KANBAN, оптимальных производственных технологий и т. п. (см. главу 6).
Взаимодействие логистического и операционного менеджмента проявляется в проблеме учета сезонного спроса в производстве готовой продукции. Полное предвидение (прогноз) такого спроса не всегда возможно, и поэтому для страхования от риска потерь объема продаж производственники стремятся максимизировать выпуск готовой продукции, что приводит к возрастанию затрат на хранение и поддержание запасов готовой продукции как у производителя, так и в распределительной сети.
Задачей логистического менеджмента в этом случае является оптимизация общих затрат в производстве и дистрибьюции для создания сезонных запасов готовой продукции.
Определяющее значение для производства имеет такая логистическая функция, как управление закупками материальных ресурсов. Современный подход к управлению закупками базируется на концепции точно в срок и минимизации уровня запасов материальных ресурсов у производителя. Дефицит материальных ресурсов или отсутствие их гарантийного запаса могут привести к прерыванию производственного цикла, недогрузке производственных мощностей или возрастанию себестоимости продукции.
На большинстве западных фирм ответственность за поддержание необходимого уровня запасов материальных ресурсов в производстве передана внешнему логистическому менеджменту, занимающемуся закупками, что означает расширение границ логистической ответственности.
Взаимодействие между логистикой и операционным менеджментом прослеживается в вопросе об упаковке, которую большинство фирм трактует как логистическую функцию не только в сбыте, но и в производстве. При этом в отличие от взаимодействия маркетинга и логистики, рассмотренного нами выше, логистический подход к производству упаковки заключается прежде всего в обеспечении ее защитных свойств предохранения товара от повреждений.
Еще одна проблема взаимоотношений логистики и производства в современной экономике (в том числе и в глобальном плане) связана с решением вопроса: производить или покупать? Учитывая большие затраты на дистрибьюцию готовой продукции, многие фирмы, ранее производившие продукцию для конечного потребителя, предпочитают выпускать компоненты, продавая их оптом торговому посреднику или фирме, осуществляющей сборку готовой продукции из компонентов (например, компании, производящие аудио-, видеотехнику, компьютеры и т. п.).
Влияние внешней логистики на производство определяется также задачами размещения производственных (сборочных) подразделений фирмы в определенной территориальной зоне и особенно решениями в системе сбыта (размещение складов готовой продукции, способы транспортировки, процедуры хранения и управления запасами готовой продукции).
В современном бизнесе, характеризующемся жесткой конкуренцией, логистика стала играть одну из главных ролей в потребительском сервисе, а именно: в обеспечении услуг доставки, предпродажного и послепродажного набора услуг для покупателей готовой продукции. На Западе стали даже применять в этом смысле термин логистический сервис. Сервис становится решающим элементом маркетинговых стратегий западных фирм, еще более усиливая взаимодействие логистики и маркетинга.
В цепи полной стоимости (рис. 3.5) сервису принадлежит ключевая роль, так как в условиях жесткой конкуренции именно уровень сервиса оказывается в конечном итоге главным аргументом для потребителя. В современных условиях достижение конкурентных преимуществ в сервисе заключается в предоставлении большего числа сервисных услуг и повышении их качества в процедурах продвижения продукта на рынок, доставки, ремонта, обеспечения потребителей товара запасными частями к нему, гарантирования возврата товаров и т. д. Перечисленные функции представляют собой прямой объект логистического менеджмента. Логистический менеджмент должен гарантировать качество и надежность доставки (сохранность груза, обеспечение доставки товара в заданное место и время), страховать возможные риски, поддерживать необходимый уровень снабжения запасными частями, осуществлять немедленный возврат готовой продукции фирме в случае отказа от нее покупателя, обнаружившего дефекты в приобретенном товаре.
Кроме того, логистический менеджмент должен прогнозировать сервисные потребности и соответственно строить свою тактику. Логистическая позиция фирмы в сервисе заключается в построении и внедрении эффективной системы доведения сервисных услуг до потребителя и организации послепродажного обслуживания.
Реализация всех функций фирмы, в том числе и логистических, так или иначе связана с управлением персоналом. Речь идет о подборе, расстановке, обучении, повышении квалификации, материальном и моральном стимулировании персонала во всех структурных подразделениях фирмы, в том числе и в звеньях логистической системы.
Большое значение в этом плане имеет подбор и расстановка кадров в высшем звене логистического менеджмента (например, начальник отдела логистики, интегральный логистический менеджер), которые должны обладать стратегическим видением проблем, уметь координировать усилия всех звеньев логистической системы для достижения целей, задаваемых логистической миссией фирмы.
Взаимодействие логистики с инвестиционным и инновационным менеджментом определяет сферу взаимных интересов в технической и технологической политике фирмы. Инвестиции в передовые производственные технологии, приводящие к изменениям длительности производственного цикла и характеристик готовой продукции, ставят перед логистическим менеджментом новые проблемы, связанные с обеспечением производства дополнительными материальными ресурсами, изменением внутрипроизводственных логистических функций, оказанием дополнительных логистических услуг в сбыте и т. д. В то же время инвестиции в складское и грузоперерабатывающее оборудование, транспортные средства и коммуникации, вычислительную и оргтехнику расширяют возможности логистического менеджмента для принятия эффективных решений.
Товарная биржа: Сырье - Энергетика - Логистика